Operator Panels for i Series Controls Operators manual Page 111

Operators manual

Contents Summary of Operator Panels for i Series Controls Operators manual

  • Page 1GE Fanuc Automation Computer Numerical Control Products Operator Panels for i Series Controls User's Manual GFK-1478D September 2002
  • Page 2GFL-001 Warnings, Cautions, and Notes as Used in this Publication Warning Warning notices are used in this publication to emphasize that hazardous voltages, currents, temperatures, or other conditions that could cause personal injury exist in this equipment or may be associated with its use. In situ
  • Page 3Preface This manual provides the information required to connect a GE Fanuc North American Operator Panel to your machine tool whenever an i Series CNC is selected as the control unit. This manual provides information on mounting and connecting the Operator Panel to the machine tool and interfacing
  • Page 4Preface Operator Panels The following Operator Panels are available. All units communicate with i Series CNCs via the I/O Link communication bus. North American Operator Panel • 520mm x 180mm x 90mm (or 50mm if the Connection Unit is not mounted). • 400mm x 180mm x 90mm (or 50mm if the Connection Un
  • Page 5Preface Dispersion I/O Type Operator’s Panel Specification Part Numbers • A02B-0236-C141#MBR/MBS/TBR/TBS : 400mm x 180mm x 60mm. • A02B-0236-C140#MBR/MBS/TBR/TBS : 520mm x 180mm x 60mm. ‰ “M” version is used for machining center. ‰ “T” version is used for lathes. ‰ “R” indicates English language. ‰
  • Page 6Preface If you decide to interface your own Operator Panel to an i Series Control, you will probably need to use one of the Connection Units listed below. If you do not use either of the first two units, you will need to interface the MPG via an approved method. For more information, refer to the ap
  • Page 7Preface Related Publications • Series 15i-Model A GFZ-63322EN Descriptions Manual GFZ-63323EN Connection Manual (Hardware) GFZ-63323EN-1 Connection Manual (Function) GFZ-63324EN Operator's Manual (Programming) GFZ-63324EN-1 Operator's Manual (Operation) GFZ-63325EN Maintenance Manual GFZ-63330EN Par
  • Page 8
  • Page 9CONTENTS The Operator Panels for i Series Controls User's Manual, GFK-1478D, contains the following sections: Page • Section 1: North American Operator Panel 1-1 • Section 2: Dispersion I/O Type Operator Panel 2-1 • Section 3: 72 In / 56 Out Connection Unit 3-1 • Section 4: 48 / 32 Points I/O Module
  • Page 10
  • Page 11SECTION 1: NORTH AMERICAN OPERATOR PANEL FOR i SERIES CNCS This section contains: Page • Features and Benefits 1-1 • Outline Drawing 44C715714 1-3 • Outline Drawing 44C745908 1-4 • Variations 1-5 • Optional Cables and Connectors 1-7 • Power Connection Considerations 1-10 q Series 16i/18i and 21i CNC
  • Page 12
  • Page 13North American Operator Panels for Machine Tools using i Series CNCs or Power Mate i Table 1-1. Covered Products Lamp Version LED version Part Number Description Part Number Description 44A739025-G01 Operator Panel Series i 520mm 44A739025-G11 Operator Panel Series i 520 Lamp Standard LEDS Standard
  • Page 14Table 1-2. Features and Benefits Features Benefits Compatibility with GE Fanuc The North American i Series Operator Panel attaches to the Connection CNCs Unit, which resides on the I/O Link, a universal GE Fanuc interface. The i Series compatible units provide Manual Pulse Generator (MPG) interface
  • Page 15The dimensions of the North American i Series Operator Panel are either 520 mm or 400 mm wide by 180 mm high by 90 mm deep. If the Connection Unit bracket is removed, the depth is 50 mm. Panel devices project up to 25 mm from the front of the panel. The Operator Panel is designed to be used with the
  • Page 16Figure 1-1. North American Operator Panel (520 mm wide) 1-4
  • Page 17Figure 1-2. North American Operator Panel (400 mm wide) 1-5
  • Page 18Several variations of the North American Operator Panel are identified in Table 1-3. These variations include a width of 520 mm or 400 mm, with or without MPG, and various configurations of rotary switches and pushbuttons. If your specific application requires additional modification, please contact
  • Page 198 Optional Memory Protect Core Rotary Switches Pushbuttons Key Switch and E-STOP Optional Manual Pulse Generator Core 45 Pushbuttons, including 24VDC ON/OFF Pushbuttons Figure 1-3. Front View of North American Operator Panel for i Series Controls Convenient Mounting Brackets for Connection Unit (cab
  • Page 20Optional Cables and Connectors The cables identified in Table 1-4 are not automatically supplied with the North American Operator Panels for i Series CNCs. However, using pre-made cables will greatly speed up the installation of the Operator Panel. These cables and cable sets must be ordered separat
  • Page 21The connectors listed in Table 1-5 are identified for reference use only. GE Fanuc recommends that connectors required for installation be specified and ordered with the CNC control hardware, as listed in the GE Fanuc ordering instructions. Separate connectors may be required for custom configuratio
  • Page 22Table 1-6. Power Connectors and Connector Kits (continued) Part Number Quantity per Description Power Mate i – Models D and H A02B-0120-K324 1 Kit for LCD CP1 , +24VDC Power (Amp Type X 1-178288-3). A02B-0120-K323 1 Kit for LCD CP2 , +24VDC Power (Amp Type Y 2-178288-3). A02B-0120-K301 1 Kit for CP4
  • Page 23Power Connection Considerations The following questions and explanations will help you determine how to supply 24VDC power to the North American Operator Panel. 1. Is the CNC an “Open CNC System? That is, is it a system containing an integrated personal computer (PC) or an external PC with High-Spee
  • Page 24+24VDC Power Connections for Series 16i/18i/21i CNCs and Power Mate i Motion Controllers Note This information applies only to the Series 16i/18i and 21i CNCs and Power Mate i Motion Controllers. It does not apply to the Series 15i CNC. For information on the Series 15i CNC, please refer to Page 1-1
  • Page 25Note The cables in the Cable Kit are sized for typical installations. Custom cable lengths may be required for special applications and would be provided by the machine tool builder. Figures 1-5, 1-6, and 1-7 on Pages 1-13, 1-14, and 1-15, respectively, illustrate how to apply the +24VDC Cable Kit w
  • Page 26CP1A +24VDC SW Input to CNC To CNC Y X CP1A Pin 3 - Open Pin 2 - 0V CP1B +24VDC SW Output Pin 1 - +24V SW to Model A I/O, Separate Detector Unit, etc... GE Fanuc NA Series i Operator Panel ( Back View ) 0VDC Switched Out Pin 3 - Open CPD1 Pin 2 - 0V Pin 1 - +24V SW 24V Power Cable X X 44C742974-001
  • Page 27Control Unit 1 Slot Rack Optional LCD Unit CP1B Optical Fiber cable +24VDC SW LCD Control PCB Output COP20B CNC Signal CP1A JD1A : I/O Link Input CK2 +24VDC SW CA55 MDI Input CP1A +24VDC SW Input Y X Y X +24VDC SW to CNC LCD CP1A Pin 3 - Open Pin 2 - 0V Pin 1 - +24V SW CP1B +24VDC SW Output Softkey
  • Page 28Power Mate Optional LCD/MDI or CRT/MDI Unit Control Unit (Rear View) Pin 3 - Open Pin 2 - 0V Pin 1 - +24V SW CP1 +24VDC SW Input X (Right most connector) Y X CPD2 +24VDC SW Output to LCD/CRT. CP2 +24VDC SW Output to CPD2 is prewired on CRT/MDI or LCD/MDI Model A I/O, Seperate combined Panels. Custom
  • Page 29+24VDC Power Connections for Series 15i Control Note This information applies only to the Series 15i CNC. It does not apply to the Series 16i/18i and 21i CNCs or Power Mate i Motion Controllers. For information on the Series 16i/18i and 21i CNCs or Power Mate i Motion Controllers, please refer to Pa
  • Page 30The installation of the Series 15i control requires a +24VDC cable from the Series 15i power supply to the LCD unit and a Control ON/OFF pushbutton cable to the control’s power supply. As these cable lengths are determined by the machine design, they cannot be included in a standard cable kit. Requi
  • Page 3115i Logic Rack (4 Slot) Optional 15i LCD Unit CP1 200 VAC Input JD36A LCD Control Port 6 CP1B RS-232 PCB +24VDC F3 +24V E JD6A COP20B from P.S. Fuse Port 5 CNC Signal CP1A RS-422 Input F4 +24V +24VDC to Fuse CA55 Oper Panel MDI Y X CP6 +24V E Y X CP5 +24V CP4 Power On/Off Control LCD CP1A to Operato
  • Page 32Series 15i Power Supply Connection Installation The North American Operator Panel includes circuitry for switching 24VDC power for a CNC using the Control ON and OFF pushbuttons on that panel. By following the steps listed below, you can modify the Operator Panel for use with the Series 15i CNC, whi
  • Page 33Figure 1-9. Power Supply Connection Installation for Series 15i Control 1-21
  • Page 34Sample Operator Panel Ladder Logic To integrate the North American Operator Panel with the i Series CNC, Programmable Machine Control (PMC) ladder logic must be developed. GE Fanuc Automation can provide examples of the ladder logic to the machine tool builder or system integrator to assist in this
  • Page 35Renewal Parts The North American Operator Panels (see page 1-1 for list of covered products) contain the following renewable parts. The part numbers are listed in Table 1-8 for Renewal Parts ordering convenience only. You do not need to order these parts separately when ordering a new Operator Panel
  • Page 36Table 1-8. Renewal Parts (continued) Part Number Quantity per Description 44A736871-G01 1 LED Conversion Kit (45-pushbutton panel). 44A736871-G02 1 LED Conversion Kit (53-pushbutton panel). 44A739089-G01 1 Lamp Extractor Kit. 44A724659-003 1 E-STOP Pushbutton. 44A724659-006 1 Extra Normally Open Con
  • Page 37Instructions for Using Incandescent Lamps or LEDs All North American Operator Panels may be operated with either incandescent lamps or with LEDs. Table 1-8 lists LED conversion kits for Operator Panels that have incandescent lamps. Note: • Jumper JP1 must be in the standard position if lamps are ins
  • Page 38
  • Page 39
  • Page 40
  • Page 41
  • Page 42
  • Page 43
  • Page 44
  • Page 45
  • Page 46
  • Page 47SECTION 2: DISPERSION I/O TYPE OPERATOR PANEL This section contains: • Drawing No. A-73167E/02 for Dispersion I/O Type Operator Panels: ‰ A02B-0236-C140 (Full Keyboard). ‰ A02B-0236-C141 (Small Keyboard).
  • Page 48
  • Page 49
  • Page 50
  • Page 51
  • Page 52
  • Page 53
  • Page 54
  • Page 55
  • Page 56
  • Page 57
  • Page 58
  • Page 59
  • Page 60
  • Page 61
  • Page 62
  • Page 63
  • Page 64
  • Page 65
  • Page 66
  • Page 67
  • Page 68
  • Page 69
  • Page 70
  • Page 71
  • Page 72
  • Page 73SECTION 3: 72 IN / 56 OUT CONNECTION UNIT This section contains: • Drawing A-71199E/03 for Operator Panel Connection Unit A20B-2002-0470. Note Inputs are multiplexed. This panel must be ordered separately for use with all GE Fanuc North American i Series Operator Panels.
  • Page 74
  • Page 75
  • Page 76
  • Page 77
  • Page 78
  • Page 79
  • Page 80
  • Page 81
  • Page 82
  • Page 83
  • Page 84
  • Page 85
  • Page 86
  • Page 87
  • Page 88
  • Page 89
  • Page 90
  • Page 91
  • Page 92
  • Page 93
  • Page 94
  • Page 95
  • Page 96
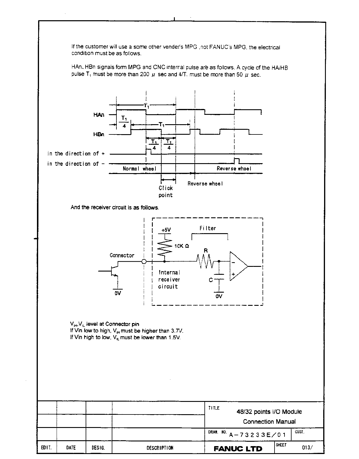
  • Page 97SECTION 4: 48 / 32 POINTS I/O MODULE This section contains: • Drawing No. A-73233E/01 for I/O Modules: q A20B-2002-0520 (with MPG). q A20B-2002-0521 (without MPG). Note I/O points are not multiplexed.
  • Page 98
  • Page 99
  • Page 100
  • Page 101
  • Page 102
  • Page 103
  • Page 104
  • Page 105
  • Page 106
  • Page 107
  • Page 108
  • Page 109
  • Page 110
  • Page 111
  • Page 112
  • Page 113
  • Page 114
  • Page 115
  • Page 116
  • Page 117
  • Page 118
  • Page 119
  • Page 120• No part of this manual may be reproduced in any form. • All specifications and designs are subject to change without notice.