
B–63304EN/02
4. DEFINING MACHINING
(MENU 4)
Y–AXIS FAPT FUNCTION
575
3–1) Direct approach/retraction
The NC does not perform cutter compensation. If an attempt is
made to define 1 (direct) as the approach method (SM) or escape
method (EM) after bit 0 of MTF1305 has been set to 1, the
“CORRECT KEYIN” error message is displayed. The attempted
input is not accepted.
If bit 0 of MTF1305 is set to 1 after direct approach/escape has been
defined, an error occurs when an attempt is made to create the NC
data.
The NC data cannot be created.
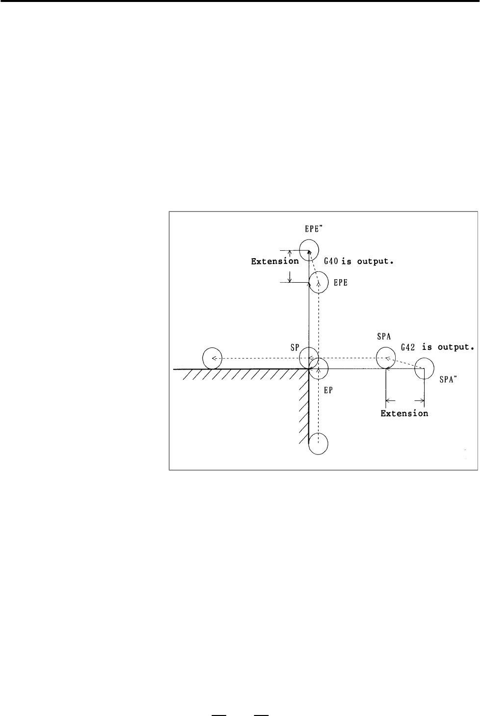
3–2) Tangent approach/escape
For approach or escape, a linear movement equal to the extension
is inserted. The following operation is performed. (The illustration
shows the compensation on the right side of the blank outline.)
SPA: Cut start point
SPA”: Cut start point for starting the compensation
SP: Cutting start point
EP: Cutting end point
EPE: Escape end point
EPE”: Escape end point for ending the compensation
Continuous line: Programmed tool path
Dotted line: Actual tool path