Series 16i/18i/21i/160i/180i/210i/160is/180is/210is - Model B Operation and maintenance handbook Page 859

Operation and maintenance handbook
16
16.1 Initial Setting Servo Parameters (αi/α)
826
D Separate Type Pulse Coder or Linear Scale is Used
1821
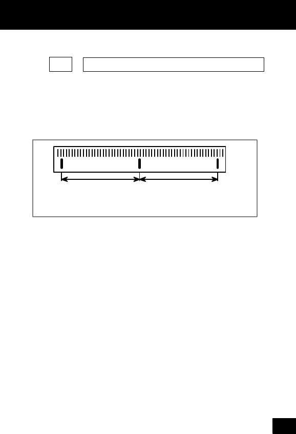
Reference counter capacity per axis [P]
PRM
Normally, the number of feedback pulses per motor revolution is set to the
reference counter capacity.
When plural reference marks are on a linear scale, a quotient of the distance
between the reference marks divided by an integer may be used as a
reference counter capacity:
Example)
(1µ m)
300mm reference counter 30000
20000
15000
10000 etc

Contents Summary of Series 16i/18i/21i/160i/180i/210i/160is/180is/210is - Model B Operation and maintenance handbook

  • Page 10*/210*s-MODEL B MAINTENANCE OOK B-63527EN/01
  • Page 2reproduced in any form. are subject to change without bject to the authorization of the here the product is exported. much as possible to describe all the matters which must not be , because there are so many especially described as possible d as ”impossible”. m names or device names of h are regist
  • Page 3e to read ”SAFETY PRECAUTIONS,” which 3 d manuals of Series 210i/160is/180is/210is–MODEL B Specification name number 4 B–63522EN WARE) B–63523EN ION) B–63523EN–1 RATOR’S MANUAL B–63524EN 5 18i/180i/180is–MB5, B–63534EN ATOR’S MANUAL S MANUAL B–63604EN S MANUAL B–63614EN 6 B–63525EN 0is–MODEL B B–635
  • Page 4’S MANUAL B–66234EN AL B–62714EN 3 S MANUAL B–62924EN SERVER B–63644EN oard B–63354EN 4 MANUAL B–63404EN TOR’S MANUAL B–63164EN 5 s of SERVO MOTOR αi series Specification 6 name number eries DESCRIPTIONS B–65262EN eries PARAMETER MANUAL B–65270EN series DESCRIPTIONS B–65272EN 7 eries PARAMETER MANUA
  • Page 516i–MB 160i–MB M series or M series (2–path control) *1 160is–MB 3 18i–TB 180i–TB T series or T series (2–path control) *1 180is–TB 18i–MB5 4 180i–MB5 180is–MB5 M series 18i–MB 5 180i–MB 180is–MB 21i–TB 210i–TB T series 6 210is–TB 21i–MB 210i–MB M series 7 210is–MB ntrol is added. 8 9 10 p–3
  • Page 6
  • Page 7. . . . . . . . . . . . . . . . . . . . . . . . . . . 73 4 . . . . . . . . . . . . . . . . . . . . . . . . . . 123 5 . . . . . . . . . . . . . . . . . . . . . . . . . . 135 6 . . . . . . . . . . . . . . . . . . . . . . . . . . 253 7 . . . . . . . . . . . . . . . . . . . . . . . . . . 465 8 F) . . .
  • Page 8
  • Page 9in PROG (MEM mode) . . . . . . . . . . . . . . . . 9 in PROG (EDIT mode) . . . . . . . . . . . . . . . 10 in SETTING OFFSET . . . . . . . . . . . . . . . . . . . . . . . . . . . . 11 in SYSTEM . . . . . . . . . . . . . . . . . . . . . . . . . . . 12 in MESSAGE . . . . . . . . . . . . . . . . . . . .
  • Page 10rnal state of the CNC ) . . . . . . . . . . . . . . . . . . . . . . . . . . . . . . . . 44 tem configuration . . . . . . . . . . . . . . . . . . 44 ting the pitch error ues . . . . . . . . . . . . . . . . . . . . . . . . . . . . . . . 46 ciated with MESSAGE . . . . . . . . . . . . . . . . . . 47 m m
  • Page 11trol board . . . . . . . . . . . . . . . . . . . . . . . . 168 face board . . . . . . . . . . . . . . . . . . . . . . . 170 oard . . . . . . . . . . . . . . . . . . . . . . . . . . . . 172 S board . . . . . . . . . . . . . . . . . . . . . . . . . . 174 oard, fast Ethernet board . . . . . . . . . . .
  • Page 12y unit with PC functions L i . . . . . . . . . . . . . . . . . . . . . . . . . . . . . . . 242 y unit for is series CNC . . . . . . . . . . . . 246 th LCD–Mounted Type and ries . . . . . . . . . . . . . . . . . . . . . . . . . . . . . 247 lay (LCD) . . . . . . . . . . . . . . . . . . . . . . . . 247
  • Page 13NC and PMC . . . . . . . . . . . . . . . . . . . . . 565 . . . . . . . . . . . . . . . . . . . . . . . . . . . . . . . . . 566 –Path Control) . . . . . . . . . . . . . . . . . . . . 589 –Path Control) . . . . . . . . . . . . . . . . . . . . 603 . . . . . . . . . . . . . . . . . . . . . . . . . . . .
  • Page 14C data . . . . . . . . . . . . . . . . . . . . . . . . . . 673 built-in type PMC programmer . . . . . . 673 t method . . . . . . . . . . . . . . . . . . . . . . . . 674 ion (COPY) . . . . . . . . . . . . . . . . . . . . . . 675 s . . . . . . . . . . . . . . . . . . . . . . . . . . . . . . . 675 ting
  • Page 15. . . . . . . . . . . . . . . . . . . . . . . . . . . . . . . . . 753 . . . . . . . . . . . . . . . . . . . . . . . . . . . . . . . . . 755 . . . . . . . . . . . . . . . . . . . . . . . . . . . . . . . . . 756 ATION . . . . . . . . . . . . . . . . . . . . . . . 757 g Diagnostic Screen . . . . . . .
  • Page 16related to the dual position n (DGN550 – 553) . . . . . . . . . . . . . . . . 784 ution of manual tool compensation . . . . . . . . . . . . . . . . . . . . . . . . . . . . . . . . . 785 GN620 – 649) . . . . . . . . . . . . . . . . . . . . 785 eed HRV current control . . . . . . . . . . . . 787 g sta
  • Page 17position return location adjustment . . . 840 position shift . . . . . . . . . . . . . . . . . . . . . 841 position setting . . . . . . . . . . . . . . . . . . . 842 e position setting . . . . . . . . . . . . . . . . . . 843 rs . . . . . . . . . . . . . . . . . . . . . . . . . . . . . . . 845 . . .
  • Page 18ed for data input/output . . . . . . . . . . . . . 890 . . . . . . . . . . . . . . . . . . . . . . . . . . . . . . . . . 891 CNC parameters . . . . . . . . . . . . . . . . . . 891 PMC parameters . . . . . . . . . . . . . . . . . . 891 pitch error compensation amount . . . . 892 custom macro variable
  • Page 19card files . . . . . . . . . . . . . . . . . . . . . . . . . 928 at . . . . . . . . . . . . . . . . . . . . . . . . . . . . . . 929 . . . . . . . . . . . . . . . . . . . . . . . . . . . . . . . . . 930 st . . . . . . . . . . . . . . . . . . . . . . . . . . . . . . . 931 intenance Operation of the .
  • Page 20
  • Page 21safety precautions related to the use of CNC these precautions be observed by users to 3 of machines equipped with a CNC unit (all assume this configuration). Note that some ly to specific functions, and thus may not be units. he safety precautions related to the machine, vant manual supplied by the
  • Page 22ere is a danger of the user being injured or 3 amage of both the user being injured and the damaged if the approved procedure is not 4 ere is a danger of the equipment being approved procedure is not observed. 5 6 to indicate supplementary information other d Caution. 7 arefully, and store it in a s
  • Page 23performing a trial run using, for example, the feedrate override, or machine lock function ting the machine with neither a tool nor mounted. Failure to confirm the correct 3 the machine may result in the machine expectedly, possibly causing damage to the nd/or machine itself, or injury to the user.
  • Page 24e. Starting the machine in this state may ehave unexpectedly. ndbook and other manuals supplied with a 3 ovide an overall description of the machine’s cluding any optional functions. Note that the ctions will vary from one machine model to herefore, some functions described in the y not actually be
  • Page 25system setting 3 ate system is established incorrectly, the y behave unexpectedly as a result of the uing an otherwise valid move command. xpected operation may damage the tool, the lf, the workpiece, or cause injury to the user. 4 by nonlinear interpolation rming positioning by nonlinear interpolat
  • Page 26peed. Specifying the maximum allowable rectly may damage the tool, the machine rkpiece, or cause injury to the user. 3 ck ng on the power, perform a manual reference rn as required. Stroke check is not possible ual reference position return is performed. en stroke check is disabled, an alarm is not
  • Page 27d based on the machine coordinate system nce position return command is issued in on function mode, compensation is 3 canceled, resulting in the unexpected he machine. ng any of the above commands, therefore, el compensation function mode. 4 5 6 7 8 9 10 s–7
  • Page 28ration 3 ting the machine manually, determine the tion of the tool and workpiece, and ensure vement axis, direction, and feedrate have ied correctly. Incorrect operation of the y damage the tool, the machine itself, the 4 r cause injury to the operator. rence position return ng on the power, perform
  • Page 29ry to the user. coordinate system shift 3 vention, machine lock, or mirror imaging may kpiece coordinate system. Before attempting he machine under the control of a program, coordinate system carefully. e is operated under the control of a program ing allowances for any shift in the workpiece 4 syst
  • Page 30the MDI to interrupt in automatic operation tool nose radius compensation mode, pay ttention to the tool path when automatic subsequently resumed. Refer to the 3 of the corresponding functions for details. iting ine is stopped, after which the machining dited (modification, insertion, or deletion),
  • Page 31aintenance training may perform this work. ing the batteries, be careful not to touch the e circuits (marked and fitted with an 3 ver). e uncovered high–voltage circuits presents y dangerous electric shock hazard. 4 batteries to preserve the contents of its e it must retain data such as programs, am
  • Page 32e circuits (marked and fitted with an ver). e uncovered high–voltage circuits presents y dangerous electric shock hazard. SERVO MOTOR αi series Maintenance 3 65285EN) or FANUC SERVO MOTOR α enance Manual (B–65165E). ement 4 its, the chapter covering daily maintenance rator’s manual or programming ma
  • Page 33
  • Page 34Soft keys a) 7.2″/8.4″ LCD unit Soft keys b) 9.5″/10.4″ LCD unit
  • Page 35Soft keys 4″ LCD unit with touch panel 2
  • Page 36Shift key Cancel (CAN) key Input key Edit keys Help key Reset key eys one type small MDI unit (T series) /numeric keys Edit keys Cancel (CAN) key Input key Function keys keys ne type standard MDI unit (T series)
  • Page 37Shift key Cancel (CAN) key Input key Edit keys Help key Reset key eys one type small MDI unit (M series) /numeric keys Edit keys Cancel (CAN) key Input key Function keys keys e type standard MDI unit (M series) 4
  • Page 38Function keys Edit key Cursor keys Page change keys Input key h) 61 fullkey MDI unit
  • Page 39The soft key has various functions, according to the Applications. The soft key functions are displayed at the bottom of the screen. Press these keys to input alphabetic, numeric, and other characters. Some keys have two characters on their key- top. Pressing the Shift key switches the char- acters.
  • Page 40: This key is used to move the cursor to the left or in the reverse direction. The cursor is moved in short units in the reverse direction. : This key is used to move the cursor in a downward or forward direction. The cursor is moved in large units in the forward direction. : This key is used to mov
  • Page 41es. and optional function, some screens are not eir specific functions and operations. unctions, the operation method is described ction 1.3. n POS POS ALL ] [ HNDL ] [ (OPRT) ] CTUAL MANUAL OSITION HANDLE (ALL) INTERRUPTION n [ALL+] is ayed, display itched be- n axes 1–5 axes 6–8. ] [ ] [ (OPRT) ]
  • Page 42RENT CURRENT OCK/ BLOCK/NEXT DAL BLOCK ][ ] [ (OPRT) ] ][ FL.SDL ] [ ] [ (OPRT) ] ] [ DIR ] [ SCHDUL ] SCHEDULE SCHEDULE DIRECTORY SETTING DISPLAY T ][ CONECT ][ ] [ (OPRT) ] RNET ETHERNET T FILE CONNECTION TORY HOST CHANGE
  • Page 43C.A.P. SCREEN When PRM20 = 4 [ CARD ] [ ] [ (OPRT) ] Depending on the setting of a con- nected I/O device, this indication changes, and no indication may [ LIB + ] be provided. (PRM20, 102, 112, 122, etc.) [ FLOPPY ] DIRECTORY (MEMORY CARD) [ DIR ] FLOPPY FILE DIRECTORY ][ CONECT ][ ] [ (OPRT) ] ET
  • Page 44[ OPR ] [ ] [ (OPRT) ] SOFTWARE OPERATOR’S PANEL SCREEN METRY [ PR–LEV ] [ ] [ ] [ (OPRT) ] EXECUTION LEVEL SELECTION SCREEN
  • Page 45EM SERVO SPINDLE GU - INFORMA - INFORMA - ON TION TION EN SCREEN SCREEN ][ SP.PRM ] [ (OPRT) ] SPINDLE PARAMETER SCREEN ) (PRM 3106#4) ][ ][ (OPRT) ] OPERATION HISTORY SCREEN edit mode) (PRM 3106#4) PMM ][ ALL I/O ][ (OPRT) ] POWER MATE ALL I/O CNC SCREEN MANAGER (PRM 20 ( 4): Valid in the edit mode
  • Page 46Y N ][ ][ (OPRT) ] NMIHIS ][ ][ (OPRT) ] YSTEM ALARM STORY SCREEN (PRM3103#2) ] [ ETHLOG ] [ ] [ (OPRT) ] ETHERNET LOG SCREEN NIT ][ W.GRPH ][ ] [ (OPRT) ] BLE TING TROUBLESHOOTING GRAPHIC/PARAMETER TOR EEN SCREEN
  • Page 47ELP ARAME - ER TABLE) 14
  • Page 48123.456 363.233 RT COUNT 0.000 5 PRM6711 CLE TIME 0H 0M38S S 0 T0000 Time from when the OP signal is turned off (One machin- 09:06:35 ing cycle) ALL ] [ HNDL ] [ OPRT ] is used when PRM3105#2 (DPS)=1 input in inches. the operation time) TSPRE] [EXEC] UNPRE] [EXEC] The current position is displayed f
  • Page 490.000 PART COUNT 5 CYCLE TIME 0H 0M38S S 0 T0000 09:06:35 [ ALL ] [ HNDL ] [ OPRT ] xis Coordinate [PRESET] RIGIN] [ALLEXE] Axis [EXEC] SPRE] [EXEC] NPRE] [EXEC] n arbitrary position O1000 N00010 (ABSOLUTE) X 123.456 Coordinate system used Y 456.890 for absolute Z 789.123 commands (DISTANCE TO GO) X
  • Page 50the unit Y 137.783 specified by Z –61.439 PRM100#0 (INM) (DISTANCE TO GO) (mm/inch) X 0.000 Y 0.000 Z 0.000 COUNT 5 E TIME 0H 0M38S 0 T0000 10:29:51 L ] [ HNDL ] [ OPRT ] TSPRE] [EXEC] UNPRE] [EXEC] #4 #3 #2 #1 #0 IB HS2IA HS1ID HS1IC HS1IB HS1IA #4 #3 #2 #1 #0 HS3ID HS3IC HS3IB HS3IA is effective o
  • Page 51O0001 N00001 * 80% S1: 201% * 0% (SPEED METER RPM) * 0% S1: * * * 1500 PART COUNT 5 CYCLE TIME 0H 0M38S S 0 T 0000 09:06:35 ALL ] [ HNDL ] [ OPRT ] meter shows load up to 200%. eedometer shows the ratio of the current imum spindle speed (100%). Although the icates the speed of the spindle motor, it
  • Page 52on the operating monitor screen displays: speed h the first servo motor load meter is displayed the second servo motor load meter is displayed the third servo motor load meter is displayed h the fourth servo motor load meter is displayed ch the fifth servo motor load meter is displayed h the sixth s
  • Page 537.5 R17.5 ; 7.5 ; ; S 0 T0000 16:05:59 RNT ] [ NEXT ] [ (OPRT) ] screen sary for the 9.5”/10.4” display unit. O2000 N00130 50. ; Contents of the program. GO) G00 G94 G80 00 G17 G21 G98 00 G90 G40 G50 Modal information 00 G22 G49 G67 B H M D 16:05:59 ] [ ] [ (OPRT) ] s can be switched by soft key 20
  • Page 54G17 G91 G22 G94 Modal G21 H 2 D information G41 G49 T G80 G98 S G50 S 0 T0000 16:05:59 RNT ] [ NEXT ] [ (OPRT) ] he current and next blocks O2000 N00130 (NEXT) G39 I –17.500 G42 Contents of the program read into the buffer. t Nothing is displayed for single block operation. S 0 T0000 16:05:59 RNT ]
  • Page 55functions specified before restart T ** ** S **** S 0 T0000 Blinks during 10:10:40 RSTR restart. .SDL ] [ L ] [ (OPRT) ] 10 (Displays * when the preparation for restart e axis sequence when searching the restarting hen the preparation is completed.) on restarts machining from the block whose cified
  • Page 560. codes in the MDI mode, if necessary. tic operation mode and press the cycle start –EDT] ³ See the Subsec. 1.5.1 Program number [O SRH] Sequence number [NO.SRH] WIND] Sequence number [P TYPE] Sequence number [O TYPE] uence of the axes along which the machine to the restart point after the program
  • Page 577.5 R17.5 ; 7.5 ; ; S 0 T0000 16:05:59 RNT ] [ NEXT ] [ (OPRT) ] n T] ckground editing screen is displayed.) Program number [O SRH] ss or word [SRH±] ss or word [SRH°] D] [CAN] N File number [EXEC] [MERGE] (The cursor moves to the end of the program.) [EXEC] [STOP] [CAN] O Program number [EXEC] 24
  • Page 58E] [CAN] N File number [EXEC] T] [COPY] [CRSRX] [XCRSR] [XBTTM] [ALL] Program INPUT [EXEC] number [MOVE] [CRSRX] [XCRSR] [XBTTM] [ALL] Program INPUT [EXEC] number [MERGE] [X’CRSR] [XBTTM’] Program INPUT [EXEC] number [CHANGE] ADDRESS/WORD [BEFORE] ADDRESS/WORD [AFTER] [SKIP] [EX–SGL] [EXEC]
  • Page 59iting function the program OTE MOVE] when moving he section to be copied he section to be copied [XBTTM] [ALL] press INPUT ogram in the program being edited hen inserting after he end of the program to which the other [XBTTM’] press INPUT ss or word X–SGL] [EXEC] 26
  • Page 60paper tape THMETIC NO.1) contains 0–MACRO) about 400 FSET) characters. CHECK NO.1) IN) 16:05:59 ] [ C.A.P. ] [ (OPRT) ] T] ³ See the Subsec. 1.5.1. Program number [O SRH] [MERGE] [STOP] [CAN] O Program number [EXEC] ] [STOP] [CAN] O Program number [EXEC] ograms are listed in the order of registratio
  • Page 6114:41:10 ENU ] [ BLOCK ] [ (OPRT) ] O1234 N00004 ITIONING AR IPL CULAR IPL. CW CULAR IPL. CCW LL CT STOP CHECK SET&TLC VALUE SETTING (0) LANE LANE LANE H RIC *** 14:26:15 ] [G.MENU ] [ BLOCK ] [ ] O1234 N00000 NING G G Y 50.0 (X, Y, Z, ) OFFSET NO. *** 14:32:57 ] [ G.MENU ] [ BLOCK ] [ (OPRT) ] er a
  • Page 621.9 1.9 1.9 1.6 11:53:04 [ PUNCH ] [ DELETE ] [ ] File number [F SET] [CAN] [EXEC] File number [F SET] Program number [O SET] [STOP] [CAN] [EXEC] ] File number [F SET] Program number [O SET] [STOP] [CAN] [EXEC] E] File number [F SET] File name [F NAME] [CAN] [EXEC] E] File number [F SET] File name [
  • Page 63F NAME] [CAN] [EXEC] SET] New file name [F NAME] [CAN] [EXEC] =1 I/O=2 I/O=3 (remote buffer) PRM0100 M111 PRM121 PRM131 M112 PRM122 PRM132 M113 PRM123 PRM133 efined PRM135#3 PRM135#2 (R42)=0 (R42)=1 JD36B JD28A JD6A I/O channel selection A on the motherboard) A on the motherboard) B on the motherboa
  • Page 64Cassette adapter, FSP-H File DC1 to DC4 are not used.) eader FSP-G, FSP-H ud rate (set transfer rate) 11: 9600 12: 19200 [BPS] hen the floppy disk drive is specified as the e unit for which the optional function for cher interface and floppy cassette directory
  • Page 65R(H) GEOM(D) WEAR(D) 00 0.000 0.000 00 0.000 0.000 00 0.000 0.000 00 0.000 0.000 00 0.000 0.000 00 0.000 0.000 00 0.000 0.000 00 0.000 0.000 VE) 0.000 16:05:59 RK ] [ ] [ (OPRT) ] tion (H code) [NO.SRH] C.] [+INPUT] [INPUT] D code) [NO.SRH] [+INPUT] [INPUT] tering tool wear compensation values from
  • Page 66(0 : DISABLE 1 : ENABLE) ALM 100 (0 : OFF 1 : ON) ALM 002 (0 : EIA 1 : ISO) (0 : MM 1 : INCH) G20/G21 (0–3 : CHANNEL NO.) (0 : OFF 1 : ON) PRM3216 (0 : NO CNV 1 : F15) 0 (PROGRAM NO.) FS15 format 0 (SEQUENCE NO.) S 0 T0000 15:06:56 RK ] [ ] [ (OPRT) ] O1234 N00000 0 : OFF 1 : ON) Mirror image check
  • Page 670H 0M 0S PRM6758,6759 01/10/04 16:18:01 14:47:57 RK ] [ ] [ (OPRT) ] playing the operation time and d on this screen (but can be changed on the ).) ges of parameters for setting input.) O0000 N00000 INI ISO TVC 0 0 0 FCV 0 0 0 0 MIR 0 0 0 0 0 0 0 0 0 0 0 0 0 0 15:43:11 ] [ ] [ (OPRT) ] d in the MDI
  • Page 680 03 X 300.000 0 (G56) Z 200.000 16:24:18 [ WORK ] [ ] [ (OPRT) ] nate system number [NO.SRH] Numeral [MEASUR] nsation value [+INPUT] nsation value [INPUT] tering shift values of the coordinate system series) or offsets from the workpiece erence position (M series) from the MDI panel allowed/inhibit
  • Page 69112 113 114 115 LATIVE) W 0.000 S 0 T0000 16:05:59 PR ] [ ] [ (OPRT) ] O1234 N00000 (*1) DATA COMMENT 23.456 0.000 3.210 LATIVE) Y 0.000 15:50:13 R ] [ ] [ (OPRT) ] data input function is provided e number [NO.SRH] [INP.C.] e value [INPUT] : Delete the input value tering macro variables from the MDI
  • Page 70O0000 N00000 IT STEP JOG ZRN 0 *100 0% 25% F0 ************ *** TE) Z 0.000 S 0 T0000 16:05:59 R ] [ ] [ (OPRT) ] O0000 N00000 ON J ON ON ECT RELEASE TE) 0.000 S 0 T0000 16:05:59 R ] [ ] [ (OPRT) ]
  • Page 71ON TE) 0.000 0.000 16:05:59 R ] [ ] [ ] #4 #3 #2 #1 #0 T5 OUT4 OUT3 OUT2 OUT1 OUT0 ZRNO MD4O MD2O MD1O O MLKO SBKO BDTO 2O ROV1O MP2O MP1O HS1DO HS1CO HS1BO HS1AO 5O *FV4O *FV3O *FV2O *FV1O *FV0O O *JV4O *JV3O *JV2O *JV1O *JV0O 3O *JV12O *JV11O *JV10O *JV9O *JV8O O +J3O –J2O +J2O –J1O +J1O F signal
  • Page 72e axis and magnification for the manual pulse rate override and rapid traverse override ck skip, single block operation, machine lock, tection witch general–purpose switch tware operator’s panel, the aracters is not allowed (0)/ s and its direction on panel ° s and its direction on panel ± s and its
  • Page 73SIGNAL 4 Sets the character code SIGNAL 5 Sets the character code SIGNAL 6 Sets the character code SIGNAL 7 Sets the character code SIGNAL 8 Sets the character code urpose switch on software urpose switch on software xtended) Set character codes for SIGNAL 9, shown above. Set character codes for SIG
  • Page 74032 Space ! 033 Exclamation mark ” 034 Quotation marks # 035 Shape $ 036 Dollar mark % 037 Percent & 038 Ampersand ’ 039 Apostrophe ( 040 Left parenthesis ) 041 Right parenthesis * 042 Asterisk + 043 Positive sign , 044 Comma – 045 Negative sign . 046 Period / 047 Slash : 058 Colon ; 059 Semicolon <
  • Page 75INI ISO TVC 0 0 0 FCV 0 0 0 0 MIR 0 0 0 0 0 0 0 0 0 0 0 0 0 0 15:43:11 C ] [SYSTEM ] [ (OPRT) ] MDI panel or emergency stop state. RITE to 1 in the setting screen. ess the CAN and RESET keys simultaneously e alarm. T)] to display the operation menu including er number and press [NO.SRH]: Searches fo
  • Page 76EOB 4 5 6 7 EOB INPUT is entered, 1234 → 4567 9999 0 EOB EOB 9 9 9 9 INPUT 1234 → 0 9999 0 me data. 4 EOB = EOB = INPUT is entered, 1234 → 1234 1234 0 = EOB = INPUT is entered, 000 00011000 000 00011000 000 00011000 000 00000000
  • Page 77:0 CHECK :0 VERRIDE 0% :0 START–LOCK :0 EED ARRIVAL CHECK :0 15:50:47 [ PMC ] [SYSTEM ] [ (OPRT) ] sis number [NO.SRH] em configuration guration, see Chapter 18. . PAGE ), screens A to C are displayed. O1234 N00000 Software series for a module with CPU ES VERSION Software 1 0002 version for a module
  • Page 78Character written on PMC title screen Character written on macro compiler or on CAP. 12:14:59 C ] [ SYSTEM ] [ (OPRT) ] en n of a module mounted on a printed circuit (a) LE) 01234 N12345 PAGE:03 RD (b) 0D 0E 01 47 23 (c) 86 01 (d) 12:14:59 C ] [ SYSTEM ] [ (OPRT) ] er is corresponding to PCB configu
  • Page 790014 2 0024 3 0015 0 0025 0 0016 0 0026 –1 0017 1 0027 0 0018 0 0028 0 0019 0 0029 0 15:55:24 [ ] [SYSTEM ] [ (OPRT) ] nsation number [NO.SRH] nsation value [+INPUT] nsation value [+INPUT] N File number [EXEC] Note) EDIT mode [CAN] [EXEC] Note) EDIT mode [CAN] 46
  • Page 80RAVEL :+1 RAVEL :–2 S 0 T0000 ALM 13:28:26 [ HISTRY ] [SYSTEM ] [ ] itches (0)/does not switch (1) to the alarm een when an alarm occurs. ator messages O1234 N12345 PAGE : 1 25:00 RY ] [ ] [ ]
  • Page 81IS ZERO RETURN REQUEST RY ] [ ] [ (OPRT) ] nd then [CLEAR]. a custom macro mbers in the range of 3000 to 3999 and are alarms in the message. ERROR1) as 3001 macro alarm in the history a DISP or DISPB instruction in the PMC mbers in the range of 1000 to 1999 and are l alarms in the message. ruction A
  • Page 82ETHOD ABLE S 0 T0000 00:00:00 AM ] [ ] [ ] M] while an alarm is generated displays the m. O1234 N00001 ALLOWED (COORD CHG) PROGRAM SYSTEM SETTING IS HOLDING ION, P–TYPE (WHEN TOOL RAM E EXECUTED. S 0 T0000 00:00:00 AM ] [ ] [ (OPRT) ] enter the alarm number, and then press soft e help message for th
  • Page 83SSETTE ASSETTE S 0 T0000 00:00:00 AM ] [ ] [ (OPRT) ] nter the number of the item to be displayed, ELECT] to display the operation method. elect another page. O1234 N00001 Current 1/4 page/total number of pages ELETE> M NUMBER) – S 0 T0000 00:00:00 ] [ ] [ SELECT ] s plays the parameter con
  • Page 84r rewriting (when PWE is set to 0). nuous menu key at the right end. On the ted. d to press [ ] depends on the configuration ] → [?] is indicated, press [ ] repeatedly ears. Depending on the configuration and ay not appear. dicated for “Mode,” you need to turn on the a key indicated for operation. r
  • Page 85ncy op (PMC) Data → INPUT OG POS POS → [REL] (Relative ³ coordinate system display) OFFSET SETTING → Axis → [ORIGIN] → SETTING OFFSET → [OFFSET] → Jog the tool to measuring position → Offset number → [NO.SRH] → Axis → [INP.C.] I or SYSTEM → [PITCH] → Com- er- ncy pensation point number → op [NO.SRH]
  • Page 86DIT Read by assigning a tempo- PROG rary program number → Execute in MEM mode → Delete program DIT [(OPRT)] → → PROG ( O Program number) → [READ] → [EXEC] rresponding key is “1”. data read through an I/O device) Function ode Operation key DIT [(OPRT)] → → [READ] PROG → [EXEC] Function ode Operation
  • Page 87DIT [(OPRT)] → → PROG [PUNCH] → –9999 → O [EXEC] DIT [(OPRT)] → → PROG [PUNCH] → O Program number → [EXEC] Function ode Operation key M– EDIT PROG O → Program No. → [O SRH] EM PROG N → Sequence No. → [N SRH] DIT Word to be searched for → PROG [SRH↑], [SRH ↓], , or DIT Address to be searched for PROG
  • Page 88DELETE DIT PROG N → Sequence No. → DELETE (The blocks up to the one with a specified sequence number are deleted.) DIT PROG EOB → DELETE DIT Search for word to be PROG deleted → DELETE DIT Search for word to be PROG changed→ New data → ALTER DIT Search for word immediately PROG before insertion loca
  • Page 89Program No. → → [READ] → [EXEC] rresponding key is “1”. Function ode Operation key OG Move machine. → PROG ND X Y or Z → INSERT → NC data → INSERT → EOB → INSERT rresponding key is “1”. Function ode Operation key pow- – -up RESET and DELETE Only for sub side of two- path control CAN and 2 Only for l
  • Page 90Only for sub side of two- path control DELETE and 2 Only for loader side DELETE and 5 – – PROG and RESET (The program being edited is deleted.) pow- -up X and O Only for loader side X and 5 pow- -up Z and O Only for loader side Z and 5 rresponding key is “1”.
  • Page 91jog feedrate → (Rapid tra- verse button, if required) NC (Move distance selection switch) → [+X] [–X] [+Z] [–Z] or etc. → (Rapid traverse button, if required) ND (Axis selection switch) → (Turn manual pulse genera- tion) → (Handle magnifica- tion selection) Function ode Operation key DIT [LIB] PROG
  • Page 92SYSTEM [SYSTEM] → [SP–INF] SYSTEM SYSTEM [SYSTEM] → → [MAINTE] SYSTEM [SYSTEM] → → [M–INFO] SYSTEM [SYSTEM] → → [PMM] – – Press CAN and function key simultaneously. Press function key to redis- play. SHIFT and HELP rresponding key is “1”. s) Function ode Operation key [G.PRM] GRAPH Selection of grap
  • Page 93[GRAPH] Graphic start/end: Automatic or manual opera- tion GRAPH GRAPH Press several times → PATH GRAPHIC screen → [PARAM]→ numeric key → INPUT EM GRAPH GRAPH Press several times → PATH GRAPHIC screen → [EXEC] → [(OPRT)]→ [AUTO] or [START] Temporary stop of graph [STOP] Execu- Execution after tion a
  • Page 94GRAPH GRAPH Press several times → PATH GRAPHIC screen → [EXEC] → [(OPRT)] → [A.ST] or [F.ST] Temporary stop of graph [STOP] Execu- Execution after tion af- temporary stop ter tem- porary [A.ST] or [F.ST] stop Display of head of part program after temporary stop [REWIND] → [A.ST] or [F.ST] GRAPH Pres
  • Page 95[SELECT] [OPERAT] → Item No. of op- HELP eration method → [SELECT] [PARAM] HELP Function ode Operation key [DGNOS] SYSTEM ↓ 1. Page change keys PAGE PAGE 2. Number of the diagno- sis data → [NO.SRH] Function ode Operation key PRM 20=4, PRM 3301#7=1 → Insert memory card → Display screen whose hard co
  • Page 96Function ode Operation key At – and the soft key to its wer- p left Move cursor to 1. SYSTEM DATA LOADING on system monitor screen → [SELECT] → Move cursor to file to be read → [SELECT] → [YES] Move cursor to 2. SYSTEM DATA CHECK on system monitor screen → [SELECT] → Move cur- sor to file of which t
  • Page 97[SELECT] → [YES] h a touch panel, use the numeric keys on the OT/system monitor. : 12–soft key type : 7–soft key type ± ± ± ± ± ± 2 3 4 5 6 7 64
  • Page 98Positioning (Rapid traverse) Linear interpolation (Cutting feed) 01 Circular interpolation CW or Helical in- terpolation CW Circular interpolation CCW or Helical interpolation CCW Dwell High–speed cycle cutting Hypothetical axis interpolation 00 Cylindrical interpolation Programmable data input Tool
  • Page 99Circular thread cutting CCW (When PRM3405#3 is set to 1.) Automatic tool compensation X (When PRM3405#3 is set to 0.) Automatic tool compensation Z 00 Automatic tool compensation X Automatic tool compensation Z Corner circular interpolation Tool nose radius compensation cancel 07 Tool nose radius co
  • Page 100conversion mode off Finishing cycle Stock removal in turning Stock removal in facing 00 Pattern repeating End face peck drilling Outer diameter/internal diameter drilling Multiple threading cycle Traverse grinding cycle (for grinding machine) Traverse direct constant–dimension grinding cycle (for gr
  • Page 101B axis control – 00 Second program registration start B axis control – Third program registration start B axis control – One motion operation programming ar state (see PRM3402#6 (CLR)) when the CNC is reset, the modal G codes change as in the above table are enabled. leared due to power–on or reset,
  • Page 102ar interpolation/Helical interpolation CCW te interpolation ential interpolation –dimensional circular interpolation Exact stop speed cycle machining, high–speed remote A/B, high–precision contour control, AI high– ion contour control, AI nano high–precision con- ontrol, high–speed linear interpolat
  • Page 103unction, Multi–step skip function kip function uous high–speed skip function d cutting atic tool length measurment r circular interpolation compensation cancel/Three–dimentional tool cancel compensation left side/Three–dimentional tool –dimensional cutter compensation (Tool side nsation) left side –
  • Page 104direction positioning stop mode atic corner override g mode g mode call modal call modal call cancel inate rotation/Three–dimensional coordinate rsion inate rotation cancel/Three–dimensional coordi- onversion cancel on copy el copy drilling cycle er tapping cycle e grinding cycle (for grinding machi
  • Page 105boring cycle cycle cycle ute command ent command g for workpiece coordinate system or maximum e speed iece coordinate system preset per minute per rotation ant surface speed control ant surface speed control cancel to initial point in canned cycle to R point in canned cycle d control function cancel
  • Page 106Start point R G02 J enter I End point (X, Y) X, Y) G03 Start point R J ter I X End point Tool path Start point Y
  • Page 107R_ f f 4 F_ ; _J_ R_ F_ ; _K_ R_ F_ ; J_K_ lane f f _J_ α_(β_)F_ ; R_ lane _K_ α_(β_)F_ ; R_ lane J_K_ α_(β_)F_ ; R_ lar interpolation is 74
  • Page 108Clockwise (G02.2) Yp Ro End point d Start point R Pe int 0 Ps IJ Po J 0 R I Start point Ps Xp Xp Counterclockwise (G03.2) inear axis) A (Rotary axis) nA
  • Page 1094 rdinate le for an involute start point f _; _; an absolute or incre- an absolute or incre- an absolute or incre- ±89 deg in units of o ±89 deg in units of de the linear axis for an value). Specify value is specified, 5643 is used. onential interpola- . s an ordinary F eedrate including a end point
  • Page 110oint End point (X2,Y2,Z2) mple) G04 P10; Dwell by 10 seconds G04 X30; Dwell by 30 revolutions mple) 1: connection 2, repetition 1 2: connection 3, repetition 3 3: connection 0, repetition 1 10001L2; is executed as 1, 2, 2, 2, 3, 1, 2, 2, 2, 3 fy G05 only in a block using normal NC com- format. Then
  • Page 111n. 4 f f second revolution f f called programs ning cycle : G05 ; f f : The travel distance along all axes are set to zero ration 1st axis 2nd axis Nth axis ary. ining f ning 78
  • Page 112on/deceleration. utomatic speed control function which enables mooth acceleration/deceleration by considering hanges in the figure and speed and allowable cceleration for the machine. This is performed y reading multiple blocks in advance. r of two types of machining can be selected, nding on the pr
  • Page 1134 ooth interpolation f smooth interpola- f fy the start and end tour control, and AI f pports high–speed GN700#1 (HOK). HRV mode, refer to anual. 80
  • Page 1141000. X 2000. Z 1 C R Z this function, the delay due to acceleration/de- ation and the delay in the servo system which ase as the feedrate becomes higher can be sup- ed. ool can then follow specified values accurately rrors in the machining profile can be reduced. Speed Time In–position check
  • Page 1154 olation mode ve ified in the high– precision contour ntour control mode. g f f el sses of the con- f f e e cancel ew control mode. f f ew control mode. f 82
  • Page 116ecifying G10, parameters and pitch error com- ation data can be set and modified. ion) parameters are not suitable for setting or modi- n, and an operation such as a reference posi- eturn operation may be required after a setting dification.
  • Page 117f 4 ry A ry B ing the geometric amount) ing the wear amount) ry C anging the geometry ion amount for H anging the geometry ion amount for D anging the wear ion amount for H anging the wear ion amount for D de on f f a parameter of a parameter of axis de cancel git) or pitch error 10000 (5–digit) dec
  • Page 118: Recovery path : Repositioning Z X Y C’ (Hypothentical axis) C axis X axis Y x: radius y : angle X X Z X Z Y G17 G18 G19 (X, Y, Z) (I, J, K) X>I, Y>J, Z>K
  • Page 1194 f f n mode n mode cancel f x Yy ; ancel f f f f e check on f f 86
  • Page 120r Actual speed No Check check Check Time cification of Start of check Alarm her speed When an alarm is raised before a specified spindle speed is reached indle speed r q d Specified q d speed r p Actual speed Check No check Check Time cification of Start of Alarm her speed check IP Reference positio
  • Page 121tarted at that time.) 4 spindle speed (if a within this range, it is the specified value. ual spindle speed is specified spindle at which the actual an overheat can oc- verheat/specified f f f f ference position return erence position return erence position return f 88
  • Page 122Skip signal tart point kip function is enabled for a workpiece axis in ynchronization mode based on the EGB (elec- gear box). ntil the skip signal input count reaches a pro- rammed value, the block is not stopped. ach time the skip signal is input, the current achine coordinates are stored in a cust
  • Page 1234 rque limit is reached f f nal is sent) que limit is reached) re the command. B mode on) f B skip command) e axis) e consecutive cus- in which the ma- itions of the EGB ) at the skip signal able number of the value: 1 – 200) ustom macro vari- al number of the in- he same as the val- necessarily spe
  • Page 124L Circular thread F art int End point (Z, X) I R Z K Arc center Measured position reach signal g point Measured position Specified position (Xa or Za) Offset value set by this command Ç Z A (Start position) Measurement position is Rapid traverse commanded with G37 B (Deceleration position) Measureme
  • Page 1254 f tart position amount per spindle f F_ Q_; eading command ular threading com- int (in the same way relative to the start ordinates (in the G03). . direction of the threading start ts of 0.001°) f oordinate system. f 54 to G59.) umber for tool length y the following: nd·G37 is valid only ich it is
  • Page 126Right of programmed path ÇÇÇ ÇÇ ÇÇ ÇÇ G41 ÇÇÇÇÇ G40 G42 Programmed path Left of programmed path Right of programmed path Programmed path Path after three–dimensional tool compensation Three–dimensional tool com- pensation vector G40 G41 hree–dimensional tool compensation vector is ned from the follo
  • Page 1274 f ion t up) f ng the or three-di- l compensation movement at the e vector) on (left) f on (right) cancel 94
  • Page 128Tool center path(after compensation) Z Y X sation Cutter compensation amount ensation applicable when the tool edge is for machining Tool vector d e Tool center path (after compensation) Programmed sation tool path Cutter compensation amount Offset : + offset Z : – offset grammed path Tool center pa
  • Page 1294 f f gth compensation A H_; nsation B compensation C ) cancel f _; 96
  • Page 130P4 P3 P4’ P3’ P0 P2’ P1’ P1 P2 1 to P4: Programmed shape 1’ to P4’: Scaled shape 0: Scaling center Mirror Workpiece Tool Workpiece inate system) e coordinate system 1) (Local coordinate system) 5 _ G56 G57 G58 (G59 : Workpiece coordinate system 6) (Machine coordinate system) n
  • Page 1314 fications for the X-, ble image f command specified oduced with respect try specified by mable mirror image s of symmetry for ge when specified oducing a mirror with G50.1. Point of ed. f d workpiece m setting f f m cancel 98
  • Page 132β α erence position Workpiece Workpiece Workpiece iece coordinate coordinate coordinate nate system 2 system 3 system 4 1 (G54) (G55) (G56) (G57) ZOFS2 ZOFS3 ZOFS4 ZOFS1 Workpiece ZOFS5 coordinate system 5 (G58) EXOFS Workpiece coordinate Machine zero point ZOFS6 system 6 (G59) S:External workpiece
  • Page 1334 system 1 selection f f system 2 selection system 3 selection system 4 selection system 5 selection system 6 selection f d f ommand er (1 to 8) f f 100
  • Page 134Programmed path Le Ls b Cutter center path verride is applied from a to b Speed Feed hold is ineffective Feedrate override is ineffective G63 Time peed G64 Time Main program Macro program O_: O0001; G65P0001L_; _ G67; M99; ain program Macro program _: O0001; 66P0001L_; _ _ 67; M99;
  • Page 135f 4 f f f f f f 102
  • Page 136neously. ost 1 program Tool post 2 program : ; G68 ; Balance cutting mode Z100.0 ; G01Z100.0 ; Balance cutting Z0 ; Balance cutting ; G69 ; Balance cutting mode : cancel Y Y’ X’ R X dinate conversion about an axis can be carried the center of rotation, direction of the axis of on, and angular displa
  • Page 137cel 4 path control when for the two paths, g feed is applied to th earlier than for the s until G68 is speci- ths, and cutting , the program stops for the other path. ly when two–path when mirror image s selected. f f _ ; 7, G18, G19 __ k1 R__ α; f f g tree–dimensional ate conversion ensional coordi
  • Page 138
  • Page 1394 r operation is re- the Xp axis is parallel to the X- the Yp axis s parallel to the Y- the Zp axis s parallel to the Z- t icates a counter- splacement. Speci- lue.) operation is re- is is is 106
  • Page 140Stock removal in turning Stock removal in facing Pattern repeating End face peck drilling cycle Outer diameter/internal diameter drilling cycle Multiple thread cutting cycle mple) G92 X axis Z W 4(R) 3(R) 1(R) U/2 3(R) X/2 Z axis int R Rapid traverse F Specified by F code L Approx. 45_, r Detailed c
  • Page 1414 ; f H__ ; __ ; 99999.999 seconds edrate (G73/G74) 108
  • Page 142Boring cycle, back boring cycle Boring cycle Boring cycle Canned cycle cancel Example G73 (G99) 98) l (On the G99) R point q d q d q oint Z point Plunge grinding cycle Direct constant-dimension plunge grinding cycle Continuous-feed surface grinding cycle Intermittent-feed surface grinding cycle X(Z)
  • Page 143F__K__ ; 4 F__K__ ; F__K__ ; F__K__ ; _F__K__ ; Number of repeat data ss Explanation V G73, G74, G76, G80 to G89 Y Specifies the hole position by an in- cremental or absolute value. Specifies the distance from point R to the bottom of the hole. Specifies the distance from the initial level to point
  • Page 144Drilling cycle cancel Example G83 (G87) (G99 mode) used * When G code system B/C is C is used in the G99 mode (G98) Mα R point Mβ, P2 level R point level (G99) q d q d q Z point P1
  • Page 1454 _K_(MVV) ; M code of C axis clamp (PRM5110) umber of repeat PRM5102#5) ata ss Description V G80, G83, G84, G86, G87, G88, G89 )C/H Specifies the hole position by an in- cremental or absolute value. ) Specifies the distance from point R to the bottom of the hole. Specifies the distance from the ini
  • Page 146le Hob xis Gearmaterial ing the electronic gear box of the servo system, ol is exercised to synchronize the rotation of a le (such as the hob axis) with a workpiece axis as the C axis). ing the electronic gear box of the serial spindle, ol is exercised to synchronize two spindles (Cs ur axes) with e
  • Page 147–axis rotates in the 4 . C–axis rotates in the ). h a module. ecifiable range = diametral pitch. specifiable range = cifiable range = en a helical gear is n is made available with G81.4. ronization. f xis rotation. xis rotation chronization. ble range: 1 to o +21 with 0 ex- ase of metric input. cifi
  • Page 148Synchronization Synchronization start command cancellation command ce– eed Synchronization Acceleration state Deceleration celeration/deceleration plus omatic phase synchronization type le d Synchronization Synchronization start command cancellation command iece– peed Automatic Synchro- Acceleration
  • Page 1494 irection of rotation is negative (– direc- s tion type tion start tion end f valid settings: ange of valid set- ing 0) irection of rotation is positive (+ direc- irection of rotation is negative (– direc- f e Z–axis, specify the per dead point and an incremental val- ead point.) dead point to poin
  • Page 150Master axis Detector CNC Servo control C axis EGB synchro- (servo) nization slave axis 1 Servo control V axis EGB synchro- (servo) nization slave axis 2 mple) 60 30 50 100 ÇÇ Absolute command G90X100Y60; Incremental command G91X50Y30; ÇÇ ÇÇ IP
  • Page 151unt se count 4 99999) on the condition that d to one period in either of the follow- address travel indicated in minimum travel of valid settings for movement applies) the specified s regarded as being for the slave–axis cribed below. In this not specified, an tput. axis address xis speed v 21) niza
  • Page 152Move Move distance distance F F per minute per revolution d per minute Feed per revolution 94 (Series M)) (G95 (Series M)) 98 (Series T)) (G99 (Series T)) Surface speed (m/min or feet/min) pindle peed (min–1) X Z(X=0) G98 Initial point G99 R point Z point
  • Page 153r minute f f 4 r revolution r minute r revolution G94/G95 is specified C is used. f min) f stant surface speed is to 8th axis, axis t/min) f f commands are appli- m B/C is used. 120
  • Page 154ŸŸŸ Workpiece ŸŸŸ B mple) r r r r End point Start point Z
  • Page 155control can be regis- an be executed by 4 8251/8252/8253. nd]; otion movement. f 122
  • Page 156#1000 – #19988 100 to #199 and #500 to #999 can be added. 5.2. e ntents Purpose Series to UI000 to UI015 Interface input T/M > signal of UI000 to UO015 > to UO000 to Interface T/M , F055> output signal of UO000 to , F055> of UO100 to to F059> alue X axis offset T 64) et value 49) alue 99) et value 9
  • Page 157et value 99) alue Y axis offset T 49) 5 et value 49) alue 99) et value 99) ation Tool M 200) compensation (offset memory ation A) 999) alue Tool M 200) compensation (offset memory et value B) 200) alue 999) et value 999) f H code Tool M 200) compensation (offset memory et of H code C) 200) f H code
  • Page 158check signal Status of T/M mirror image day Clock T/M second achined No. of parts T/M equired p 01–22) Modal T/M ly) information ly) ly) mber ber ional workpiece stem number) end position Block end T/M position (Work- end position piece coordi- nate) nt position Machine T/M coordinate nt position nt
  • Page 1594th axis e zero point offset 1st axis M 2nd axis 3rd axis 5 4th axis e zero point offset 1st axis M 2nd axis 3rd axis 4th axis e zero point offset 1st axis M 2nd axis 3rd axis 4th axis e zero point offset 1st axis M 2nd axis 3rd axis 4th axis piece zero point 1st axis to T/M 8th axis e zero point of
  • Page 160A #1 B #2 C #3 I1 #4 J1 #5 K1 #6 I2 #7 J2 #8 K2 #9 I3 #10 J3 #11 K3 #12 I4 #13 J4 #14 K4 #15 I5 #16 J5 #17 K5 #18 I6 #19 J6 #20 K6 #21 I7 #22 J7 #23 K7 #24 I8 #25 J8 #26 K8 #27 I9 #28 J9 #29 K9 #30 I10 #31 J10 #32 K10 #33
  • Page 1614.0 D5.0 P1000; 5 d D5.0 arguments are commanded for ple, the latter, D5.0, is valid. 128
  • Page 162R#k Logical sum (at every bit of 32 bits) OR#k Exclusive OR (at every bit of 32 bits) k Product k Quotient ND#k Logical product (at every bit of 32 bits) [#j] Sine (degree unit) N [#j] Arcsine (degree unit) S [#j] Cosine (degree unit) OS [#j] Arccosine (degree unit) [#j] Tangent (degree unit) N [#j]
  • Page 163#j GT #k (>) fied. nditional expression>] #j LT #k (<) st #j GE #k (y) 5 e the macro statement st he conditional expression fied. #j LE #k (x) [) pression, blocks from DO #j LT #k (<) m to END m are execu
  • Page 164t>; 9010 6050 Refer to 5.3 for t>; to to argument 9019 6059 assignment. Set G or M code that calls a pro- gram specified in 9020 6080 the parameter. t>; to to 9029 6089 9001 6071 Displayed on pro- to to gram check screen 9009 6079 but no MF nor M code is sent. Set an M code that calls a sub-pro- gra
  • Page 165al(UINT) O xxxx ; 5 M99 (Pffff) ; l(UINT) is disabled. fied in a program, and ut afterwards, the pro- xxx is executed by inter- gram. 132
  • Page 166string to an external I/O device (in binary). riable data umber ecimal able. a1 This command outputs character strings and the contents of variables string to an external I/O device (in ISO/EIA riable according to the setting). data Related parameter: PRM6001#1(PRT) umber teger ble. umber ecimal abl
  • Page 167⋅ 2–axis to 8–axis control ⋅ Spindle control ⋅ LCD/MDI interface ⋅ I/O Link ⋅ PMC–SB7 ⋅ Analog output (option) ⋅ High–speed DI ⋅ RS–232C × 2 ⋅ Memory card interface ⋅ Ethernet 6 s) unction Basic system Option Without slots, or with 2 slots, or with 3 slots, or with 4 slots y option boards as the num
  • Page 168⋅ RS–232C x 2 ⋅ Memory card interface ⋅ Ethernet s) tion Basic system Option Without slots, or with 2 slots, or with 3 slots, or with 4 slots y option boards as the number of option slots can be lots accept only specific option boards.
  • Page 169⋅ High–speed DI ⋅ RS–232C × 2 ⋅ Memory card interface ⋅ Ethernet (option) 6 m- Basic system Option Unit without option slots or unit having two option slots y option boards as the number of option slots can be lots accept only specific option boards. 136
  • Page 170CK1 RS–232C I/O unit RS–232C I/O unit Touch panel Analog output for tool drive High–speed skip input Distributed I/O Manual pulse generator board CPD1 JA3 JD1B Operator’s panel JD1A CPD1 Distributed I/O Power JD1B board magnetics I/O UNIT JD1A I/O unit, etc. cabinet Position coder for analog spindle
  • Page 171Analog output for tool drive Position coder PSM Position coder 6 Spindle motor SPM ndle Subaxis 1 COP10B SVM servo motor COP10A Subaxis 2 COP10B SVM servo motor COP10A COP10B Subaxis 3 SVM servo motor COP10A COP10B Subaxis 4 SVM servo motor COP10A Up to 6 or 8–axes, depending on the model Servo chec
  • Page 172servo motor COP10A JF1 TB1 CX2B JX1B Loader axis 2 COP10B SVM servo motor COP10A COP10B Loader axis 3 SVM servo motor COP10A Loader axis 4 COP10B SVM servo motor COP10A (In this figure, a 1–axis amplifier is used.) Loader control servo check board Distributed I/O board CPD1 JA3 JD1B Operator’s panel
  • Page 173Backup unit Hub, etc. 6 RS–232–C I/O device USB keyboard printer 140
  • Page 174A20B–8100–0661 A20B–8100–0662 SA1) A20B–8100–0663 SB7) A20B–8100–0664 1) A20B–8100–0665 7) cation Connector unit Fan motor Battery Rear of unit is a connector installed on the servo card.) JA40 JA41 CP1 JD44A Motherboard CN3 CN8 CNM1A Motherboard JA40 JA41 CP1 JD44A
  • Page 175Analog output/high–speed DI I/O link Serial spindle/position coder 24VDC–IN F–BUS interface 6 Video signal interface PCMCIA interface Soft key Inverter Ethernet mounting location Connector Connector (2) Display (3) CPU card control card Connector (4) Power supply unit 142
  • Page 1760241 Axis control 6 axes 0240 Axis control 8 axes 0248 Axis control 4 Applicable servo axes software: Series 90B0 (High– 0245 Axis control 6 speed HRV) axes 0244 Axis control 8 axes 0246 Learning–control Applicable servo axis control software: Series 90B3/90B7 0247 Learning–control Applicable servo
  • Page 177Series 21i 0312 DRAM 16MB for When embedded Series 21i Ethernet function is used with Se- 0313 DRAM 32MB for ries 21i Series 21i 0720 6 g location DIMM module socket ROM/SRAM (2) Analog spindle module module DIMM module socket 144
  • Page 178SRAM 1MB 0164 FROM 32MB SRAM 2MB 0165 FROM 32MB SRAM 3MB 0180 FROM 16MB SRAM 256kB 0181 FROM 16MB SRAM 512kB 0182 FROM 32MB SRAM 256kB 0183 FROM 32MB SRAM 512kB 0170 Analog spindle position coder Rear of unit SFAIL Alarm (red) LEDG3 Status (green)
  • Page 179or each processor ID in the system to be set up. cessor ID in the system has been set up. us initialized. alized. on about the hardware configuration of each 6 ircuit board in the system has been set up. der initialized. or digital servo to be initialized. rvo initialized. on is completed, and norma
  • Page 180SB7) A20B–8100–0795 nectors Connector unit Fan motor Battery Rear of unit COP10A is a connector installed on the servo card.) JA40 JA41 B JD44A CP1 CA75 Motherboard CN8 CN3 PCMCIA2 Motherboard JA40 JA41 6B JD44A CP1 CA75
  • Page 1812C serial port g output/High–speed DI k spindle/Position coder C–IN 6 et(10BASE–T/100BASE–TX) de Ethernet(10BASE–T/100BASE–TX) panel p unit S interface signal interface IA interface 148
  • Page 182Connector (4) Power supply unit de Function Remarks –3300– Axis control Servo software 2–axes series 9090 (210is) –3300– Axis control 4–axes –3300– Axis control Servo software 2–axes series 90B0 –3300– Axis control 4–axes –3300– Axis control 6–axes –3300– Axis control 8–axes –3300– Axis control Serv
  • Page 183–3300– For Series 210is DRAM 32MB –3300– For Series 210is When the series DRAM 16MB 210is uses the PC’s embedded –3300– For Series 210is Ethernet feature 6 DRAM 32MB –8100– CARD” for the configuration of the CE card. 150
  • Page 184Connector Motherboard de Function Remarks –3900– FROM 16MB FROM contains SRAM 1MB various types of control software. –3900– FROM 16MB SRAM is bat- SRAM 2MB tery–backed –3900– FROM 16MB memory. SRAM 3MB –3900– FROM 32MB SRAM 1MB –3900– FROM 32MB SRAM 2MB –3900– FROM 32MB SRAM 3MB –3900– FROM 16MB SRA
  • Page 185LINK Indicates the link 6 state of the Ether- net on the NC side. This LED lights when a link PC POWER Status (Green) is established. AIL PARITY1 Y2 SVALM Alarm (Red) SYSEMG 8 LED4 7 LED3 Status (Green) * LED1 to LED4 : NC side status 6 LED2 LED5 to LED8 : PC side status 5 LED1 See next page. reen)
  • Page 186o PC interface is being initialized. or the PC to boot. creen is displayed on the PC. normally after starting up successfully. n at system alarm occurrence , it is likely that the hardware is defective. Meaning stem alarm occurs. The hardware has detected ystem. stem alarm occurs. Used by the softwa
  • Page 1876 Rotary switch Mother board RESERVE (open) Be sure to remove these short plugs. (For some boards, the pins for these short plugs are not mounted.) onfiguration from other card printed–circuit d and the compact flash card is attached. CE card 2 Spacer Ô CE card 1 Ô tor Ô lash card Ô CE card Side vie
  • Page 1881–0173#096MB 96MB 5–0208 connector units Specification CD A20B–8100–0710 A20B–8001–0920 A20B–8001–0922 on slot A15L–0001–0060#B tion slots A15L–0001–0060#A r four option slots A15L–0001–0060#C astened to the case with self–tapping screws. ion Connector unit Fan motor Connector unit Fan motor Connect
  • Page 189type 6 ype and 4–slot types Application Power supply for fans Battery Power supply for LCD backlight Power supply for inverter PCB 156
  • Page 190DNC1 A20B–8100–0263 A20B–8100–0264 A20B–8100–0150 cannot fit into any of the following slots. with 3 option slots from the LCD in a unit with 4 option slots nnector CP8B JD38A JD6A onnector
  • Page 191JD28A JD6A rd B/DNC1 6 nector JD28A JD6A Pi T board onnector CP8B Application k 32C serial port 32C serial port 32C serial port 22 serial port backup battery ally, the connector is not used. To keep the nts of SRAM with the printed circuit board re- , connect the battery to this connector.) 158
  • Page 192mounted on the CPU card. munication board, Symbol CAPi T board (2) DRAM module DIMM module socket tion Function Remarks –0070 PMC/ communication/ conversational function –0042 DRAM for PMC/ 4M/2M communication/ conversational function Status (green) DRMRTY BUSERR Alarm (red) (Red) Installed on the C
  • Page 193rror d) rity parity 6 ARITY or (when the CPU peripheral control G/A is the tes that a reset is under way immediately after n. Specification A20B–8002–0190 cannot fit into any of the following slots. with 3 option slots from the LCD in a unit with 4 option slots ion ector JA41 JA40 Application check
  • Page 194d on the CPU card. ation Function Remarks –0243 Axis control 2 Applicable servo axes software: Series 90B0 –0242 Axis control 4 axes –0241 Axis control 6 axes –0240 Axis control 8 axes –0248 Axis control 4 Applicable servo axes software: Series 90B0 (High– –0245 Axis control 6 speed HRV) axes –0244
  • Page 1956 Alarm (red) reen) indication at power–on time Status not supplied. tus immediately after power is switched on; the has not started. alization. or system ID to be set up. or software initialization to be completed No. 1 or software initialization to be completed No. 2 on of position coder, digital
  • Page 196from the LCD in a unit with 4 option slots ion ctor Connector (1) CPU card ation Function Remarks –0102 Standard type –0401 High–speed type
  • Page 1976 Status (green) LED4 LED3 LED2 LED1 tion (LED lighting) Status not supplied. (1) (Check the CNC for the cause.) D error (Replace the printed circuit board or odule.) (5) (Check the CNC for the cause.) error (Replace the printed circuit board or odule.) (3) (Check the CNC for the cause.) rror (Repla
  • Page 198ment input wait d execution in progress (parameter change) ries only) c operation is not activated. (Replace the rcuit board.) (B451 series only) n Status rity error occurred. g unusual occurred in the power for the proces- fast data server board Specification ion) A20B–8100–0271 version) A20B–8100–
  • Page 199plane connector 6 TPPIL(GREEN) BTX(GREEN) lled for the fast data server board only. wer–on time Ethernet board status r off. status immediately after power is switched on. initialization completed. ware download completed. rol passed to the OS. HASE 1 HASE 2 HASE 3 HASE 4 sequence completed. tarted
  • Page 200s when a 100BASE–TX connection is made. ast data server) ff, communication does not occur. It is likely rnet board is not connected with the hub LED does not light also when the power to It remains to be on when the Ethernet board to the hub normally. s frequently if Ethernet communication traffic o
  • Page 201from the LCD in a unit with 4 option slots ion 6 ector JD1A Application check k (2) CPU card Connector JD1A ation Function Remarks –0033 Axis control 2 Applicable servo axes software: Series 9090 –0032 Axis control 4 axes –0291 With DRAM 16MB 168
  • Page 202(red) Status (green) reen) indication at power–on time Status r is not supplied. status immediately after power is switched on; ader CPU has not started. initialization ng for system ID to be set up. ng for software initialization to be completed No. 1 ng for software initialization to be completed
  • Page 203ctor 6 COP7 Application speed serial bus interface SB interface board. Alarm (red) 170
  • Page 204en being displayed on the PC. on completed, and usual operation under way. een) indication at error occurrence Status l error has occurred at the PANEL i. mmunication was discontinued. rm in NC/PC common RAM. communication error has occurred. alarm has occurred at the PANEL i. n at error occurrence
  • Page 205d PC or PANEL i do not perform the handshake ependently of each other. he PC or PANEL i is not connected or turned the CNC can be started and operated. (For this n, a special display unit, MDI, operator’s panel, like are necessary.) Even if the PC or PANEL i 6 cted and turned on, the startup menu do
  • Page 206SW1 D1 (green) ED2 (green) ED3 (green) Meaning en the CPU on the FANUC I/O Link–II board is When the LED is off, it means that the CPU has et. en a DRAM parity error is detected. that the hardware is defective. Meaning ely after power is switched on. ication board being initialized. ta is being tran
  • Page 207from the LCD in a unit with 4 option slots 6 dd–on board Application er unit interface for master station er unit interface for slave station OFIBUS board. ON board LEDs for master function LEDB (red) LEDB (red) LED2 (green) LED3 (green) LED1 (green) 174
  • Page 208en a memory parity alarm occurs in the master circuit. that the hardware is defective. ounted on the add–on board) Meaning indicate the CPU for the slave function is run- en PROFIBUS communication starts. It re- be on after the PROFIBUS communication is d, indicate that PROFIBUS communication is be-
  • Page 2096 TPPIL(GREEN) BTX(GREEN) lled for the fast Ethernet board only. wer–on time Ethernet board status r off status immediately after power is switched on. initialization completed. ware download completed. rol passed to the OS. HASE 1 HASE 2 HASE 3 HASE 4 sequence completed. tarted normally, the STATUS
  • Page 210s when a 100BASE–TX connection is made. (for Ethernet) ff, communication does not occur. It is likely rnet board is not connected with the hub LED does not light also when the power to It remains to be on when the Ethernet board to the hub normally. s frequently if Ethernet communication traffic com
  • Page 211nnector 6 Application eNet interface moved from the DeviceNet board interface connected. Remove the terminal plate by cannot be removed unless the connector’s en removed first. 178
  • Page 212NS H LEDA LED3 LED2 LED1 LED0 on the back of the daughter board. Description ial meaning D glows when something unusual occurs in the daughter board. At power–up, the LED does not this LED glows, replace the DeviceNet board. et module/network status LED. The LED indi- hether the DeviceNet board is t
  • Page 213Backup unit PCB 6 Function ying the backup power (main printed circuit interface) n the main printed circuit board lights, do not basic unit and backup unit. The erates for about 12 seconds after the main 180
  • Page 214A02B–0281–B504 A02B–0283–B500 A02B–0297–B500 For 18i–MB5 A02B–0283–B502 A02B–0297–B502 For 18i–MB5 A02B–0283–B503 A02B–0297–B503 For 18i–MB5 A02B–0283–B504 A02B–0297–B504 For 18i–MB5 A02B–0285–B500 A02B–0285–B502 A02B–0281–B600 A02B–0281–B602 A02B–0281–B603 A02B–0281–B604 A02B–0283–B600 A02B–0297–B6
  • Page 215A02B–0281–D503 f × A02B–0281–D504 f × A02B–0281–D505 f × A02B–0281–D506 × f 6 A02B–0281–D507 f f Drawing number Remarks A02B–0281–C120#TBR A02B–0281–C121#TBR , A02B–0281–C125#TBR A02B–0281–C126#TBR mm A02B–0281–C120#MBR A02B–0281–C121#MBR , A02B–0281–C125#MBR A02B–0281–C126#MBR mm A02B–0261–C162#MCR
  • Page 216, A02B–0281–C125#TBS A02B–0281–C126#TBS mm A02B–0281–C120#MBS A02B–0281–C121#MBS , A02B–0281–C125#MBS A02B–0281–C126#MBS mm A02B–0261–C162#MCS A02B–0261–C161#MCS mm A02B–0281–C125#TFBS A02B–0281–C126#TFBS mm A02B–0281–C130#E ds of control units ng ID Remarks er –0660 3x08 –0661 3x09 –0662 0x0A
  • Page 217–0665 3x0A –0790 3x10 6 –0791 3x11 –0794 2x12 –0795 3x12 –0310 CPU : 11 DRAM : A9 –0311 CPU : 11 DRAM : AA –0312 CPU : 11 When the embedded DRAM : A9 Ethernet function is used with 21i/210is. –0313 CPU : 11 When the embedded DRAM : AA Ethernet function is used with 21i/210is. –0290 CPU : 09 DRAM : 8
  • Page 218–0300 07 –0301 03 –0302 07 –0303 03 –0033 00 Applicable servo soft- ware : Series 9090 21i, Loader control –0032 01 Applicable servo soft- ware : Series 9090 21i, Loader control –0243 08 Applicable servo soft- ware : Series 90B0 –0242 08 Applicable servo soft- ware : Series 90B0 –0241 08 Applicable
  • Page 219software : Series 90B9 –0330 – For 10.4I color LCD –0320 – Windows CE CPU –0720 – 6 –0160 FROM : C1 SRAM : 03 –0161 FROM : C1 SRAM : 04 –0162 FROM : C1 SRAM : 05 –0163 FROM : C2 SRAM : 03 –0164 FROM : C2 SRAM : 04 –0165 FROM : C2 SRAM : 05 –0180 FROM : C1 SRAM : 01 –0181 FROM : C1 SRAM : 02 –0182 FR
  • Page 220–0263 3xCD DNC1 –0264 4xCD –0190 1xCE –0040 xxCA –0271 3xDB –0770 0x8E –0960 – –0830 1xD3 –0641 ExAA –0250 0x95 –0430 0xBB Master function –0430 – Slave function –0271 3xDB –0770 0x8E –0880 1xF3 –0150 – –0230 – –0140 – –0710 – –0920 – –0922 – –0582 – –0583 –
  • Page 221–0620 – –0820 – 6 Drawing number Remarks A20B–2002–0470 DI/DO= 72/56 DI=general 16, matrix 56, with MPG interface A20B–2002–0520 DI/DO : 48/32 with MPG interface A20B–2002–0521 DI/DO : 48/32 A03B–0815–C001 DI/DO : 24/16 A03B–0815–C002 DI/DO : 24/16 with MPG interface A03B–0815–C003 DI/DO : 24/16 A03
  • Page 222A02B–0236–C241 Without MDI A02B–0236–C232 A02B–0236–C233 A02B–0236–C235 A02B–0236–C234 A16B–2200–0661 DI/DO : 64/32 A16B–2200–0660 DI/DO : 96/64 A16B–2200–0731 DI/DO : 64/32 A16B–2200–0730 DI/DO : 96/64 A16B–2201–0110 A02B–0236–C160 A02B–0236–C161 Matrix supported A03B–0817–C001 Drawing number Remar
  • Page 223A60L–0001–0290#LM50C Rated at 5A nit A60L–0001–0046#7.5 Rated at 7.5A dis- A60L–0001–0290#LM10 Rated at 1A anel 6 dis- nel dis- A60L–0001–0172#DM10 Rated at 1A anel A60L–0001–0290#LM20 Rated at 2A ace y A98L–0031–0012 t) A90L–0001–0441 30–mm type ) A90L–0001–0441#100 30–mm type A90L–0001–0506#135 60
  • Page 224⋅ I/O Link ⋅ PMC–SB7 ⋅ Analog output (option) ⋅ High–speed DI ⋅ RS–232C x 2 ⋅ Memory card interface ⋅ Display interface ⋅ Ethernet Mounted in slot 1 Basic system Option Mini–slot options on 1–slot cabinet or 3–slot cabinet board depends on the board type, as shown below: ts into option slot 2. ts in
  • Page 225⋅ Display interface ⋅ Ethernet Mounted in slot 1 Basic system Option 6 Mini–slot options n 1–slot cabinet or 3–slot cabinet rd depends on the board type, as shown below: to option slot 2. to option slot 3. to a mini slot (of any slot). 192
  • Page 226⋅ Ethernet (option) Mounted in slot 1 Basic system Option Mini–slot options n 1–slot cabinet or 3–slot cabinet rd depends on the board type, as shown below: to option slot 2. to a mini slot (of any slot).
  • Page 227CP1B Memory card (Touch panel) RS–232–C I/O unit RS–232–C I/O unit Analog output for tool drive High–speed skip input Distributed Manual pulse generator I/O board CPD1 JA3 6 JD1B Operator’s panel JD1A CPD1 Distributed Power JD1B I/O board, magnetics JD1A I/O unit, etc. cabinet JD1B Servo motor β amp
  • Page 228GND PSM Loader main unit able COP10B Loader axis–1 SVM servo motor COP10A COP10B Loader axis–2 SVM servo motor COP10A COP10B Loader axis–3 SVM servo motor COP10A COP10B Loader axis–4 SVM servo motor COP10A Up to 4 axes OT limit 24V Actuator Workpiece feeder Actuator Operator’s pane for loader contro
  • Page 229d spindle Sub axis–1 COP10B servo motor r cable SVM COP10A Sub axis–2 COP10B servo motor SVM COP10A Sub axis–3 COP10B COP10A SVM servo motor 6 Sub axis–4 COP10B SVM servo motor COP10A Up to 6 to 8 axes, depending on the model Servo check board RS–232–C I/O unit (when remote buffer board or DNC2 boar
  • Page 230Backup Unit Hub, etc. RS–232–C I/O Device USB Keyboard Printer
  • Page 2310i/160is A16B–3200–0420 0i/180is A16B–3200–0421 0i/210is A16B–3200–0425 nectors, LEDs, etc. 6 N BAT1: Battery LEDs JD5A: RS232C serial port JD5B: RS232C serial port JD44A: I/O Link JA40: Analog output/high–speed DI JA41: Serial spindle/position coder JD45: CRT LINK/MDI STATUS: 7–Segment LED nit CA69
  • Page 232ard (6) FROM/SRAM module Function Remarks – DRAM 16MB For Series 16i/18i/160i/180i/ 160is/180is – DRAM 32MB For Series 16i/18i/160i/180i/ 160is/180is – DRAM 16MB For Series 21i/210i/210is – DRAM 32MB For Series 21i/210i/210is – DRAM 16MB When the em- For Series bedded Ethernet is 21i/210i/210is used
  • Page 233– Axis control 6–axes – Axis control 8–axes – Axis control 4–axes Servo software Series 90B0 6 (High–speed HRV) – Axis control 6–axes – Axis control 8–axes – Learning controlled Servo software axis control Series 90B3/90B7 – Learning controlled Servo software axis control Series 90B3/90B7 (High–spee
  • Page 234ower off PU not activated after power–up C system loading started by boot system C system started–up and RAM initialization mpleted aiting for system processor ID setting ystem processor ID setting completed splay circuit initialization completed ANUC bus initialization completed ading from flash me
  • Page 235disconnection was found in the optical er cable between the CNC and LCD. ternatively, a printed circuit board on the CD side is defective. a disconnection occurs, the dot of the segment LED is also lit. 6 a disconnection occurs, the display of e LCD unit blinks. n SRAM parity error or SRAM ECC error
  • Page 236SRAM or DRAM parity alarm Servo alarm CPU interrupt or SRAM ECC error PMC system alarm Bus error or non–maskable interrupt Other system alarms arms occurs, the hardware may be defective.
  • Page 237LED display JA40–2: Analog output JA41–2: Serial spindle/position coder 6 CA69B: Servo check 204
  • Page 238(2) Axis control card e Function Remarks –0310 DRAM 16MB –0311 DRAM 32MB –0243 Axis control 2 axes Servo software Series 90B0 –0242 Axis control 4 axes –0241 Axis control 6 axes –0240 Axis control 8 axes –0248 Axis control 4 axes Servo software Series 90B0 –0245 Axis control 6 axes (High–speed –0244
  • Page 239Code A16B–3200–0390 A16B–3200–0391 6 A16B–3200–0352 A20B–3300–0102 A20B–2100–0500 A16B–3200–0460 A16B–3200–0462 A16B–3300–0401 nectors, LEDs, etc. A RISC board has just these LEDs. CD38M/CD38T r 206
  • Page 240de Function Remarks 0–0102 Standard type 0–0401 High–speed type unction een STATUS LEDs and red ALARM LEDs in . The red ALARM LEDs are used also by the een LED turned on) State not turned on. he CNC (1) (Check the cause of the CNC.) rror (Replace the printed circuit board or FROM.) he CNC (5) (Check
  • Page 241eing executed (parameter modification) only) peration is not started yet. (Replace the printed .) (B451 series only) 6 LED) State upply for the processor core on the RISC board ity error occurred on the CPU card. rgency y other pattern if an error occurs in the data 208
  • Page 242For RISC status For RISC and data server For data server status For communication status –up On l: Blink Z: Don’t care Board status Power off Initial state immediately after power–up MPU initialization completed Firmware downloading completed Control transferred to OS OS PHASE 1 OS PHASE 2 OS PHASE
  • Page 243Failure caused by Machine check this board DRAM parity alarm Failure caused by NMI of another another board module 6 Board state T SDRAM parity alarm Failure caused by General invalid this board instruction Invalid slot instruction Failure caused by NMI of another another board module by repeatedly
  • Page 244Specification A16B–2203–0740 LED display JD1A : FANUC I/O LINK CNBK : Brake drive output CNPW : Emergency stop control LED display for I/O alarm CRM1 : DI/DO for loader main body CA69D : Servo check CNTP : DI/DO for loader operator’s panel CNWF : DI/DO for workpiece feeder
  • Page 245card 6 (2) Axis control card Code Function Remarks CNC 300–0291 control 300–0032 4 axes Axis control 300–0033 2 axes 212
  • Page 246Waiting for completion of software initializa- tion 1 Waiting for completion of software initializa- tion 2 Position coder initialized, etc. Waiting for digital servo initialization Initialization completed (steady state) r occurs Description failure occurred. ftware detects the error and stops the
  • Page 2471: RS485 I/F A20B–8100–0336 nectors, LEDs, etc. 6 JNA F–BUS backplane connector he connector is mounted on a serial mmunication board. JD5L: RS232C interface JD6L: RS422/485 interface r occurs j: Off J: On Status he CPU is not yet started (reset state).(*1) DRAM parity error occurred. bus error occu
  • Page 248Code Function Remarks B–3900–0042 System RAM 4MB
  • Page 249JNA F–BUS backplane con- SW1 nector (Up to the PWB03 version) 6 COP7: High–speed serial bus (HSSB) interface SSB communication has been interrupted. RAM parity alarm occurred in the common RAM the board. he common RAM is mounted on this board. The AM is used to exchange information between e CNC and
  • Page 250from the PC or PANEL i. for usual operation. rt menu is not displayed. possible to start boot or IPL from the PC or PAN- C and PC or PANEL i are started independently other without handshake. is available if PC or PANEL i is not turned on or onnected. lay for CNC and MDI or Operation panel etc. eede
  • Page 251The start menu is displayed. It is possible to start boot and IPL from CNC display unit with PC functions or PANEL i. Setting for usual operation. The start menu is not displayed. It is impossible to start boot or IPL from CNC display unit with PC functions or 6 PANEL i. The CNC and CNC display unit
  • Page 252from the PC. for usual operation. rt menu is not displayed. possible to start boot or IPL from the PC. for maintenance. ly, this position is not used. for maintenance. rt menu is displayed when MDI keys <6> and pressed. ssible to start boot or IPL from the PC.
  • Page 253JNA F–BUS backplane connector ng pin TM1 6 Connector CP8B j: Off J: On Status n error occurred in the local bus on this board. n error occurred in the local bus on this board. ternatively, an error occurred on the main CPU ard or another option board. he CPU is not yet started (reset state).(*1) par
  • Page 254Code Function Remarks B–3900–0042 System RAM 4MB Code A20B–8100–0381 nectors, LEDs, etc. JNA Setting pin SH1 F–BUS backplane connector Link–II interface ) Status eased from the reset state and starts operating. starts. This LED is left on until a reset occurs. on is performed. (Actually, this LED ap
  • Page 255ccurs in the DRAM on this board. Link–II board as the master or slave. 6 t Ethernet board Code A20B–8100–0450 A20B–8100–0670 ectors, LEDs, etc. JNA F–BUS backplane connector CD38L : Ethernet interface JNA F–BUS backplane connector CD38R : Ethernet interface 222
  • Page 256Firmware downloading completed Control transferred to OS OS PHASE 1 OS PHASE 2 OS PHASE 3 OS PHASE 4 Start–up completed d up, the LEDs display the pattern of No.10. til an error occurs. an error occurs (green) ly display the LONG and SHORT patterns. longer than the SHORT pattern. Board state T J Fai
  • Page 257Communication status data is received. data is sent. ta collision occurs. 6 Communication status data is sent or received. the Fast Ethernet is successfully connected to ta collision occurs. a connection is made with 100BASE–TX performed while this LED is not lit. A probable the fast Ethernet is not
  • Page 258JNA F–BUS backplane connector Daughter board (other manufacturer) TM1 L: DeviceNet interface Master/slave setting pin error occurs on the daughter board. lit, replace the DeviceNet board. Status his board is set as the master. his board is set as the slave. rd odule/network status LED icates whether
  • Page 259JNA F–BUS backplane connector 6 ROFIBUS interface ) State leased from the reset state and starts operating. wer–up. tion is normally performed. wer–up. board Code A20B–8100–0440 nectors, LEDs, etc. JNA F–BUS backplane connector ROFIBUS interface 226
  • Page 260nfiguration data is received r configuration data is received tion is normally performed. wer–up. larm occurs on this board. Code A20B–8100–0530 nectors, LEDs, etc. JNA F–BUS backplane connector Setting pin TM1 (fixed to B) D38N: FL–net interface arity alarm occurs in the DRAM on the FL–net ay be de
  • Page 261xcept For 10.4I/12.1I A20B–2100–0692 ws95 LCD For 15.0I LCD A20B–2100–0693 nectors, LEDs, etc. 6 CN1B (LCD) *4 CN1 (LCD) CN5 (PCMCIA) CN4 CNP1 (PCI) CNP2 (PCI) (PC Card) CN2B (FDD CD32B CD32A CN2 Power) MOUSE Keyboard (HDD Fan LED (HDD Power) Power) THERMAL THERMAL CNH3 (HDD signal) SW5 CN7 CD34 (FD
  • Page 262CN5 (P CNP1 (P CNP2 (P CN4 (PC Card) (HDD Fan Power) CN2B (FDD CD32B CD32A CN2 Power) MOUSE Keyboard D (HDD Power) THERMAL THERMAL CNH3 (HDD signal) SW5 CD34 (FDD signal) CN7 SW7 in the location indicated by *5 LCD 12.1ILCD 15.0ILCD B– (A20B– (A20B– Fuse for 0– 2100– 2100– mainte- 0, 0781, 0782, nan
  • Page 263shown below. S The CNC unit is not powered. S The optical fiber cable is not connected. S The interface on the CNC side failed. S The CNC display unit with PC functions or the PANEL i failed. 6 Red Indicates a battery alarm. Replace the battery installed in the CNC display unit with PC functions or
  • Page 264r Fan motor Rear of unit JD48 COP7 CD38S Motherboard CN3 CN8 PCMCIA2 Motherboard JD48 COP7 CD38S Use PC side RS232C,USB High–speed optical communication(HSSB) Soft key 24VDC–IN PC side Ethernet(10BASE–T/100BASE–TX) Touch panel Backup unit Video signal interface PCMCIA interface
  • Page 2656 Mother board Code Remarks A20B–3300–0330 10.4I color LCD A20B–3300–0320 A20B–8100–0720 CARD” for the configuration of the CE card. 232
  • Page 266Lights when the unit failed to communicate with the NC over Alarm (Red) LED1 the HSSB. Lights when the unit communi- LED2 cates with the NC over the HSSB. tus (Green) LED3 RESERVE* Flashes while data is being sent LED4 or received over the Ethernet on the PC side. Lights when a link is established i
  • Page 267ot) A02B–0283–B801 A02B–0297–B801 For 18i–MB5 For 180i–MB5 For 180is–MB5 ots) A02B–0283–B803 A02B–0297–B803 For 18i–MB5 6 For 180i–MB5 For 180is–MB5 ot) A02B–0285–B801 ots) A02B–0285–B803 ds of control units awing ID Remarks mber 3200–0420 3x0C 3200–0421 3x0D 3200–0425 3x0E 3300–0310 CPU : 11 DRAM :
  • Page 2683300–0341 – When the embedded Ethernet function is 3300–0361 – used with 21i/210i/210is. 3300–0363 – 3300–0033 00 Applicable servo software : Series 9090 21i/210i/210is, Loader control 3300–0032 01 Applicable servo software : Series 9090 21i/210i/210is, Loader control 3300–0243 08 Applicable servo s
  • Page 2693300–0282 – Graphic function 3300–0302 – Characters only 6 8100–0720 – 3900–0160 FROM : C1 SRAM : 03 3900–0161 FROM : C1 SRAM : 04 3900–0162 FROM : C1 SRAM : 05 3900–0163 FROM : C2 SRAM : 03 3900–0164 FROM : C2 SRAM : 04 3900–0165 FROM : C2 SRAM : 05 3900–0180 FROM : C1 SRAM : 01 3900–0181 FROM : C1
  • Page 2702100–0500 – For data server 8100–0334 1xE1 8100–0335 2xE1 8100–0336 3xE2 8100–0330 0xE0 8001–0730 xxAA 8100–0560 0x1F 8100–0381 xxF9 8100–0450 xxE6 8100–0670 xx96 8100–0491 xxEF 8100–0650 xxBF 8100–0470 xxFC 8100–0440 xxE3 8100–0530 xx59 2003–0270 – 2003–0280 – 8100–0820 – 8100–0710 – 8001–0920 – 80
  • Page 271Drawing Remarks number 20B–2002–0470 DI/DO= 72/56 6 DI=general 16, matrix 56, with MPG interface 20B–2002–0520 DI/DO : 48/32 with MPG interface 20B–2002–0521 DI/DO : 48/32 03B–0815–C001 DI/DO : 24/16 03B–0815–C002 DI/DO : 24/16 with MPG interface 03B–0815–C003 DI/DO : 24/16 03B–0815–C004 DO : 16 (2A
  • Page 27202B–0236–C231 Without MDI 02B–0236–C241 Without MDI 02B–0236–C232 02B–0236–C233 02B–0236–C235 02B–0236–C234 16B–2200–0661 DI/DO : 64/32 16B–2200–0660 DI/DO : 96/64 16B–2200–0731 DI/DO : 64/32 16B–2200–0730 DI/DO : 96/64 16B–2201–0110 03B–0817–C001 Drawing Remarks number A02B–0281–C061 A02B–0281–C066
  • Page 273ries A02B–0166–C261 English keyboard #R A02B–0166–C261 Symbol keyboard #S ries A02B–0166–C271 English keyboard 6 #TR A02B–0166–C271 Symbol keyboard #TS ries A02B–0166–C271 English keyboard #R A02B–0166–C271 Symbol keyboard #S ries A02B–0166–C210 English keyboard #TR A02B–0166–C210 Symbol keyboard #T
  • Page 274A02B–0261–C162 Symbol keyboard #MCS A02B–0261–C161 English keyboard #MCS A02B–0261–C161 Symbol keyboard #MCR Drawing Remarks number A02B–0236–C205 A02B–0236–C204 A13B–0180–B001 A20B–1007–0680 A13B–0154–B001 A02B–0265–C001 A02B–0260–C021
  • Page 275For OS For 10.4I/ A20B–2100– except for 12.1ILCD 0692 Win- dows95 For 15.0I A20B–2100– LCD 0693 uit For OS For A20B–2100– except for Win- 10.4ILCD 0780 6 1 to dows95 For A20B–2100– 12.1ILCD 0781 For A20B–2100– 15.0ILCD 0782 31 to For Win- For A20B–2100– dows95 10.4ILCD 0783 For A20B–2100– 12.1ILCD 0
  • Page 276Ę A08B–0082– A08B–0082– D002 B002 Ę A08B–0082– A08B–0082– D003 B003 Ę Ę A08B–0082– A08B–0082– D004 B004 A08B–0082– A08B–0082– D011 B011 Ę A08B–0082– A08B–0082– D012 B012 Ę A08B–0082– A08B–0082– D013 B013 Ę Ę A08B–0082– A08B–0082– D014 B014 A08B–0082– A08B–0082– D021 B021 Ę A08B–0082– A08B–0082– D023
  • Page 277B045 A13B–0193– B041 A13B–0193– B045 Ę A08B–0082– A08B–0082– D042 B042 6 A08B–0082– B046 A13B–0193– B042 A13B–0193– B046 Ę A08B–0082– A08B–0082– D043 B043 A08B–0082– B047 A13B–0193– B043 A13B–0193– B047 Ę Ę A08B–0082– A08B–0082– D044 B044 A08B–0082– B048 A13B–0193– B044 A13B–0193– B048 A08B–0082– A0
  • Page 278For 15.0I A08B–0082– A08B–0082– LCD H500#6143 H012 For 10.4I A08B–0082– A08B–0082– LCD H511#6138 H020 For 12.1I A08B–0082– A08B–0082– LCD H511#6139 H021 For 15.0I A08B–0082– A08B–0082– LCD H511#6140 H022 For 10.4I A08B–0082– A08B–0082– LCD H512#613D H040 For 12.1I A08B–0082– A08B–0082– LCD H512#613E
  • Page 279A20B–8100–0720 A20B–8001–0920 it A20B–2100–0820 6 Drawing number ys Touch panel A02B–0281–D500 Ę A02B–0281–D501 Ę A02B–0281–D508 A02B–0281–C130#E Drawing number A02B–0236–D100#0C A87L–0001–0173#32MBA A87L–0001–0173#48MBA A87L–0001–0173#64MB A87L–0001–0173#96MB A02B–0281–K801 A02B–0281–K802 246
  • Page 280ure increases, the LCD screen becomes D has a brightness control function. y directly touching the LCD screen. For this FANUC–supplied pen (A02B–0236–K111) If a sharp–pointed pen is used, for example, LCD surface may be flawed or damaged. screen directly with a finger. Otherwise, the eriorate, and t
  • Page 281ing sheet. t, then attach the upper and lower sides of the k that the sides of the protection sheet do not heon. NG 6 and left sides of the protection sheet while etween the touch panel and protection sheet. the protection sheet kept stuck to the touch ot attempt to correct the position of the heet
  • Page 282anel, and check that correct operation takes mpensation equired: aced eplaced trol printed circuit board is replaced #4 #3 #2 #1 #0 CL tion function for the touch panel on the to 1. EM>. enu key several times displays soft key [TP L] displays the touch panel compensation CH PANEL IBRATED POINTS. END
  • Page 283exits from the touch panel compensation stops compensation operation. nsation operation, set PRM3113#5 (DTPCL) NC display unit with PC functions is compen- 6 e program. the touch panel for the is series, select [Start] ol Panel] → [Adjusting Stylus], instead of us- . 250
  • Page 284Basic modu Basic modu Basic modu Basic modu Basic modu Basic modu Basic modu en expansion module 2 is When expansion modules 1 and pped 2 are skipped nd setting method) vided on the location shown below of each nging the setting, turn the rotary switch with tip diameter of about 2.5 mm. otary switch
  • Page 285(When expansion module 1 and expansion mod- ule 2 are skipped) Set the rotary switch of expansion module 3 to setting position = 2. 6 (When expansion module 2 is skipped) Set the rotary switch of expansion module 3 to setting position = 1. Do not change the setting (setting position = 0) of expansio
  • Page 286e PARAMETER WRITE field and enter 1 ess the CAN and RESET keys simultaneously e alarm. on the MDI panel several times to select the ) O1234 N12345 INI ISO TVC 0 0 0 0 0 FCV 0 0 0 0 0 MIR 0 0 0 0 0 0 0 0 0 0 0 0 0 0 0 0 0 0 0 0 0 S 0 T0000 10:15:30 [PMC] [SYSTEM] [(OPRT)] PRT)] displays the operation
  • Page 2873 4 EOB 4 5 6 7 9 9 INPUT is entered, 1234 4567 ³ 7 9999 0 3 4 EOB EOB 9 9 9 ntered, 1234 0 ³ 9999 0 ter the same data. 3 4 EOB = EOB = INPUT is 1234 1234 ³ 1234 0 ers EOB = EOB = INPUT is entered, 0 0 0 0 0 0 1 1 0 0 0 0 0 0 0 0 0 1 1 0 0 0 ³ 0 0 0 0 0 0 1 1 0 0 0 0 0 0 0 0 0 0 0 0 0 0 y parameters
  • Page 288unction . . . . . . . . . . . . . . . . . . (No. 00300 –) . . . . . . . . . . . . . . . . . . . . . . . . . (No. 00801 –) . . . . . . . . . . . . . . . . . . . . . . . . . (No. 00900 –) . . . . . . . . . . . . . . . . . . . . . . . . . (No. 00931 –) nager . . . . . . . . . . . . . . . . . . . . (No.
  • Page 289ular functions . . . . . . . . . . . . (No. 07160 –) sition setting . . . . . . . . . . . . . (No. 07181 –) anel . . . . . . . . . . . . . . . . . . . . . (No. 07200 –) . . . . . . . . . . . . . . . . . . . . . . . . . (No. 07300 –) . . . . . . . . . . . . . . . . . . . . . . . . (No. 07501 –) ixtur
  • Page 290which the range of setting is limited depend- No. er can be input with the setting screen. a bit-type parameter, the explanation written f a slash (/) corresponds to setting 0, and that corresponds to setting 1. e right column in a parameter list shows that rameters are specified for each axis. side
  • Page 291FS15 Tape format (1) returns, remote diagnosis is, not performed This param- eter need not be set when a mo- 7 dem card is used ce position return, M series are used when a reference PRM blished, and positioning is 1005#3=1 reference position is celeration dogs are used at vement command, mirror
  • Page 292n is performed or M198 is AS1/Ethernet or face, OSI Ethernet 2 by FOCAS1/HSSB. n is performed or M198 is AS1/HSSB (port 2). d between the CNC and a in group n (n: 0 to 15) via nk. → Group 1] fi - Transfer Con- n Transfer er rate method nector 02 PRM103 JD36A 12 PRM113 Not set 22 PRM123 JD36B PRM135
  • Page 293) by ISO code, LF, CR, CR erformed to read blocks l the buffer becomes full (1). NC program is stopped by (0)/by pressing the [STOP] EIA code, if NULL code is ALM001 7 ore it (0)/make alarm (1) to CHANNEL 1 is 1 bit (0)/2 bits (1) n a built–in Handy File, is M series s a detail indication (1) or ISO
  • Page 294to CHANNEL 2 PRM101 vices of CHANNEL 2 PRM102 f CHANNEL 2 PRM103 to CHANNEL 3 PRM101 vices of CHANNEL 3 PRM102 f CHANNEL 3 PRM103 0)/With parity bit (1) in protocol B is not olled (1) detection) of RS-232-C (0)/not checked (1) RS-422 interface is used, er clock (1) de except of NC data is ISO e (1)
  • Page 295= CNCPARAM.P–2 CNCPARAM.P–L S–232C of the loader e series information is, not t file name(0)/added to the n function by a memory card PRM20=4 bled(1) 7 Dedicated to the DNC2 interface ecked (0)/not checked (1) ) and TR (RS422) signals t checked(1) onse, a hexadecimal e is added (0)/no error code tio
  • Page 296p bits is 1 (0)/2 (1). When PRM161#4 =1 ms transferred from the PLC ms transferred from the 2). to 15) 0 5 : 38400 7 : 76800 [bps] 0 6 : 57600 ed from the completion of 1–32767 ction preparation sequence [msec] mal sequence ring timer ed from the start of SAI end of BCC transmission e completion of
  • Page 29711 : 9600bps 12 : 19200bps diagnosis ort 1 (Channel 1) ort 1 (Channel 1) ort 2 (Channel 2) ote diagnosis PRM221 7 ote diagnosis PRM222 ote diagnosis PRM223 ote diagnosis PRM211 ote diagnosis PRM212 ote diagnosis PRM213 NC1 interface #2 PRM101 1 interface #2 PRM103 tion between the CNC and ce #2) (1
  • Page 298LINK INK screen is not displayed, nication is, not ted(1) or AnswerEx command is TOLINK, the answer nswer number ”A01.” y answer number ”A01.” (1) lock is, not displayed in splayed in reverse video(1) clock display, years in the PRM810#4 mat are represented, by a 0)/by a four–digit number(1) lock is
  • Page 299acter ided in MDI keys st computer 1 of data server st computer 2 of data server st computer 3 of data server 7 T DNC1/Ethernet or [msec] mark of Microsoft Corporation. ode corresponding to soft ode corresponding to soft ode corresponding to soft ode corresponding to soft 266
  • Page 300Code Special Code character 41 < 60 42 > 62 43 ? 63 44 @ 64 45 [ 91 46 ^ 92 47 ¥ 93 58 ] 94 59 – 95 nager manager ate CNC manager is n displays: one slave r (1) put/output destination t program storage mory card e parameters are output in NC manager function is: ed (1) t system ent crement on linear
  • Page 301when a reference position M series stablished, deceleration ALM90 is issued (1). xis interlock signal is linear positioning, only the pped (0)/all axes are e position is set without 7 tting of the PRM1012#0 is: performed (1) ent M series Least input increment 0.01 mm or 0.01 deg 0.001 mm or 0.001 de
  • Page 302Stored pitch error com- pensation is linear axis type (Refer to PRM3624) tation axis (A type) Machine coordinate val- ues are rounded in 0 to 360_. Absolute coordi- nate values are rounded or not rounded by PRM1008#0, #2. ting is invalid (unused) tation axis (B type) Machine coordinate val- ues, abs
  • Page 303ount of the shift per one on and end point Rotary axis ed by an absolute command control f #1 (0)/the end point presented by the absolute values, and the direction is sign of the specified values 7 of CNC controlled axis (1 to d axes) again tting the reference position PRM s, is, not inhibite
  • Page 304hree axes nor a parallel three axes three axes three axes X axis Y axis Z axis ber for each servo axis (1 to is) rence position return is matic coordinate system is matically (1) when a ate system option is not ue of automatic coordinate PRM1250, 1250 (0)/PRM1250, 1251 1251 rence position ret
  • Page 305d, coordinate system setting T series alarm is issued (1). al coordinate system is not led (1). system setting (G52), a M series n vector is not considered machine zero point shift, 7 rdinate system conversion rnal machine zero point shift d (0)/enabled (1) sional coordinate a modification to the at
  • Page 306machine coordinate system [Increment system] f the fourth reference is in the machine coordinate [Increment system] f the floating reference [Increment system] Set auto- matically f the reference position used ordinate system setting is PRM ut) [Increment system] 1201#1=0 f the
  • Page 307M series) or automatic tool T series)) blocks is checked ) y in the prohibited area at n the conditions of are satisfied), an alarm of k 2 (inside), stored stroke nce check is, not raised t is made(0)/immediately 7 into the range allowed on larm is raised by stored alarm is not canceled ade(0)/the O
  • Page 308on on each axis PRM 1300#2=1 arrier T series ece on the inner surface. ece on the outer surface. claw of a chuck (L) T series [Increment system] claw of a chuck (W) T series [Increment system] part of a claw at which a T series L1) [Increment system] part of a claw at which a T series W1) [Increment
  • Page 309ormed (0)/performed (1) rate override is 0% during machine tool does not stop oving (1) ad cutting and canned cycle ble (0)/disable (1) averse command is, disable volution 7 on command is ineffective der is not provided (0)/ abled(0)/disabled (tied to drate override value is 1% feed (jog feed) is T
  • Page 3101424) (1). lid data range for an F er minute mode 9600 deg/min (1) valid range of the feedrate T series er revolution is: F9.999999 on (0)/F50.000000 inches eration speed in liner ositioning is set in, 1427, for the first axis(1) ith a feedrate (F command) automatic operation, ALM11 d the block is n
  • Page 311nce position return before nce position [mm/min] M series Before a reference After a reference position is set position is set Disabled Enabled Disabled Enabled PRM1420 PRM1420 PRM1428 PRM1420 or PRM1424 *2 7 PRM1424 PRM1424 PRM1428 PRM1423 or PRM1424 PRM1424 *1 with bit 0 of PRM1401 with bit
  • Page 312tion control eration control overlap is not performed (0)/ M series pid traverse is not PRM1722 ormed (1) t deceleration is performed 1) eceleration function is used M series eration control /deceleration before e A (0)/type B (1) ng feedrate change function rner override function is: not eration be
  • Page 313rapid traverse is performed, lination(0)/with a constant ontrol mode, M series eration of rapid traverse is, deceleration(0)/bell–shaped eration(1) ol mode is linear M series eration before look–ahead 7 ll–shaped eration before look–ahead eration control PRM1622 Acceleration/deceleration PRM1
  • Page 314[mm/min] g speed during linear In eration before interpolation advanced [mm/min] preview control mode, hining speed reaches the PRM1770, uring acceleration/ 1771 are interpolation [msec] enabled ion ratio (MDR) of the inner Automatic in automatic corner corner [%] override nize the inner corner in [
  • Page 315eration before interpolation tion/ [mm/min] decelera- tion before interpola- tion (ad- he machining speed vanced um machining speed during preview eration before interpolation control [msec] mode) 7 M series ell–shaped acceleration/ M series eleration time fixed type interpolation [ms] T1 used for l
  • Page 316avel alarm deceleration /deceleration before e check 1) rmining an allowable M series the feedrate is set by [ms] ation applied separately for pid traverse, DRDY alarm trol ready signal VRDY is set ALM404 control ready signal PRDY ted (0)/is not generated (1) position return is performed func
  • Page 3171/1 1/2 1/4 1/8 spindle speed motor speed arameter setting when a followed by another block 7 arameter setting when a followed by another block RM1826 PRM1827 e as rapid (Not used) rse n the next specifies When the next block also eration than cut- specifies cut- ting n rapid When cutting rse is to
  • Page 318ition on the linear scale with g reference marks is ermined by establishing the absolute tection of two reference nsation, the travel direction out consideration of the unt (pitch error, nal machine coordinate nsideration of the unt (FS15 format)(1) ased on the servo motor, a T series sed (0)/not us
  • Page 319he VRDY OFF alarm ignore )/the emergency stop state l load is detected for an axis: PRM1881 ll axes is stopped, and a ut (0)/no servo alarm is ent along only the axes of ng the axis with the opped in interlock mode (1) 7 signal is 1 or the IGNVRYx mand of P
  • Page 320PRM2085 per one rotation of the motor ack pulse per one rotation of motor DMR ear scale with absolute mark et to 1, the scale zero point with absolute addressing , on the negative direction tive direction side.(1) not applied (0)/applied (1). h absolute address linear scale with absolu
  • Page 321arate type)), or ALM421 sition feedback error) is ce position setting remains m enters the reference state (1) ith absolute addressing he automatic setting of , not performed (0)/ 7 automatically set to 0 when ce position return is w control mode, the M series ard function is used (0)/not for each a
  • Page 322ation value used for rapid xis [Detection unit] PRM 1800#4=1 or storing servo trace data here servo trace data is rogram number is 8 digits) onversion coefficient for detection conversion coefficient for detection of the inductosyn yn shift ction alarm timer [ms] n
  • Page 323ting mode is selected for the FMD parameter (bit 0 of ) is set to 0), automatic setting 0)/completed (1) P DSP (0)/one axis uses one 7 face e used between the servo software is, fast type upporting FSSB is, not ule supporting FSSB is, not detector interface unit is, not ate detector in
  • Page 324mber for slave 3 (dedicated screen) mber for slave 4 (dedicated screen) mber for slave 5 (dedicated screen) mber for slave 6 (dedicated screen) mber for slave 7 (dedicated screen) mber for slave 8 (dedicated screen) mber for slave 9 (dedicated screen) mber for slave 10 (dedicated screen) for the fir
  • Page 325nslation table corresponding ond path (ATR) nslation table corresponding ond path (ATR) nslation table corresponding ond path (ATR) nslation table corresponding 7 ond path (ATR) nslation table corresponding cond path (ATR) ack pulse M2023 and 2024 are, PRM2023, multiplied by 10 internally 202
  • Page 326ression function is, not used backlash compensation is, PRM2048 proved (1) nsation is invalidated (0)/ PRM2045 t (0)/offset (1) d zone is, set to 8 ms (0)/set on tion is ineffective (0)/ PRM2068, 2069, 2092 k control function is PRM2083 ctive (1) compensation function is, (1) on
  • Page 327tion invalidated (0)/validated Set the Main axis only t torque polarities are as Set the only the positive polarity to Main axis d outputs only the negative only b–axis (0)/outputs only the to the main axis, and positive polarity to the 7 d tandem control, Set the lidated (1) Main axis only k accord
  • Page 328p (1) ensation amount is added ter of, semi–closed loop (0)/ 1) ching the punch and laser is d (1) e function t torque limit variable Need not d (0)/used (1) changed on eedback function is ctive (1) Rotation/5V 0.9155 min–1/5V 14 min–1/5V 234 min–1/5V 3750 min–1/5V nd mode, a software
  • Page 329remains as is (0)/improved city loop proportional t used (0)/used (1) disable function p time disable function is: d (1) 7 ack signal for the main axis sub–axis (0)/is not shared (1) on ty detector is not used (0)/ k function is not used (0)/ See Chapter 16 tion W
  • Page 330PRM PRM 2000#0=0 2000#0=1 12500 1250 e type of position detector, Setting k pulse/motor one revolution 4 meter No. 2000 is 1, use the value g, by 10, the value used when this bit is 0. position gain is switched PRM 2015#0 velocity enabling integration ed. PRM 2015#1 velocity enabling i
  • Page 331Need not changed Need not changed compensation (PPMAX) Need not changed 7 compensation (PDDP) Need not changed compensation (PHYST) Need not changed force compensation Need not changed pensation (PVPA) Need not changed pensation (PALPH) Need not chang
  • Page 332ilter icient d coefficient ion timing backlash acceleration is pensation ation parameter type current loop gain Need not changed n feedback gain ion counter position feedback ent al position feedback ent constant of
  • Page 333klash acceleration arameter ard coefficient [0.01%] pensation stop parameter pensation coefficient 7 evel sation valid level f the actual current limit applied when an abnormal mal load detection in cutting eceleration time
  • Page 334hrust ripples per magnetic rust ripples per magnetic oefficient 2 ction threshold in rapid eceleration time constant 2 [msec] ard coefficient for cutting [0.01%] ard coefficient for cutting [%] current ersion coefficient See Chapter 16.
  • Page 335 e 2 is not exercised (0)/ type (0)/FAD linear type (1) 7 and T interface, RWD signal out only when the tape wound (0)/ when a program g rewound (1) e and completion signals d B codes are normal (0)/ erride signal, second ignal, and rapid traverse s negative logic (0)/positive nable (0)
  • Page 336rtravel function is used (0)/ return deceleration signal reference position return l is X009, X007 (0)/G196, search signals are N2, PN4, PN8, and PN16 to EPN13 searched using the search function, it is started ation start signal ST (when n (memory operation) is ece number search start r
  • Page 3379.5”/10.4” LCD unit is used s, small keyboard (0)/ When the (1) 7.2”/8.4” LCD unit is used T (CAP-II) keyboard is not T series a monochrome display (0)/ 7 switching, the key buffer is ared (1). reground program in the bled (0)/enabled (1). ns are displayed in the 2-path then tool post 2 (0)/tool con
  • Page 338ed (0)/not considered (1) tive positions, cutter eries) or tool-tip radius eries) is considered (0)/not olute positions, tool length eries) or tool offset (T ed (0)/not considered (1) olute positions, cutter eries) or tool-tip radius eries) is considered (0)/not t displayed (0)/displayed (1) he PMC
  • Page 339, programmed T numbers M series MC T numbers are coordinate system screen, a abled (0)/enabled (1) 7 eter is not displayed (0)/ ition display screen and een, jog feed is not ayed (1) pensation ol wear/geometry Com- character “G”, “W” is pensation t of each number (0)/not memory B nsation screen, the
  • Page 340itor is not displayed (0)/ on the operating monitor e spindle motor (0)/speed of generated, the display shifts n (0)/does not shift (1) is function (servo waveform phic display (0)/servo 1) rnal operator messages is isplayed (1). formation, macro alarm and ssages are recorded (0)/not y log function
  • Page 341T/SETTING> function key e offset/setting screen is he screen is changed (0)/ hanged (1). M> function key is pressed creen is being displayed : ged (0)/the screen is not 7 AGE> function key is message screen is being een is changed (0)/the ged (1). H> or ssed while the user or graph pl
  • Page 342essage is being displayed, rasure is, performed(0)/not ways displayed are r digits(0)/eight digits(1) mation by operating soft key, all clear enable(1) isplay eck screen, the soft key to M series he graph of spindle speed played(0)/displayed(1) screen, spindle position data T series )/ displayed (1)
  • Page 343splay (0)/not displayed (1) screen display, the 02 splay (0)/not displayed (1) screen display, the 03 splay (0)/not displayed (1) screen display, the 04 splay (0)/not displayed (1) screen display, the 05 splay (0)/not displayed (1) 7 screen display, the 06 splay (0)/not displayed (1) screen display,
  • Page 344splay (0)/not displayed (1) screen display, the 21 splay (0)/not displayed (1) screen display, the 22 splay (0)/not displayed (1) screen display, the 23 splay (0)/not displayed (1) screen display, the 24 splay (0)/not displayed (1) lay screen display, the 25 splay (0)/not displayed (1) or current po
  • Page 345n high–precision contour haracter) n high–precision contour haracter) n high–precision contour haracter) n high–precision contour 7 haracter) isplay eed per revolution) for T series rate display displays ate per minute(0)/feedrate ion (during feed per coordinate system setting M series y [INPUT] is,
  • Page 346PRM3197 or longer, an (0)/an alarm 5303 is uch panel is pressed, the This und(0)/the buzzer improveme nt is valid if the hardware is equipped with a separate buzzer. the buzzer sounds, when re on the touch panel pressing of a key is ontinuous pressing on touch PRM [s] 3192#2 n registration by MINP s
  • Page 347mber search, when O.SRH] without inputting y key search the following 0)/operation is invalid (1) s with program numbers ot inhibited (0)/inhibited (1) am is deleted, a age and confirmation soft 7 (0)/output (1) gram number of a protected d (0)/enabled (1) put is performed on a T series ost basis (0
  • Page 348diting, the copy or move med in the usual way(0)/can data from a program to a s of words(1) reen, a search by a cursor 0)/not performed(1) n, offset value erasure by a d(0)/disabled(1) memory check function is: Must not (1) be used ation between two paths, nctions ration between two paths is (1) ten
  • Page 349keys and programs) range (minimum value) range (maximum value) in the AI contour control M series er) 7 in the AI contour control racter) Set in the AI contour control character ter) codes When 0 is in the AI contour control set for all, cter) “AICC” is displayed in the AI contour control er) in the
  • Page 350unit of which MDI is being First unit/1: Second unit t r compensation value with ibited (0)/inhibited (1) metry compensation value ot inhibited (0)/inhibited (1) ables with MDI keys is, not ed (1) origin offset with MDI keys nhibit (1) workpiece origin offset and ue modification are enabled ut from
  • Page 351yed(1) bit map, black and white are ck and white are inverted(1) y is, not ed(1) (Started by pressing about 5 seconds) 7 type oint is omitted in an address, Calculation ement is assumed (0)/the type , or sec. is assumed (1) specified before a G code, T series mined by the modal G code ame block (1).
  • Page 3527, G18, or G19 mode 17 mode (plane XY) 18 mode (plane ZX) 19 mode (plane YZ) turned, the mode is G90 turned on, feed per T series ed per minute mode(1) the CNC with Reset ar state (1) 22 is set (0)/G23 is set (1). n K are not specified for ALM022 n, a linear movement is is issued (1). same address t
  • Page 353s during feed per rotation al output is not used T series tic tool compensation is T series 1/G37.2 (1). chamfering and corner T series K”, “R”, and “C” (0)/“C”, “R”, 7 ds by direct drawing T series ming is normal specification ry angle is given (1) ce to travel, specified by the T series al output,
  • Page 354codes in group 11 are ared (1). codes in group 13 are M series ared (1). codes in group 14 are ared (1). codes in group 15 are M series ared (1). PRM 3402#6=1 codes in group 16 are ared (1). codes in group 17 are M series ared (1). codes in group 18 are M series ared (1). codes in group 19 are M ser
  • Page 355f M code preventing of M code preventing f M code preventing of M code preventing 7 f M code preventing of M code preventing M codes corresponding to 0 to 199 M codes corresponding to 0 to 299 M codes corresponding to 0 to 399 M codes corresponding to 0 to 499 ous function command for the second M s
  • Page 356in an arc command is not ALM058 is raised(0)/an alarm is et to 1, a block including just M series er) is, ignored(0)/not d as a single block(1) er R, and direct drawing hamfering or corner R and T series ension programming are mfering or corner R is rawing dimension abled(1) ble also on the setting
  • Page 357axis(0)/just for the slave 3676–3684 n function setting rror compensation is, not valid if PRM3401#0 is set to ted straightness PRM5700 7 on is added, the function to or later, t straightness 13381 or nterpolated straightness later sation point number for the for each axis Valid data r
  • Page 358(for the fourth spindle) ror (for the first T series t at the spindle) negative or (for the second PRM rried out spindle) 3601#1 ntour e side (for the third hronous spindle) (for the fourth spindle) ror (for the first T series t at the spindle) positive or (for the second PRM rried out spindle) 3601
  • Page 359ial spindle control the serial spindle interface is (1) e is not used (0)/used (1) not used (0)/used (1) PRM 3704#1 function 7 tion function based on an position is not used (0)/ d spindle motor. ol function is used (0)/not T series (2-path control) xternal-setting type O.S.S is not used at the (0)/
  • Page 360)/performed(1) 4831–4834 us spindle control by each PRM ormed(0)/performed(1) 4821–4824 e control, the third or fourth ction signal d(1) ourth spindles, Cs contour PRM1023 rmed(0)/performed(1) e ut condition is such that S PRM output with all S commands 3705#5 n constant surface speed h
  • Page 361gnal of the other tool post, is control) led (1). SLPCA signal SLPCB signal ction is based on M type (0)/ M series PRM 3705#0 ty during spindle orientation 7 ative (1) ity when the spindle speed ity when the spindle speed CWM Volt. polarity 0 M03, M04 = + 1 M03, M04 = – 0 M03 = +, M04 = – 1 M03 = –,
  • Page 362om the spindle speed read is, the spindle specified by ck selection signal e spindle of the path nal SPW (1) nal is on, the detection of SAR signal uation is disable (0)/enable rface speed control (G96 PRM3772 clamp by the maximum p command is carried out, ed override(0)/after spindle or ta
  • Page 363motor speed during spindle gear shift mum spindle motor speed 3 dle motor speed during spindle gear shift mum spindle motor speed 7 eed of the spindle motor M series mum clamp speed of the spindle motor mum spindle motor speed eed of the spindle motor M series mum clamp speed of the spindle motor mu
  • Page 364ol 3703#3 g the third spindle in ol g the fourth spindle in ol the second spindle [min–1] peed for gear 1 of the 2nd [min–1] peed for gear 2 of the 2nd [min–1] ata for the 3rd spindle [0.1%] pensation value for the 3rd the third spindle [min–1] peed for gear 1 of the 3rd [min–1] peed for gear 2 of t
  • Page 365ervo axis when the spindle ervo axis when the spindle o axis whose loop gain is to 2nd group he Cs contour axis is for the 1st 7 spindle ervo axis when the spindle ervo axis when the spindle ervo axis when the spindle ervo axis when the spindle o axis whose loop gain is to 3rd group he Cs contour ax
  • Page 366ervo axis when the spindle ervo axis when the spindle o axis whose loop gain is to 5th group he Cs contour axis is for the 1st spindle ervo axis when the spindle ervo axis when the spindle ervo axis when the spindle ervo axis when the spindle (a series spindle amplifier)] irection of spindle nd the
  • Page 3671) der signal for Cs axis control etection of speed (0)/used der of Cs axis control and te to the same direction (0)/ ction each other (1) 7 DE CSDE Number of 2 T1 pulses 0 360000 p/rev 1 180000 0 120000 1 90000 0 60000 1 40000 0 20000 1 10000 tour control is applied, the ion function is enabled (0)
  • Page 368of rotation at the spindle 1 Direction of rotation immediately before spindle orientation Direction of rotation immediately before spindle orientation The counter-clockwise in view of the motor shaft The clockwise in view of the motor shaft r signal setting (See the r signal setting (See the r signa
  • Page 369nalog override value is 0% % to 120% (1). re transferred from the NC eing used currently is using a motor’s built-in performed (0)/performed 7 e position coder signal of a high-resolution coder and position coder is t detected (1). to the position coder signal )/not detected (1). pattern when no loa
  • Page 3700 256 λ/rev 1 512 λ/rev 0 192 λ/rev 1 384 λ/rev otor poles is 2 (0)/4 (1). um power during eleration (for each model) eleration status ndition (for each model) otor poles is set by bit 3 (0)/ Set 00 usually.) one of current der one-rotation signal is er edge (0)/on the rising s (1). control one-rota
  • Page 371error detection function rd smoothing function is abled (1). trol setting (Usually 0.) r control one-rotation signal function is disabled (0)/ der one-rotation signal error 7 ion is disabled (0)/enabled tation, spindle n, or rigid tapping reference mode, the position coder gnal is not detected again
  • Page 372me (1) [min–1/sec] hod orientation stop position eration time constant when nization is controlled [min–1/sec] spindle synchronization [min–1] the spindle phase controlled [p] chronization compensation [p] r orward factor speed [min–1] gain p proportional gain (High gear) p proportional gain (Low ge
  • Page 373control (High gear) al gain in servo control (Low gear) al gain when the Cs axis is (High gear) al gain when the Cs axis is (Low gear) 7 tation in one revolution of (High gear) [ 100] tation in one revolution of (Medium high gear) [ 100] tation in one revolution of (Medium low gear) [ 100] tation in
  • Page 374n servo mode/synchronous [0 – 4095p] return speed in Cs mode or servo mode [min–1] tion signal detection level value during orientation [%] sition shift amount [%] (Magnetic senser system ustment (Magnetic senser r limit otor power shut-off [msec] eration time setting [sec] g normal rotation [%] g o
  • Page 375[min–1] gizing the motor [msec] e motor output specification [min–1] otor output specification [%] [min–1] 7 ening start velocity [min–1] rtional gain during normal rtional gain when the Cs al gain during normal al gain when the Cs axis is nt loop integral gain rtional gain velocity factor [%] const
  • Page 376time setting [sec] ion factor during atic operation [0.1sec] during automatic operation [min–1] ed value for maximum [%] ero point [min–1] factor during rigid tapping ensating for the phase of the at deceleration e speed detection filter at trol tant of the phase-V current hen the Cs axis is g when
  • Page 377n constant n slip compensation stant for voltage applied to one [%] 7 compensation constant [%] phase compensation [%] e electromotive force [%] ion factor during gain hanging the torque [msec] ero speed [min–1] factor during rigid tapping peed detection level ensating for the phase of the decelerat
  • Page 378between spindle and H no. of teeth on PC) between spindle and W no. of teeth on spindle) between spindle and W no. of teeth on PC) of electromagnetic contactor rride zero level (α series) ing function is used (Sub–spindle)] r can not set) omatic setting by parameter) eed el vel on level el 1 hod ori
  • Page 379rtional gain in the servo rtional gain in the servo p integral gain during normal al gain during orientation 7 al gain in the servo mode g orientation (HIGH) g orientation (LOW) ge ratio when orientation is servo mode (HIGH) servo mode (LOW) n the servo mode rientation completion signal value during
  • Page 380vo mode icient icient in velocity loop between spindle and H no. of teeth on spindle) between spindle and H no. of teeth on PC) between spindle and W no. of teeth on spindle) between spindle and W no. of teeth on PC) or magnetic flux constant (for high–speed e MAIN side) torque constant (for teristi
  • Page 381al gain during normal nt loop integral gain rrent loop proportional gain constant factor for excitation current 7 n constant stant for high–speed rotation stant for voltage applied to one compensation constant on constant of electromotive city factor for electromotive hanging the torque load meter f
  • Page 382g normal rotation e servo mode motor output specifications motor output specifications ening start velocity rtional gain during normal al gain during normal nt loop integral gain rrent loop proportional gain constant factor for excitation current n constant stant for high–speed rotation stant for vo
  • Page 383hod orientation end signal ethod orientation end signal ethod orientation end signal 7 ethod orientation stop nt (MAIN) hod orientation end signal ethod orientation end signal ethod orientation end signal ethod orientation stop nt (SUB) deceleration constant deceleration constant /MEDIUM HIGH) decel
  • Page 384ses of speed detector ses of speed detector (SUB) ge point for spindle dec. time calculation. tion factor of velocity loop tion factor of velocity loop ration/deceleration time e synchronization ction level orward coefficient d command detection level coefficient spindle 1–to–2 speed operation larm
  • Page 385xis of Cs contour control he parking signal is switched ual positioning oning operation including return(1). als for simple spindle ol PKESS1 and > are used (0)/PKESS1 ESS2 are used 7 n two spindles when phase e serial spindle ntrol mode nt for the error pulse les in the serial spi
  • Page 386h spindle under le control detection and fluctuation rate of T series 2 are indicated in 1% steps speed which is assumed to le speed uation ratio for which no n the spindle speed n function uation value for which no n the spindle speed n function when the commanded anged to the start of spindle etec
  • Page 387ltiplier of the spindle for T series ltiplier of the spindle for T series ltiplier of the spindle for T series 7 on in HPCC mode M series internally created by cutter PCC mode, single block 0)/enabled (1). M series nsation A·B (0)/Tool length PRM ) (Move command axis) 5001#1 nsation axis is always Z
  • Page 388/shifting the coordinate 5002#4=0 pensation is compensated oordinate system (0)/by the pensation is not canceled (0)/canceled (1) ted in the T code block (0)/ PRM xis movement (1) 5002#4=1 the valid direction of the r tool-tip radius pecified with a geometry wear offset number (1) metry and wear on
  • Page 389on four–contact input (0)/ (1) d for 4th axis (0)/3rd axis T series T series n, Y-axis offset screen, and .C] is displayed (0)/not 7 offset value and workpiece shift value not use a PRC RC signal (1) put of offset value 0: tomatically select the tool PRM5020 utomatically selects a tool et measuremen
  • Page 390plication of the offset differs ed direction by between 90° (0)/no alarm (1) is issued. g function (G39) in cutter M series ode is disabled (0)/enabled heck and vector erasure of n C (M series) or tool nose on (T series) are, performed 1) compensation C (M series) ALM5257 compensation (T series)) is
  • Page 391een reference position and rface number in the measured T series value direct input B function PRM 5005#5=0 terpolation cycles T series contacting the touch sensor 7 le diameter of the grinding M series ck T series is set to 1, tool offset metry compensation and n are specified by radius of geometry
  • Page 392compensation for grinding–wheel wear M series axis for grinding–wheel n compensation center along nsation plane compensation center along mpensation plane nd compensation center ompensation plane nd compensation center on compensation plane compensation center along nsation plane compensation center
  • Page 393ify a high-speed peck T series ecify a peck drilling cycle (1) PRM5114 sition in drilling canned cycle T series eset (0)/updated by reset rection in which the tool in M series t free rection in which the tool in M series t free 7 7 G18 G19 X +Z +Y X –Z –Y Y +X +Z Y –X –Z 74 and G84, not output T ser
  • Page 394drilling canned cycle (G73) ned cycle (G83) no alarm is is issued (1) mmand format is used, the T sereis ce for pocketing using canned cycle G71 or G72 fication (0)/FS15 rmat is used and if a plane T sereis pecified in the canned cycle ALM028 alarm is, raised (0)/not excluding rigid tapping), an che
  • Page 395repetitive canned cycle G73 ultiple repetitive canned anned cycle G74 and G75 cut in multiple repetitive 7 e in multiple repetitive final finishing in multiple ycle G76 multiple repetitive canned of a small diameter M series torque signal is received in e of a small diameter, the peed are not change
  • Page 396ved [%] ng feedrate to be changed racted after an overload eived [%] cutting feedrate to be tool is retracted without an nal received [%] ercentage of the cutting drilling cycle of a small [%] ro variable to which the total ns during cutting is output ro variable to which the total s because of an o
  • Page 397cancel command is mode is not canceled before et low (0)/canceled (1) anged for rigid tapping, the permitted (0)/permitted (1) traction in rigid tapping is PRM5211 dated (1) igh-speed peck tapping M series ot used (1) PRM5213 le block in rigid tapping are 7 dated (1) e control is used, the spindle T
  • Page 398spindle rotates in reverse tion (1). m the initial point to point R , feed–forward is, disabled vanced preview control is d off during rigid tapping (1) to 1 and rigid tapping is T series er–minute mode, the spindle /1000 of the specified specified speed. feedrate override signal T series ancel sign
  • Page 399th on the spindle side in PRM (first–stage gear) 5200#1 th on the spindle side in (second–stage gear) th on the spindle side in (third–stage gear) th on the spindle side in T series 7 (fourth–stage gear) spindle gear teeth (first–stage gear) spindle gear teeth (second–stage gear) ndle gear teeth (fi
  • Page 400peed in rigid tapping T series ) [min–1] peed in rigid tapping using (first–stage gear) [min–1] eed in rigid tapping using the cond–stage gear) [min–1] peed in rigid tapping using st–stage gear) [min–1] peed in rigid tapping using econd–stage gear) [min–1] /deceleration time constant PRM tapping axi
  • Page 401he spindle and tapping axis T series ion (fourth–stage gear) [ms] p gain of spindle and PRM5281 tapping to 5284 (Common in each gear) p gain of spindle and PRM tapping (first–stage gear) 5280=0 7 p gain of spindle and tapping (second–stage gear) p gain of spindle and tapping (third–stage gear) p gai
  • Page 402ng axis positioning deviation PRM5314 n rigid tapping le positioning deviation n rigid tapping ng axis positioning deviation tapping le positioning deviation tapping viation during movement PRM5310 xis for rigid tapping when 0 is specified rigid tapping T series (first–stage gear) rigid tapping M se
  • Page 403action operation r) [ms] or the spindle and tapping using the second spindle gears) or the spindle and tapping using the second spindle 7 or the spindle and tapping using the second spindle r) or the spindle and tapping using the third spindle gears) or the spindle and tapping using the third spindl
  • Page 404t spindle in rigid tapping [ms] ration/deceleration time t spindle in rigid tapping r) [ms] ration/deceleration time t spindle in rigid tapping [ms] ration/deceleration time M series cond spindle in rigid tapping [ms] ration/deceleration time cond spindle in rigid tapping r) [ms] ration/deceleration
  • Page 4051) g canned cycle during coordinate conversion, ration is performed in, rapid cutting mode (1) or local coordinate system ALM5302 d in coordinate system alarm is issued (0)/an alarm ogrammable mirror image M series 7 validated (1) PRM 5401#0 ion unit is 0.00001 times (0)/ M series M series xis is in
  • Page 4061) opped before or after a with the single direction n, no in–position check is n–position check is n and approach in single g for each axis [Detection unit] olation ontrol interpolation mode, ontrol is not applied (0)/ te interpolation shift function ALM5302 ed (1) pecification for polar ation peci
  • Page 407ction control in the cutter ode, an alarm is issued s executed (1) ol mode, the normal nction is, disabled e insertion of a single block M series e normal direction control 7 g M series t method is conventional PRM nic calculator method (1) 3401#0=0 isplay is not rounded by 360 ed by 360 degrees (1)
  • Page 408e at cutting point for starting orhood override 3 e at cutting point for starting orhood override 4 e at cutting point for starting orhood override 5 starting basic circle ride 2 [%] starting basic circle ride 3 [%] starting basic circle ride 4 [%] starting basic circle ride 5 [%] t during involute
  • Page 409r (group C) (group C) r (group D) (group D) turning flexible 7 de on (group A) turning flexible de off (group A) turning flexible de on (group B) turning flexible de off (group B) turning flexible de on (group C) turning flexible de off (group C) turning flexible de on (group D) turning flexible de
  • Page 410termining the gear ratio for When the ation (group B) exponent of the de- rmining the gear ratio for nominator ation (group C) is k, the termining the gear ratio for gear ratio ation (group C) is: q/(p10k) rmining the gear ratio for ation (group D) termining the gear ratio for ation (group D) enomi
  • Page 411mpensation axis 4 for moving mpensation axis 5 for moving mpensation axis 5 for moving 7 nt number a of moving axis 1 nt number b of moving axis 1 nt number c of moving axis 1 nt number d of moving axis 1 nt number a of moving axis 2 nt number b of moving axis 2 nt number c of moving axis 2 nt numbe
  • Page 412moving axis 2 [Detection unit] esponding compensation moving axis 2 [Detection unit] esponding compensation moving axis 3 [Detection unit] esponding compensation moving axis 3 [Detection unit] esponding compensation moving axis 3 [Detection unit] esponding compensation moving axis 3 [Detection unit]
  • Page 413h is not caused (0)/a h is caused (1) executed, at a normal –speed (1) les for tool compensation M series ose used with FS16 (0)/ tement is executed a h is not caused (0)/a h is caused (1) 7 ro statement, the single PRM lid (0)/valid (1) 6000#7 controlled with the system PRM gle block stop in a macr
  • Page 41497) (0)/using parameter PRM6033 to 6034 of interrupt program is program type (1) rrupt during cycle operation )/performed (1) om macro is not used (0)/ f trigonometric functions results of custom macro d ASIN ATAN = 0 to 360.0 to 90.0 (0)/ATAN = –180 to 0 0.0 to 0 to 90.0 (1) eration command SIN, 1
  • Page 415e program entered in file M198 es a custom macro interrupt PRM 6003#4=1 ates a custom macro macro variables common to 2-path control 7 macro variables common to 2-path control e custom macro of program e custom macro of program e custom macro of program e custom macro of program e custom macro of pr
  • Page 416e custom macro of program e custom macro of program e custom macro of program e custom macro of program e custom macro of program e custom macro of program e custom macro of program e custom macro of program e custom macro of program e custom macro of program e custom macro of program e custom macro
  • Page 417er displayed on pattern data er displayed on pattern data 7 er displayed on pattern data er displayed on pattern data er displayed on pattern data er displayed on pattern data er displayed on pattern data er displayed on pattern data er displayed on pattern data er displayed on pattern data m accele
  • Page 418el 4 (metric input) el 5 (metric input) el 6 (metric input) first stage (for inch input) second stage third stage (for inch input) fourth stage (for inch input) fifth stage (for inch input) sixth stage (for inch input) averse rate d traverse rate raverse rate traverse rate
  • Page 419raverse servo loop gain [0.01sec–1] traverse servo loop gain [0.01sec–1] averse servo loop gain [0.01sec–1] raverse servo loop gain 7 [0.01sec–1] id traverse servo loop gain [0.01sec–1] or bell–shaped eration for first–stage rapid [msec] or bell–shaped
  • Page 420ip signal is not used , high-speed skip is not PRM6202, to 6206 gh-speed skip signal which the rising edge (0)/falling nd automatic eration for G31 skip bled (0)/enabled (1) kip function d skip signal goes on, eration and servo delay are considered (1) d skip signal goes on, eration and servo delay
  • Page 4212 signal is not used (0)/used p, the HD12 signal is not Alternatively, for G31 P1/ 3 signal is not used (0)/used p, the HD13 signal is not Alternatively, for G31 P1/ 4 signal is not used (0)/used 7 p, the HD14 signal is not Alternatively, for G31 P1/ 5 signal is not used (0)/used p, the HD15 signal
  • Page 4223, the SKIP5 signal is not 3, the SKIP6 signal is not 3, the SKIP7 signal is not 3, the SKIP8 signal is not al selection 4, the SKIP signal is not 4, the SKIP2 signal is not 4, the SKIP3 signal is not 4, the SKIP4 signal is not 4, the SKIP5 signal is not 4, the SKIP6 signal is not 4, the SKIP7 signa
  • Page 4230)/used (1). h-speed skip, the HD14 0)/used (1). h-speed skip, the HD15 0)/used (1). h-speed skip, the HD16 0)/used (1). h-speed skip, the HD17 0)/used (1). 7 kip function high–speed skip command, M series 0)/G31.9 is used (1) ition goes beyond the e skip signal position: #5061 to #5068), are not ro
  • Page 424tput umber search put between input of the read signal ESTB and rch, the external program ction, performs a search m a search (1) number search is disabled n is conventional When xtended specifications (1) multiple paths are used, the setting of the first path is employed. g ring interval ring inter
  • Page 425e ace T series andle retrace function, the is clamped, assuming that, is used (0)/an override of 7 andle retrace function, can be performed, in both ard directions (0)/only in the 1) f M code groups and the s in each group. f M code groups and the PRM s in each group. 6411–6490 code group setting an
  • Page 426PRM M code command set in the 6400#2 ackward movement, the M and #3. er can be used to reproduce In this e rotation. table, et, an M code is output as group name (yy) and the number of M codes tion command) (xx) are indicated. nd) used] same group.)
  • Page 427wo tool posts (0)/on one (2-path ol posts (1) control) 1– and X2–axes are not T series placed (1) with each other in (2-path tem specified with control) splay is the actual position to T series adius compensation (0)/ on (1) 7 not appear on the M series rawing or tool path drawing (1) is not enlarge
  • Page 428dynamic graphic display T series a for graphic color number 1 a for graphic color number 2 a for graphic color number 3 a for graphic color number 4 a for graphic color number 5 a for graphic color number 6 a for graphic color number 7 a for graphic color number 8 a for graphic color number 9 a for
  • Page 429a for character color number a for character color number a for character color number a for character color number 7 a for character color number a for character color number a for character color number a for character color number me and number of parts the number of machined PRM6710 by M02, M30
  • Page 430rive signal (TMRON) ON general-purpose [Minute] rive signal (TMRON) ON [msec] f one automatic operation [Minute] f one automatic operation
  • Page 431Tool Group Tool count count count 1–16 1–16 1–16 1–32 1–16 1–32 1–8 1–32 1–8 1–16 1–32 1–16 1–4 1–64 1–4 1–8 1–64 1–8 7 1–2 1–16 1–16 1–4 1–128 1–4 lower row in the table apply series) or 128–(T series) ment–group option is d by the number of times (0) number using a tool group kip (0)/input the gro
  • Page 432usted is displayed. is selected (0) / When the d (1) ool is measured in PRM the life is counted every four 6800#2 second (1) management data is T series ta for all tool groups has ata can be leted for a specified group the extended tool life M series ion is not used (0) / is used ecified in the same
  • Page 433group that is currently not in ared (0)/can be cleared (1) ment data of the tool in use M series e 171 or 172 (tool life rewrite) of the PMC window ration is not performed and normally (0)/clear operation nd completion code 13 is 7 ata for the tool life arrival M series 4#3>, PRM6844 and 6845 lue se
  • Page 434or the absolute position witch signals are output (0)/ ition switches is, up to 10 nals are output, Without ration/deceleration and h considering eration and servo delay (1) ontour control mode, AI PRM de, AI nano–contour control 8501#1=0 d preview control mode, re, not used (0)/used (1) ameter, the
  • Page 435n range of the 5th position n range of the 6th position n range of the 7th position n range of the 8th position 7 n range of the 9th position n range of the 10th position n range of the 11th position n range of the 12th position n range of the 13th position n range of the 14th position n range of th
  • Page 436range of the 9th position range of the 10th position range of the 11st position range of the 12nd position range of the 13rd position range of the 14th position range of the 15th position range of the 16th position omatic operation n, return function ention/return function is ed (1). ased on manual
  • Page 437wed (0)/not allowed (1) pecification cal specification, axis cation is: allowed (0)/not crement setting for jog feed When [Increment system] JGUNIT 7 =1 M series es backwards after feed d feed with the retrace is split at the feed hold (0)/stored without being e acceleration/decelera
  • Page 438M1401#1 (1) ol mode, the G27, G28, 53 commands are al mode (0)/in AI contour ype positioning is specified PRM ol mode and an 1002#4 ock signal is input, the tool s (0)/the setting of M series ol mode, Automatic corner PRM ging both internal and 1602#2 edrates are disabled er override and changing th
  • Page 439/valid (1) nt for manual handle unit, and acceleration/ nterpolation is disabled cceleration/deceleration s enabled (1) andle interrupt travel (0)/valid (1). nual handle feedrate traverse rate, handle pulses 7 d traverse rate are ignored such that the tool is moved ection for rotation direction nera
  • Page 440dle feed, the machine the mode is set or when a (0)/the coordinates 7144 (1) are set as the first rotation axis. ion handle feed and right M series dle feed, the machine the mode is set or when a (0)/the coordinates 7145 (1) are set as the second rotation axis. rrupt during high–speed led (0)/enable
  • Page 441sition setting tance in butt-type reference PRM 1006#5 distance in butt-type PRM setting 1006#5 te in butt-type reference 7 drate in butt-type reference e (common to the first and rations) in butt-type setting n butt-type reference anel not performed on software ) /performed (1) ction is not perform
  • Page 442s and its direction on panel ½ s and its direction on M series panel
  • Page 443character code SIGNAL 2 Sets the character code SIGNAL 3 Sets the character code SIGNAL 4 Sets the character code SIGNAL 5 Sets the character code SIGNAL 6 Sets the 7 character code SIGNAL 7 Sets the character code SIGNAL 8 Sets the character code urpose switch on software urpose switch on software
  • Page 444d the last S, T, and B codes operation, before movement tart point after restart block , and B codes are not M, S, T, and B codes are ce to program restart of the high–speed rol function dedicated to a T series used (0)/used (1). Interpolation period olates the G05 data in 8ms olates the G05 data in
  • Page 445cised (1). function of the high–speed tract function is enabled or ed below function of the high–speed tract function is enabled or ed below Description ables the servo learning 7 tion, after which retract ration starts. ables the servo learning tion upon the completion etract operation. ables the s
  • Page 446[Increment system] ixture offset ic fixture offset M series setting is, movement type hen the fixture offset type (The tool does not ure offset changes.) (1) is set to 0, input of fixture DI keys is, disabled when to 0 or enabled when the )/enabled when signal KEY1 ed when the signal is set to ic fi
  • Page 447on function T series turning, the spindle rotation ersed (0)/reversed (1). turning, the synchronization ion is not reversed (0)/ onization shift direction is not 7602#5=0 sed (1). nization, the second spindle 7602#5=0 7 st spindle is shifted (1). ot stop (0)/stops to set the 7602#5=0 turning, phase
  • Page 448dle–spindle polygon turning T series us axis in spindle–spindle rial spindles of the local path erial spindles of path 1 erial spindles of path 2 erial spindles of path 3 ut io of an axis shift amount to M series ) io of an axis shift amount to and electronic gear box lectronic gear box M series can
  • Page 44932 4 4 threads) = 0 is specified at nchronization started (0)/synchronization nd hob axis are 7 each other, jogging and nd the C–axis are disabled axis servo delay with G84 is ed (1) ear box M series mber of teeth, T, of the ear box is 1 to 1000 (0)/0.1 n executed when an alarm is PRM7750, (0)/enabl
  • Page 4503 PRM 7700#3 M series the retraction function is xis. e (0)/disable (1). traction for each axis [mm/min] M series for each axis [0.001mm] M series raction performed when an [Increment system] M series PRM 7702#3=1 n performed when an alarm [Increment system] M seri
  • Page 451tion made on the α axis and ference position return and Z coordinates tive coordinates are: dated (1) M series st be set when rotation performed in the same 7 opposite direction (1) st be set when rotation performed in the same opposite direction (1) M series on the α axis is exercised posite to tha
  • Page 452) and is specified for a ALM139 xis, an alarm is issued if the y the PMC, the CNC e being valid (0)/an alarm is es for the code of an 12H) command to be output (0 to 65535) (1) ame as CNC (0) / PMC SKIP/ ) ESKIP n/deceleration e of PMC control axis is set pecified by rapid traverse 1 msec (0)/0.1 ms
  • Page 4531). tinuous feed is normal (0)/ (1). long a PMC axis, advanced M series disabled (0)/enabled (1). PRM 1819#7=0 and cutting feed along a M series ced preview control is PRM led (1). 1819#7=0 7 specified when axis ALM139 led, an alarm is issued (0)/ alid for a system not n in-position check is made tr
  • Page 454ck is performed when no issued for the PMC axis heck is always performed control command is issued de, the mirror image is, not sidered (1) tion for each axis during te at reference position ol by PMC (FL) PRM1425 [Increment system] rapid traverse override in C (Fo) [Increment s
  • Page 455ntil an offset number other by the next T code erence between tool posts is g to the previously specified interference (two–path ool post is checked (0)/is not manual operation mode interference (two–path ool posts is checked (0)/is 7 interference along the Z axis T series ot checked (1) X–axis from
  • Page 456es for the path being her path subject to mixed dinates along the X–axis for PRM ect to mixed control are 8160#0 gn as is (0)/inverted (1) es along the Z–axis for the PRM to mixed control are fetched 8160#0 (0)/inverted (1) is issued from an axis tion, composite, or rol, synchronization, rposition c
  • Page 457, ive, and machine t updated (0)/ elative coordinates are hine coordinates are not ror–image control is not (1) ontrol is started, the 7 ate system is not set et automatically (1) ontrol is terminated, the ate system is not set (0)/set ol is applied, the coordinate r the relevant axes remains pplyin
  • Page 458nsidered (0)/considered (1) kpiece coordinate system PRM d when composite control is 8162#4 ece coordinate system is in the same way as normal e system of the other path composition is used (1) kpiece coordinate system PRM d when composite control is 8162#5 piece coordinate system is in the same way
  • Page 459ion motor, set it in the local hich an axis is synchronized control T series (2-path ror limit of each axis control) [Detection unit] hronization error of an axis 7 [Detection unit] ite control in path 1 n axis of path 2 reference point of an axis ystem of another axis under [0.001mm] ates at
  • Page 460d as, coordinates in the system (0)/coordinates in dinate system (1) control is enabled, the PRM1324, he area for stored stroke 1325 d as, coordinates in the system (0)/coordinates in dinate system (1) on type rapid traverse, the PRM ction for inclined axis control 1401#1=1 bled (1) are, in the orde
  • Page 461T series offset value is used for each 2-path B-axis offset value is control posts (1). tion with the B–axis control 002#6 and #7 are, valid 7 for B-axis control T series ng the start of first program ng the start of second (G102) ng the start of third program tool offset cancellation canned cycle G
  • Page 462e system shift function for ot used (0)/used (1) 1815#4) is turned off for one synchronous control, APZx nder simple synchronous d off (0)/turned off (1) s control M series nous control, automatic sitioning is disabled (0)/ nous control, automatic sitioning is not started (0)/ nous control, t
  • Page 463aster axis for Master axis for e fourth axis the third axis aster axis for Master axis for e sixth axis the fifth axis aster axis for Master axis for e eighth axis the seventh axis the master axis for the 7 axis is the second axis, set , 00, and 00. xis number (1 to 8) of the xis for each axis. age
  • Page 464ubject to check termination subject to check termination here collation is to be 8–digit program number is M series erride for a section from the the R point is determined as e is enabled (0)/ averse override is enabled the chopping axis is per or lower dead point he feedrate change d (0)/at the upp
  • Page 465[mm/min] g feedrate [mm/min] sation scaling factor [%] t tolerance [Increment system] permissible for starting M series 7 [Increment system] PRM 8361#0 cision contour control by RISC (HPCC) termining a linear M series eration before interpolation termining a linear M series eration before interpolat
  • Page 466SG0 STG HG0 (8403#7) (8404#0) (8404#1) 0 0 – 1 0 – Must be 1 1 set to 1 ter is set, fine eration for rapid traverse in abled. e axis–by–axis interlock bled (0)/enabled (1) movement time (for HPCC) M series [ms] d of the deceleration M series nce with the block PRM8406 r HPCC) [Increment system] diff
  • Page 467control M series . . precision contour control for the functions of abled (0)/enabled (1) utomatic feedrate control M series 7 e feedrate for automatic M series rmining allowable M series city calculation considering [msec] control M series celeration at corners. omatic velocity control PRM8470 rati
  • Page 468polation is disabled (0)/ ontour control (HPCC) ewriting using the PMC (0)/enabled (1) ontour control (HPCC) rpolation is disabled (0)/ es (1) smooth interpolation stance of a block where M series n is applied [Increment system] oth interpolation is turned M series [0.1deg] If a value of 0 is set, t
  • Page 469ed position switch is, ed (1) peed position switch is, ed (1) ed position switch is, ed (1) 7 eed position switch is, ed (1) d position switch is, ed (1) ed position switch is, ed (1) speed position switch is, ed (1) eed position switch is, ed (1) ed position switch is, ed (1) eed position switch is
  • Page 470the fourth high–speed normal (0)/decision by the fifth high–speed position 0)/decision by direction (1) the sixth high–speed normal (0)/decision by the seventh high–speed normal (0)/decision by the eighth high–speed normal (0)/decision by the ninth high–speed normal (0)/decision by the tenth high–sp
  • Page 471tion in which the third PRM8580 n switch is turned on is, – to 8587. tion in which the fourth n switch is turned on is, – tion in which the fifth n switch is turned on is, – 7 tion in which the sixth n switch is turned on is, – tion in which the seventh n switch is turned on is, – tion in which the
  • Page 472tion in which the third PRM8590 n switch is turned off is, – to 8597. tion in which the fourth n switch is turned off is, – tion in which the fifth n switch is turned off is, – tion in which the sixth n switch is turned off is, – tion in which the seventh n switch is turned off is, – tion in which t
  • Page 473to the fourth high–speed to the fifth high–speed to the sixth high–speed to the seventh high–speed 7 to the eighth high–speed to the ninth high–speed to the tenth high–speed the operation range of the PRM sition switch or position 8508#0 –speed position switch is [Detection unit] the operation range
  • Page 474the operation range of the PRM osition switch or position 8509#0 h–speed position switch is [Detection unit] the operation range of the PRM osition switch or position 8509#1 h–speed position switch is [Detection unit] he operation range of the PRM sition switch or position 8508#0 –speed position swi
  • Page 475age executor des are not passed to the sed to the application (1). sued while the C executor 7 layed, the screen is to PRM3111#7 (0)/is not age executor is used, the f the MDI keys (9 to 11 0)/read (1) age executor is used, 2–C is, not made as DMA as DMA transfer (1) age executor is used, the bit Us
  • Page 476i T (CAP II) is provided, 1 T series ram upload program uploading in est using the data window ot output (0)/ ”LF+%” is MAP, for example, is mplete file is not deleted ernal state of the CNC is not t (0)/reported to the host FOCAS1/HSSB ring DNC operation with Normal operation eration (1) peed opera
  • Page 477isplayed (1) ry history screen displays the PRM path (0)/the selected path 3103#2 n the periodic maintenance 7 ctive lives [%] e 1 e 2 e 3 e 4 e 5 e 6 e 7 e 8 e 9 e 10 is turned on, the characters to Z, negative sign, period, de is converted to a space.) 444
  • Page 478(1) P Program Built–in M stored macro #0) on tape program Alarm Alarm Alarm Overwrite Overwrite Alarm Overwrite Overwrite program referencing or abled t Reference  f f cro program number cro program number for embedded macro Used as a password when an FROM file is saved, and used as a keyword in ot
  • Page 479embedded macro (third set) r embedded macro (third set) nt for embedded macro (third set) embedded macro 7 (fourth set) r embedded macro (fourth set) nt for embedded macro (fourth set) embedded macro (fifth set) r embedded macro (fifth set) nt for embedded macro (fifth set) embedded macro (sixth set
  • Page 480embedded macro (ninth set) r embedded macro (ninth set) nt for embedded macro (ninth set) embedded macro (tenth set) r embedded macro (tenth set) nt for embedded macro (tenth set) mbedded macros number = 100, program , and the number of G 100 to G104 correspond 004. are used and a G code urs, a youn
  • Page 481the operation range of the PRM ed position switch or 8509#4 thirteenth t high–speed rned on [Detection unit] the operation range of the PRM eed position switch or 8509#5 fourteenth high–speed rned on [Detection unit] 7 the operation range of the PRM d position switch or position 8509#6 high–speed po
  • Page 482y signal (03) symbol table for selecting y signal (04) symbol table for selecting y signal (05) symbol table for selecting y signal (06) symbol table for selecting y signal (07) symbol table for selecting y signal (08) symbol table for selecting y signal (09) symbol table for selecting y signal (10)
  • Page 483selected as an operation selected as an operation selected as an operation selected as an operation 7 selected as an operation selected as an operation selected as an operation selected as an operation selected as an operation selected as an operation selected as an operation selected as an operatio
  • Page 484(05) (06) (07) (08) (09) (10) (11) (12) (13) (14) (15) (16) (17) (18) (19) (20) 0 are used to set signal data for storing istory. When bit 4 of PRM3206 is set to he operation history signal selection e parameters to enable parameter nal selection screen allows easy setting ter screen. including sign
  • Page 485n screen is, displayed (0)/not ightness compensation ness compensation point at PRM point of moving axis 1 3605#2 PRM5700 ness compensation point at or later 7 point of moving axis 2 ness compensation point at point of moving axis 3 ness compensation point at point of moving axis 4 ness compensation
  • Page 486oup A (1) p B move direction (second ection of the second axis in n group B is, the same as of moving plane in group A of the second axis in the oup A (1) tion of rotation of the ating group A : rotation of the rotation axis , the direction of rotation irection of the first axis in the second axis i
  • Page 487he first axis of rectangle 2 in [Increment system] the second axis of rectangle [Increment system] he second axis of rectangle [Increment system] the first axis of rectangle 3 7 [Increment system] he first axis of rectangle 3 in [Increment system] the second axis of rectangle [Increment system] he s
  • Page 488he second axis of rectangle [Increment system] the first axis of rectangle 3 [Increment system] he first axis of rectangle 3 in [Increment system] the second axis of rectangle [Increment system] he second axis of rectangle [Increment system] the first axis of rectangle 4 [Increment system] he first
  • Page 489he first axis of rectangle 3 in [Increment system] the second axis of rectangle [Increment system] he second axis of rectangle [Increment system] the first axis of rectangle 4 7 [Increment system] he first axis of rectangle 4 in [Increment system] the second axis of rectangle [Increment system] he s
  • Page 490ecision contour control, the at which the allowable and acceleration for each ded is used (0)/the at which the allowable and acceleration for each ded is used. The feedrate is the decreased feedrate is s of the move direction the same (1) no high–precision contour M series eration for rapid traverse
  • Page 491utting point compensation in the cylindrical l interpolation cutting point M series e cylindrical interpolation to perform cylindrical g point compensation in the ation command (G07.1) 7 igh–precision contour perform (1) when the cylindrical PRM g point compensation 19534 utting point compensation i
  • Page 492celeration/deceleration [0.01%] celeration/deceleration during movement in + M series eration) [0.01%] To be set as the ratio celeration/deceleration to a refer- during movement in + ence ac- eration) [0.01%] celeration value. celeration/deceleration PR1773 during movement in + and 1620 erati
  • Page 493during movement in + and 1620 eration) [0.01%] are used to set a celeration/deceleration reference during movement in + accelera- eration) [0.01%] tion value. celeration/deceleration When 0 is during movement in + eration) [0.01%] set in the 7 above, celeration/deceleration 1000 during movement in +
  • Page 494–axis control mode) (1) namic fixture offset function CNC (0)/executed on the –axis control mode) (1) tem rotation function is, NC (0)/executed on the –axis control mode) (1) onal coordinate conversion ed on the CNC (0)/executed ssor (5–axis control mode) sation C function is, NC (0)/executed on the
  • Page 495for the rotation axis for cutter compensation [deg] r the rotation axis for M series cutter compensation [deg] r the rotation axis for M series cutter compensation 7 [deg] r the tool axis in the plane M series es 2 and 3 (RA) [deg] r the tool axis in the plane es 3 and 1 (RB) [deg] the block as a M
  • Page 496of a rotation axis [deg] M series mpensation vector in tool on along tool axis M series st rotation center to the nter) [Increment system] pensation vector in tool on along tool axis M series [Increment system] ool length compensation M series nt control n tool length compensati
  • Page 497was input). Correct the program or tape. TV alarm (The number of characters in a block is odd). This alarm will be generated only when the TV check is effective. Data exceeding the maximum allowable number of digits was input. (Refer to the item of max. programmable dimensions.) A numeral or the sig
  • Page 498tively, no axis movement command or an axis movement command for two or more axes has been specified in the block con- taining the command for skip using the torque limit signal (G31). The command must be accompanied with an axis move- ment command for a single axis, in the same block. In circular i
  • Page 499A point of intersection cannot be deter- mined for cutter compensation C. Modify the program. A point of intersection cannot be deter- mined for tool nose radius compensation. Modify the program. The start up or cancel was going to be per- formed in the G02 or G03 mode in cutter compensation C. Modi
  • Page 500compensation. Two or more blocks are consecutively specified in which functions such as the auxiliary function and dwell functions are performed without movement in the tool nose radius compensation mode. Modify the program. D IN Tool offset (G45 to G48) is commanded in cutter compensation. Modify t
  • Page 501was specified. For systems with this fea- ture, a comma was followed by something other than R or C Correct the program. In the chamfering and corner R commands, two or more of I, K and R are specified. Otherwise, the character after a comma(“,”) is not C or R in direct drawing dimensions programmin
  • Page 5025. A negative value is specified to ∆d, though the relief direction in G74 or G75 is determined. 6. Zero or a negative value is specified to the height of thread or depth of cut of first time in G76. 7. The specified minimum depth of cut in G76 is greater than the height of thread. 8. An unusable an
  • Page 503An attempt was made to register a program whose number was protected. ED Address P (program number) was not com- manded in the block which includes an M98, G65, or G66 command. Modify the program. G The subprogram was called in five folds. Modify the program. A program number or a sequence number wh
  • Page 504OR When entering data in the memory by using Reader / Puncher interface, an overrun, parity or framing error was generated. The number of bits of input data or setting of baud rate or specification No. of I/O unit is incorrect. When entering data in the memory by using Reader / Puncher interface, th
  • Page 505piece offset amount changed.) Perform the correct operation. P type cannot be specified when the pro- gram is restarted. (After the automatic op- eration was interrupted, the workpiece off- set amount changed.) Perform the correct operation. P type cannot be directed when the pro- gram is restarted.
  • Page 5062. The cycle connection data value is out of the allowable range (0 – 999). 3. The number of data in the header is out of the allowable range (0 – 32767). 4. The start data variable number of executable format data is out of the al- lowable range (#20000 – #85535). 5. The last storing data variable
  • Page 507alarm message or external operator mes- sage. Check the PMC ladder diagram. The index table indexing positioning angle was instructed in other than an integral multiple of the value of the minimum angle. Modify the program. Without any spindle orientation in the spindle positioning function, an atte
  • Page 508cified as the life count type in the extended tool life management. Tool Group No. exceeds the maximum al- lowable value. Modify the program. The tool group commanded in the machin- ing program is not set. Modify the value of program or parameter. The number of tools within one group ex- ceeds the m
  • Page 509command. Modify the program. G68 and G69 are not independently com- manded in balance cut. Modify the pro- gram. Incorrect tool figure data in interference check. Set correct data, or select correct tool figure data. ND Conditions when performing circular inter- polation start or cancel not correct.
  • Page 510G83 (C axis servo lag quantity offset) was instructed though synchronization by G81 has not been instructed. Correct the pro- gram. G83 was instructed before canceled by G82 after compensating for the C axis ser- vo lag quantity by G83. Modify the pro- gram. A command not to be instructed during syn
  • Page 511ID In the rigid tap, position for a rigid M code (M29) or an S command is incorrect. Modify the program. ON In the rigid tap, an axis movement is speci- fied between the rigid M code (M29) block and G84 or G74 for M series (G84 or G88 for T series) block. Modify the program. 1. Although a rigid M co
  • Page 512axis. 3) The program issued the automatic ref- erence position return command with- out specifying the manual reference position return after the power was turned on. 4) The difference between the position er- ror amount of the master and slave axes exceeded the value specified in PRM8313. A move co
  • Page 513synchronous, composite, or superim- posed control is made. Modify the program or the parameter. A travel command has been sent to the axis being synchronized in synchronous mode. Modify the program. This alarm is generated in the following cir- cumstances. 1 When the synchro/mixed state could not be
  • Page 514S The number of rotations between the start of the involute curve and the start or end point exceeds 100. The end point is not on the involute curve which includes the start point and thus falls outside the range specified with PRM5610. In the skip function activated by the torque limit signal, the
  • Page 515G08P0; to cancel advanced preview con- trol mode, before executing these G05 commands. DE The specified code was incorrect in the high–precision contour control (HPCC) mode. There is an invalid parameter. (HPCC) High–precision contour control is not ready. (HPCC mode only) NE The number of words spe
  • Page 516IN While the machine was moving about the B–axis, at attempt was made to register another move command. Commands for movement about the B– axis were not registered because of insuffi- cient program memory. Multiple movements were specified with the G110 code for the B–axis. A feedrate was not specif
  • Page 517block. A G68.1 command block contains a format error. This alarm is issued in the following cases: 1. I, J, or K is missing from a G68.1 com- mand block (missing coordinate rota- tion option). 2. I, J, and K are 0 in a G68.1 command block. 3. R is missing from a G68.1 command block. The parameter se
  • Page 518N There is a parameter setting error. PRM5641 (setting of the linear axis) is not set. The axis set in PRM5641 is not a linear axis. PRM5642 (setting of a rotation axis) is not set. The axis set in PRM5642 is not a rotation axis. The linear and rotation axes cannot be con- trolled by the CNC. (The v
  • Page 519command (G31.9) has one of the following errors: 1. A move command is specified for the EGB axis (workpiece axis). 2. More than one axis is specified. 3. P is not specified. 4. The specified Q value exceeds the al- lowable range. Correct the program. The P data in selection of the grinding– wheel we
  • Page 520rank. No knot is specified. The knot specification has an error. The number of axes exceeds the limits. Other program errors There is a program error in a block under advanced previee control. Monotone increasing of knots is not ob- served. In NURBS interpolation mode, a mode that cannot be used tog
  • Page 521OT In automatic setting mode, axis setting has not been made yet. Perform axis setting on the FSSB setting screen. Servo initialization did not terminate nor- mally. The optical cable may be defective, or there may be an error in connection to the amplifier or another module. Check the optical cable
  • Page 522There is a parameter setting error. Check that 4 is set as the I/O channel (PRM20). The memory card cannot be used. Check OR the memory card. (Check whether the memory card is write–protected or defec- tive.) Data transfer to the memory card failed. Check whether the memory card space is insufficien
  • Page 523File. A floppy disk in the built–in Handy File can- not be read from. The floppy disk may be defective, or the head may be dirty. Alter- natively, the Handy File is defective. A floppy disk in the built–in Handy File can- not be written to. The floppy disk may be defective, or the head may be dirty.
  • Page 524power again. In a one–touch macro call, mode switching at the time of activation is not performed correctly. In the following function, internal data ex- ceeds the allowable range. 1) Improvement of the rotation axis fee- drate A connection related to FSSB is illegal. This alarm is issued when eithe
  • Page 525point are in parallel. · When a three–dimensional tool com- pensation vector is created at the end point of smooth interpolation or spline interpolation, the end point and the point two points before are the same. N The parameter setting that determines the relationship between the rotation axis and
  • Page 526mode, a rotation axis is specified. As a result of pivot tool length compensa- tion, an attempt was made to move the tool along an axis at a feedrate exceeding the maximum cutting feedrate. E The offset number is incorrect. In a modal state in which three–dimension- al circular interpolation cannot
  • Page 527tion (side–face offset and leading– edge offset) is applied during cutter compensation, or cutter compensation is applied during three–dimensional cutter compensation (side–face offset and leading–edge offset). 2) A leading–edge offset of three–dimen- sional cutter compensation is applied during sid
  • Page 528correctly. edit is displayed in the key input line of the en instead of the ordinary alarm screen and f the MDI key operation. er (APC) alarms Contents gin Manual reference position return is re- quired for the nth–axis (n=1 to 8). nth–axis (n=1 to 8) APC communication er- ror. Failure in data trans
  • Page 529APC) alarms larms is issued, a possible cause is a faulty Contents A checksum error occurred in the built–in pulse coder. A phase data error occurred in the built–in pulse coder. A rotation speed count error occurred in the 8 built–in pulse coder. A clock error occurred in the built–in pulse coder.
  • Page 530ulse coder is defective. Replace it. der was supplied with power for the first time. hat the batteries are connected. wer off, then turn it on again and perform a sition return. ulse coder is defective. Replace it. ulse coder or feedback cable is defective. serial pulse coder or cable. voltage is lo
  • Page 531The combination of the axis control card and servo software is illegal. The possible causes are as follows: · A correct axis control card is not pro- vided. · Correct servo software is not installed on flash memory. XIS Even though the n–th axis (axis 1–8) READY signal (MCON) went off, the servo amp
  • Page 532The possible causes are indicated below. (See DGN280.) 1) The value set in PRM2020 (motor form) is out of the specified limit. 2) A proper value (111 or –111) is not set in PRM2022 (motor revolution direc- tion). 3) Illegal data (a value below 0, etc.) was set in PRM2023 (number of speed feedback pu
  • Page 533SVM: The control power supply voltage has dropped. DC SVM: The DC link voltage has dropped. The digital servo software detected the soft thermal state (OVC). PSM: Overcurrent flowed into the input cir- R cuit. L 1) SVM: The motor current is too high. 2) α series SVU: The motor current is too high. 8
  • Page 534the pulse coder. P The current control cycle settings (PRM2004, 2003#0, and 2013#0) are in- correct. Possible problems are as follows. – For the two axes whose servo axis numbers (settings of PRM1023) are an odd number followed by an even num- ber (a pair of axes 1 and 2 or axes 5 and 6, for example
  • Page 5353. High–speed interface axis (PRM2005#4=1) R Use of high–speed HRV is specified for a controlled axis of an amplifier which does not support high–speed HRV. 0 to 467 occurs, investigate the cause of the opriate action, as described in the mainte- 8 rm are displayed in the diagnosis display as shown
  • Page 536pulse error has occurred because the ble is defective. icates that serial pulse coder C is defective contactor contact in the servo amplifier has onversion error has occurred in the digital nually move the machine in the direction the machine was moving when the alarm larm.) Contents Exceeded the n–
  • Page 537Contents DC link current is too large. The external dissipator stirring fan failed. The servo amplifier was overheated. 8 The IPM (intelligent power module) detected an overheat alarm. Communication between the SVM and the PSM failed. PSMR: Regenerative power is too large. PSM: The external dissipat
  • Page 538Alternatively, a rigid tapping synchronization er- ror exceeding the setting occurred. (PRM5214, etc.) An LSI overflow has occurred for the spindle dur- ing rigid tapping. s Contents It is serial communication error while system is executing after power supply on. Following rea- sons can be consider
  • Page 539tected. Refer to ALM752.(For 2nd axis) Same as ALM754 (for the second spindle) Same as ALM752 (for the third spindle) Same as ALM754 (for the third spindle) 8 Same as ALM752 (for the fourth spindle) Same as ALM754 (for the fourth spindle) 750 are indicated by DGN409 and 439. #4 #3 #2 #1 #0 SPE S2E S
  • Page 540d spindle is normal during the spindle serial startup. d spindle was detected to have a fault during dle axis serial control startup. rth spindle is normal during the spindle serial startup. urth spindle was detected to have a fault he spindle serial control startup. spindle serial control, the seri
  • Page 541The motherboard or CPU card may be faulty. An error occurred in RAM for part program stor- age. Replace the SRAM (SRAM/FROM module), per- form all–clear operation, and set all parameter and other data again. An error occurred in the PMC. For details of PCxxx, see the list of system alarm messages in
  • Page 542inted circuit board. educe the sequence The sequence program ogram. is too large. ontact FANUC to The sequence program ave a larger num- is invalid. er–of–Ladder–steps ption specified. educe the sequence The sequence program ogram. exceeds the size ontact FANUC to specified by the ave a larger num-
  • Page 543and OPTION do not match.) ct FANUC. Install The PMC C language ystem software cor- board management . software is invalid. (The series of BASIC and OPTION do not match.) ct FANUC. Install The PMC management ystem software cor- software is invalid. . (The editions of BASIC and OPTION do not match.) 8
  • Page 544software. (The edition of PMCAOPT does not match.) ontact FANUC to re- The initialization of the onfigure the PMC PMC management anagement soft- software failed. are. Replace the master inted circuit board. y the sequence pro- An out–of–range . Change the param- parameter number is number of the fun
  • Page 545invalid. (CH1: Primary board, CH2: Secondary board) nfigure the I/O Link– The I/O Link–II mode setting is invalid. (CH1: Primary board, CH2: Secondary board) nfigure the I/O Link– The I/O Link–II station number setting is invalid. (CH1: Primary board, CH2: Secondary board) heck whether the The numbe
  • Page 546transferred.) start a user task that When a PMC C been stopped, stop language board is used, sequence program a user task has been hen execute it again. stopped due to a break by a debug function. y the sequence pro- For a subprogram call so that the subpro- with the function nesting level is eight
  • Page 547ge the GDT table in When a PMC C uild file to 32 (20H) to language board is used, FH). the user task entry address selector is out of range. ge the DATA SEG- When a PMC C T GDT ENTRY value language board is used, e link control state- the data segment entry and the GDT table in address is out of ran
  • Page 548m parameter, MAX ADDER AREA SIZE, a minimum. hange the stack size the link control state a minimum. heck the types sup- When a PMC C orted by the library. language board is used, econfigure the PMC library functions cannot anagement soft- be executed. are and contact FA- UC. heck that the ad- When a
  • Page 549command was generated. e–input the PMC C When a PMC C nguage program. language board is used, eplace the master an unusable C language inted circuit board. program is input. n the PMC system When a PMC C arameter screen, language board is used, ick [ORIGIN]. the PMC parameter, et the PMC system LANG
  • Page 550oard, contact FA- UC with the status formation (such as e displayed mes- age, system configu- tion, operation, hen the error occurs, nd error occurrence equency). eplace the master A RAM parity error oc- inted circuit board. curred in the PMC. an error still occurs aa and bb indicate inter- ter repl
  • Page 551e displayed mes- age, system configu- tion, operation, hen the error occurs, nd error occurrence equency). k the matching be- A stack error occurred the CALL/CALLU during execution of lad- ction and SPE der function instruction ction. CALL/CALLU. eplace the master An NMI of unknown ori- inted circui
  • Page 552e displayed mes- age, system configu- tion, operation, hen the error occurs, nd error occurrence equency). eplace the master The reading/writing of a inted circuit board. signal between the CNC an error still occurs and PMC failed. ter replacing the aster printed circuit oard, contact FA- UC with th
  • Page 553ct FANUC. i80486. For details, refer to the relevant manual that describes the CPU. 00 Division error. For ex- ample, the divisor in a di- vision instruction is 0. 12 Stack exception caused by, for example, stack segment limit violation 13 General protection ex- ception generated when, for example,
  • Page 554occurred A parity error occurred in system ROM on the C language board. eeeeeeee : ROM parity error information or EDIT: PMC–SB7) e selection monitor function is used lty location/ Contents ective action n address used The specified address is write coil. not used with the write coil. fined symbol o
  • Page 555f them are unnec- Plural CTRs have the same emove them. If all number as their parameter. are necessary, as- (This is warning.) er number to pa- of them to make que. (If two or more ns with same pa- number will never simultaneously at , the Ladder pro- s a possibility to ectly, however, it is nded f
  • Page 556osition. If the JMP responds to this JMP. essary, remove it. d corresponding JMP and corresponding must have same JMPE have different COM/ ME status. Re- COME status. P range and COM adjust not to over- ach other: it is pos- t one range in- e other complete- nd corresponding COME is found between st
  • Page 557gram to level 2. If level 2. C is unnecessary, t. If another LBL of address that the intended to jump the subprogram, ifferent L–address two LBLs. If it e JMPB or JMP, . JMPC must be lo- JMPC jumps to LBL be- t of any COM and tween COM and COME. air. If the JMPC is 8 sary, remove it. If is located w
  • Page 558simultaneously at , the Ladder pro- s a possibility to ectly, however, it is nded from safety tenance points of t all these instruc- uld have different r number with er.) essary, remove it. TMRB has parameter num- orrect number not ber that is out of range. ed the maximum defined by each del. f them
  • Page 559is located wrong, SP is found in level 3. correct position. If s unnecessary, re- ng net editing of the PMC ladder diagram lty location/ Contents ective action functional instruc- Too many functional owed to constitute instructions are in one net. 8 necessary, divide to plural nets. he net into plur
  • Page 560that is expected to There is signal connected ected, and correct to nowhere. ection. every connection, Net is too complicated to d unnecessarily analyze. connection, or are connected to point. of the relay ad- Relay with blank address, and parameters of or blank parameter of func- l instructions. ti
  • Page 561specified COM The functional instruction ns are insufficient, COM (SUB9) is not correct- M instructions at ly dealt with. ocations. Delete Correspondence of COM ecessary COME and COME (SUB29) is in- ns. correct. Or, the number of coil con- trolled by COM is specified by the model which the number ca
  • Page 562cified for write coil. An illegal character was specified for the data table. educe the net un- The input net is larger than g. the editing buffer. cified JMP instruc- The functional instruction insufficient, add JMP(SUB10) is not correct- ructions at proper ly dealt with. . Delete any un- Correspon
  • Page 563educe the number The message data area ssage. was filled. duce the 1st level The 1st level of LADDER is ER. too large to complete execution in time. he number so that The parameter number for a n the range. function instruction is not in the range. uplicate numbers The parameter number for a problem
  • Page 564set to 0 forcibly. nit–A, the slot number must be 1 to 10. nit–B, the slot number must be 0 or a number 1 to wer on/off information for I/O Unit–B is set, the slot must be 0. assignment name is illegal or not supported. En- ect name. character string is illegal. Enter a character string ct input for
  • Page 565or replacement. the flash ROM for Flash ROM is used by other the PMC. than PMC. emergency stop The CNC is not in the emer- gency stop state. is required. No option is specified. ondense function. The sequence program is AR screen) If the larger than the flash ROM nomenon is still size. (At write) th
  • Page 566rmatting. Unformatted. otect switch of the The memory card is pro- ard to OFF. tected. he memory card The battery for the memory card is too weak. , check the file The specified file number or le number. file name is not found. e file attribute. The file cannot be deleted. er file name. There are du
  • Page 567Contents EG- An attempt was made to punch a program not stored in the program area (program → servo amplifier unit). D A read operation (servo amplifier unit → program) was executed for the program area when the memory protect signal (KEY) is turned off. ECT D When a program number created by a read
  • Page 568Alarm type Program or setting alarm Pulse coder alarm Servo alarm Overtravel alarm System alarm or I/O Link alarm k β Amplifier are as indicated below. These he method below. of the power mate CNC manager the servo amplifier (PS alarms) escription Countermeasure eter that requires Turn the power off
  • Page 569specified with a function code. Check the mode. cannot be acti- Check the mode. Check cause an invalid whether a block is being s specified or executed. block execution is ss. face switch signal Switch the signal after block as switched during execution stops. cution. d of an axial move- Check the s
  • Page 570cted. power is reapplied, replace the motor. unt alarm (CMAL) Turn the power off. If the erial pulse coder alarm recurs when the cted. power is re–applied, replace the motor. If the alarm does not recur, restart the operation from reference position return. or has overheated This alarm is issued whe
  • Page 571have overheated. be too high. Re–examine (hardware detec- the load conditions. tion) This alarm will not be issued. nerative discharge This alarm is issued when overheated. the average regenerative discharge energy is too high (when the acceleration/de- celeration frequency is too high, for example)
  • Page 572the parameter(*). S Specify a lower feedrate. S Increase the time constants. , SVU–20] This alarm is issued when current alarm is an excessively large current flows in the main circuit. k whether a valid motor number is specified in pa- er(*) 30. k whether the standard values are specified in the nt
  • Page 573an error (overcurrent, overheat, low IPM control power supply voltage) is detected in the IPM (semi- conductor driving the mo- tor). k whether a valid motor number is specified in pa- er(*) 30. k whether the standard values are specified in the nt control parameters(*) for servo control. ct current
  • Page 574xceed the allowable regenerative energy of the amplifier unit. e SVU–40 and the SVU–80, when the separate re- ative discharge resistor is not used, check wheth- CX23 connector is short–circuited with a dummy ector. upply voltage for dynamic power may exceed the value. Check the voltage. If the volta
  • Page 575tion of the motor correct? No.106: Is the denominator of the number of pulses per single revolution of the motor 0? No.180: Is the specified reference counter capacity 0 or a negative value? rm is issued. Replace the servo amplifier unit. 8 pecified speed Re–examine the CMR and 32767000 detec- speed
  • Page 576mode, then perform a reset. ive soft stroke limit Check whether appropriate exceeded. values have been specified for parameters(*) 142 and 143. Check whether a valid ative soft stroke move command is speci- been exceeded. fied. Move the tool in the opposite direction in jog mode, then perform a rese
  • Page 577escription Countermeasure trol circuit is not (1) Check the 24–VDC normally. control supply voltage. If the voltage is low, increase the voltage to an appropriate level. (2) Check whether a fuse in the servo amplifier unit 8 has blown. If a blown fuse is found, replace it. If (1) and (2) are not the
  • Page 5781 Replace the ROM The program does not on the SPM con- start normally. trol printed circuit ROM series error or board. hardware abnormality 2 Replace the SPM on the SPM control control printed cir- printed circuit board cuit board. Replace the SPM An abnormality was control printed circuit detected
  • Page 579error. (For example, exceeded 115% of its check whether rated speed. spindle synchroniza- When the spindle axis tion was specified was in position con- when the spindle trol mode, positional could not be turned.) deviations were accu- mulated excessively (SFR and SRV were turned off during spindle s
  • Page 580control printed circuit SPM control circuit board. component is de- tected. (Program ROM data is abnor- mal.) Replace the SPM Abnormality in an unit. SPM component is detected. (The initial value for the U phase current detection cir- cuit is abnormal.) Replace the SPM Abnormality in an unit. SPM co
  • Page 581load status. been applied continu- ously for a certain pe- riod of time. (This alarm is issued also when the motor shaft has been locked in the excitation state.) Check and correct the Overcurrent is de- power supply voltage. tected in PSM main circuit input. (PSM alarm indica- tion: 1) Unbalanced p
  • Page 582check the indicated parameter. Correct the value ac- Gear ratio data ex- cording to the param- ceeding the allowable eter manual. limit is set. Check whether the An error counter over- position gain value is flow occurred. too large, and correct the value. Correct the value ac- The setting of the pa
  • Page 583board. component was de- tected (A/D converter abnormality). 1 Check and cor- An abnormality equiv- rect the parame- alent to ALM7n41 ter. was detected during 2 Replace the thread cutting opera- cable. tion. 3 Re–adjust the BZ sensor signal. 1 Replace the 1 The A/B phase cable. signal of the 8 2 Re–
  • Page 5841 Replace the SPM NC interface ab- control printed cir- normality was de- cuit board. tected (the ITP signal 2 Replace the stopped). spindle interface printed circuit board in the CNC. Review the load state. An overload current was detected. 1 Replace the mag- The power line state netic contactor. s
  • Page 5854 Adjust the sensor. Replace the SPM An error was detected control printed–circuit in a CPU test. board. Replace the SPM An error was detected control printed–circuit in a CRC test. board. Replace the SPM An error was detected control printed–circuit in an initial test opera- board. tion. 1 Check an
  • Page 586Replace the SPM. Another irregularity was detected. Check the PSM alarm A PSM alarm was de- display. tected. Meaning Description 1 Check and cor- The thermostat em- rect the peripheral bedded in the motor temperature and winding operated. load status. The internal tempera- 2 If the cooling fan ture
  • Page 587ter. connected. 2 Replace the feed- back cable. Check for a sequence The motor speed has error. (For example, exceeded 115% of its check whether rated speed. spindle synchroniza- When the spindle axis tion was specified was in position con- when the spindle trol mode, positional could not be turned.
  • Page 588control printed circuit SPM control circuit board. component is de- tected. (Program ROM data is abnor- mal.) Replace the SPM Abnormality in an unit. SPM component is detected. (The initial value for the U phase current detection cir- cuit is abnormal.) Replace the SPM Abnormality in an unit. SPM co
  • Page 589PSM selection error (The maximum PSM output specification is exceeded.) 1 Check and cor- The motor cannot ro- rect the load sta- tate at a specified tus. speed. (A level not 2 Replace the mo- exceeding the SST tor sensor cable level for the rotation (JY2 or JY5). command has ex- isted continuously.)
  • Page 590JY2) of the MZ or BZ sensor is ab- normal. 3 Parameter setting error 1 Replace the 1 The 1–rotation cable. signal of the 2 Re–adjust the BZ spindle position sensor signal. coder (connector JY4) is discon- nected. 2 The 1–rotation signal (connector JY2) of the MZ or BZ sensor is dis- connected. Repla
  • Page 591ential speed is calcu- lated by multiplying the speed of the other spindle by the gear ra- tio). Check whether the In spindle synchro- calculated value ex- nization, the speed ceeds the maximum command calculation motor speed. value exceeded the allowable limit (the motor speed is calcu- lated by mu
  • Page 592load was detected. stops, replace the The regenerative re- resistor. sistor was discon- 4 If the resistance is nected, or an abnor- abnormal, re- mal resistance was place the resistor. detected. 1 Check the PSM The temperature of cooling status. the radiator of the 2 Replace the PSM PSM has increase
  • Page 5934 Check and cor- rect the parame- ter. 5 Adjust the sensor. 1 Check and cor- The one–rotation sig- rect the parame- nal of the spindle sen- ter. sor cannot be correct- 2 Replace the feed- ly detected. back cable. 3 Adjust the sensor. 1 Replace the feed- The one–rotation sig- back cable. nal of the s
  • Page 594and SPM. 2 Replace the SPM control printed cir- cuit board. 3 Replace the CNC side spindle inter- face printed cir- cuit board. 1 Replace the com- Communication data munication cable alarm between CNC and SPM. 2 Replace the SPM control printed cir- cuit board. 3 Replace the CNC side spindle inter- f
  • Page 595l spindle. .” nd Description MRDY Although neither *ESP (emergency stop Y, pay signal; there are two types of signals in- meter cluding the PMC signal and PSM contact use of signal (NOTE*2)) nor MRDY (machine M4001 ready signal) is input, SFR (forward rota- tion signal)/SRF (reverse rotation sig- na
  • Page 596servo Although servo mode (rigid tapping, or spec- spindle positioning) is set, another op- mode. eration mode (Cs contour control, nother spindle synchronization, or orientation) servo is specified. the Although spindle synchronization is be- com- ing performed, another operation mode nother (Cs co
  • Page 597mand (such as servo mode or orienta- tion) is input. PMC Although PRM4014#5 is set to 0 not to use the slave operation mode function, a slave operation mode command (SLV) is input. signal Orientation is performed in incremental tation operation mode (INCMD = 1) first, then solute the absolute positi
  • Page 598Y000 or later e addresses of the interface signals between e of signals common to paths 1 and 2 are X000 or later PMC MT Y000 or later als can be checked on the PMC screen.
  • Page 599name Address series series leration signal G118 f f nal G114 f f leration signal G120 f f nal G116 f f te signal G006#2 f f verride G013 f f completion G038#7 – f p completion G038#6 – f 9 erlock signal G008#3 f f signal G051#7 – f rate override G051#0 to – f #3 se screen G062#1 f f signal start int
  • Page 600- nal G008#5 f f ignal G029#6 f f G027#3 f – G027#4 f – each spindle G027#5 f – G026#6 f f mp G028#4 f – nal override G049#0 to – f G050#1 er select G060#7 f – dependent G104 f f imit switching direction G100 f f al ator’s panel F081#0,#2, f f +J4) #4,#6 direction G086#0 to f f als #3 ternal setting
  • Page 601al le abnormal F090#2 f f signal abnormal F090#3 f f signal function lock G005#6 f f trol, AI nano F062#0 – f l, or AI view control F001#0 f f F045#0 f f 9 F049#0 f f ) F168#0 f f F266#1 f f tion handle G023#7 – f nal speed signal F040, f – F041 G071#0 f f gnal G075#0 f f ) G205#0 f f G267#0 f f unc
  • Page 602completion F050#1 f f spindle) F169#1 f f F267#1 f f F046#0 f f itch signal F050#0 f f ) F269#0 f f F267#0 f f e signal F039#3 – f progress F039#2 – f t signal G051#6 – f ach signals F180 f f eference g ntrol change G027#7 f f and signal F064#5 F – ce speed F002#2 f f G070#3,#2 f f gnal G074#3,#2 f
  • Page 603G269#4 f f speed Y(n+1) f f als #0 to #2 peed Y(n+0) f f als s detach G124 f f l for external G002#0 to f f #6 F131#1 f f al F134#1 f f trol) F137#1 f f F140#1 f f 9 nal F182 f f trol) mpletion F112 f f xis control) elect signal G136 f f trol) uperimposed G200 f f nal F130#7 f f ommand read F133#7 f
  • Page 604G001 F130#3 f f ion executing F133#3 f f xis control) F136#3 f f F139#3 f f is selection F177#7 f f tion signal F008#0 – f tion signal F007#1 – f d interface tion function G005#1 – f nal G142#0 f f ion G154#0 f f nal trol) G166#0 f f G178#0 f f nfirmation F208 – f F130#4 f f ignal F133#4 f f trol) F
  • Page 605G180, f f G181 F130#0 f f nal F133#0 f f trol) F136#0 f f F139#0 f f al G098 f f completion F053#7 f f signal G066#7 f f G142#1 f f zero check G154#1 f f 9 G166#1 f f G178#1 f f F132, f f F142 F135, f f ion code F145 xis control) F138, f f F148 F141, f f F151 G142#2 f f ble signal G154#2 f f trol) G
  • Page 606F139#6 f f F130#5 f f tion F133#5 f f al trol) F136#5 f f F139#5 f f ignal F129#5 f f trol) ter selection F177#6 f f rkpiece G024#0 to f f h signals G025#5 rkpiece G025#7 f f h start signal selection F177#4 f f read start F177#1 f f ion signal for F060#0 f f nput signal G008#7 f f G142#3 f f nal G15
  • Page 607ariable F177#5 f f al write start F177#3 f f on signal F066#7 – f limit select G007#6 f f F047#4 f f n off status F051#4 f f ) F170#4 f f F268#4 f f start signal G058#1 f f 9 punch stop G058#2 f f h start signal G058#3 f f select signal G016#7 – f gnal G004#3 f f nce position F116 f f nal ntrol chan
  • Page 608G029#0 f f signal G029#2 f f G031#4 f f p request F061#2 f f g p request G067#6 f f progress F061#3 f f uest signal G067#7 f f r high–speed G065#4 to f f ng #7 kip status F122 f f signal G063#0 F F ction signal) with–C–axis G066#2 f f axis signal F065#7 f f traverse G096#7 f f t signal e feed axis G
  • Page 609G206#5 f f G268#5 f f F047#1 f f ethod F051#1 f f nal ) F170#1 f f F268#1 f f G072#0 f f p position G076#0 f f ) G206#0 f f G268#0 f f g start signal G063#6 – f ble signal F053#0 f f 9 nal F104 f f G071#5 f f trolling G075#5 f f ation ) G205#5 f f G267#5 f f mation signal G092#0 f f e feed G199#0 f
  • Page 610nal F001#7 f f te check F004#2 f f function lock F004#4 f f skip check F004#0, f f F005 G071#3 f f itch G075#3 f f nal ) G205#3 f f G267#3 f f andle valid G067#3 f – n signal G043#0 to f f #2 ator’s panel F073#0 to f f MD2, MD4) #2 signal F002#7 f f s detach F110 f f elect check F003#6 f f ion strob
  • Page 611ntrol axis G128 F – als ct check F003#2 f f ine lock G044#1 f f chine lock G108 f f ator’s panel F075#4 f f nput select F003#3 f f ration select F003#5 f f 9 heck signal F108 f f ine lock F004#1 f f ignal G067#2 f – ition signal F091#1 f – F046#6 f f pletion of tion with a F050#6 f f or F169#6 f f )
  • Page 612y signal G074#7 f f ) G204#7 f f G266#7 f f nce position F004#5 f f n check n select F003#4 f f ackward G067#1 f – ibition signal ackward F091#0 f – nal vement F091#2 f – al heck signal F004#3 f f etection G016#0 f f e signal F047#2 f f eed F051#2 f f e signal ) F170#2 f f F268#2 f f position G066#5
  • Page 613pindle) F168#7 f f F266#7 f f G070#6 f f mmand G074#6 f f pindle) G204#6 f f G266#6 f f ator’s panel F072 f f se switch el signal G006#4 f f ellation signal G150#5 f f trol) 9 control axis G190 F – als G072#4 f f e command G076#4 f f pindle) G206#4 f f G268#4 f f ion detector F172#7 f f low alarm io
  • Page 614F046#5 f f roximate tion with a F050#5 f f F169#5 f f ) F267#5 f f d signal G040#6 f – n display F053#1 f f ount reached F062#7 f f on speed F063#2 f – t arrival F063#0 f – hronous axis F063#1 f – nal h signal F070#0 to f f F071#7 hronization F063#7 f – nal G032#0 to f f G033#3 G034#0 to f f speed G
  • Page 615le feed mode n direction F065#1 – f F065#0 – f signal G061#0 f f spindle G061#4, f – al #5 release signal G007#7 – f 3 release G007#4 f f r remote G052 f f for remote F069 f f 9 G072#1 f f tion le changing G076#1 f f stop position G206#1 f f pindle) G268#1 f f override G014#0, f f #1 override G150#0
  • Page 616retraction F066#1 – f nal G066#4 f f etion signal F065#4 f f l G007#0 – f ogress signal F082#2 – f nal F000#0 f f on code F022 to f f F025 er F062#3 f – signal er F062#4 f – signal urement G040#5 f – ignal F000#6 f f arrival signal G029#4 f f F045#3 f f signal F049#3 f f ) F168#3 f f F266#3 f f igna
  • Page 617G079#3 G080#0 to f f ation external G081#3 ommand G208#0 to f f G209#3 G270#0 to f f G271#3 G033#7 f f speed G035#7 f f ct signal G037#7 f f G273#7 f f X004#7 f f ue signal X004#7 – f 9 X004#2 to f f #6, #0, #1 G006#6 f – G064#2 F – select signal G064#3 F – and select G063#2 F – G063#3 F – G073#1 f
  • Page 618ation F035#0 f f m signal p signal F000#4 f f ator’s panel F075#7 f f synchronous G038#3 f f G071#2 f f signal G075#2 f f ) G205#2 f f G267#2 f f omplete G028#6 f – ronous G038#2 f f ng detail F264#0 to f f #7, F265#1 r specification G091#0 to f f #3 output F178#0 to f f #3 rt signal G006#0 f f rt u
  • Page 619al G126 f f detail signal F093#4 to f f #7 G027#0 f f G027#1 f f ion signal G027#2 f f G026#3 f f ronous F044#4 f f signal/ onitor signal control under F118 f – composite/ F118 F – 9 control nals onous axis G138 f f control axis G138 f – als G138 F – onous G140 – f xis select nal F065#6 f ode signal
  • Page 620mmand G074#1 f f ) G204#1 f f G266#1 f f G070#0 f f mmand LOW G074#0 f f ) G204#0 f f G266#0 f f ct signal F064#1 f f eset signal G048#7 f f change reset G048#6 – f al G048#5 f f ose G053#0 f f ter start mode signal F092#3 f f signal G059#0 f f ached signal F114 f f nal G059#1 f f mpletion F092#5 f
  • Page 621position F100 f f nal sition F120 f f signal nce position G043#7 f f n signal ator’s panel F073#4 f f 9 588
  • Page 622for M series only. #2 #1 #0 T series ST STLK RVS M series
  • Page 623*ESP C6 *DEC5 *DEC4 *DEC3 *DEC2 *DEC1 Bit number #4 #3 #2 #1 #0 5 ED4 ED3 ED2 ED1 ED0 13 ED12 ED11 ED10 ED9 ED8 9 5 EA4 EA3 EA2 EA1 EA0 N3 MFIN2 FIN BFIN TFIN SFIN EFIN MFIN OVC *ABSM SRN U RLSOT3 ST STLK RVS P *ESP *BSL *CSL *IT PN16 PN8 PN4 PN2 PN1 5 *JV4 *JV3 *JV2 *JV1 *JV0 13 *JV12 *JV11 *JV10 *
  • Page 624SWS4 PC4SLC PC3SLC P3 *SSTP2 *SSTP1 SWS3 SWS2 SWS1 PF *SUCPF GR2 GR1 R SAR GR31 GR21 V5 SOV4 SOV3 SOV2 SOV1 SOV0 GR41 6I R05I R04I R03I R02I R01I N R12I R11I R10I R09I I2 R05I2 R04I2 R03I2 R02I2 R01I2 N2 R12I2 R11I2 R10I2 R09I2 I3 R05I3 R04I3 R03I3 R02I3 R01I3 N3 R12I3 R11I3 R10I3 R09I3 SPPHS SPSYC
  • Page 625*TLV9 *TLV8 *CHP8 *CHP4 *CHP2 *CHP0 DI5 RMTDI4 RMTDI3 RMTDI2 RMTDI1 RMTDI0 UINT TMRON 05 UI004 UI003 UI002 UI001 UI000 13 UI012 UI011 UI010 UI009 UI008 9 D EXWT EXSTP EXRD MINP TRRTN TRESC SP2 RGTSP1 RGTAP 2 PDT1 *CRTOF GC KP2 HCSKP1 C RTRCT HOBCAN ENBKY IGNVRY MCHK MMOD MRVM A SRVA CTH1A CTH2A TLMH
  • Page 62605 SHA04 SHA03 SHA02 SHA01 SHA00 SHA11 SHA10 SHA09 SHA08 05 SHB04 SHB03 SHB02 SHB01 SHB00 SHB11 SHB10 SHB09 SHB08 erve for order made macro erve for order made macro –Ja +Ja –Jg +Jg Z G2X G2RVY G2RVZ G2RVX SRLNI3 SRLNI2 SRLNI1 SRLNI0 BGEN BGIALM BGION IOLS IOLACK V5 *HROV4 *HROV3 *HROV2 *HROV1 *HROV
  • Page 6276 PK5 PK4 PK3 PK2 PK1 (M series) H6 DTCH5 DTCH4 DTCH3 DTCH2 DTCH1 D6 IUDD5 IUDD4 IUDD3 IUDD2 IUDD1 6 SVF5 SVF4 SVF3 SVF2 SVF1 6 *IT5 *IT4 *IT3 *IT2 *IT1 9 +MIT4 +MIT3 +MIT2 +MIT1 –MIT4 –MIT3 –MIT2 –MIT1 X6 EAX5 EAX4 EAX3 EAX2 EAX1 C6 SYNC5 SYNC4 SYNC3 SYNC2 SYNC1 CJ6 SYNCJ5 SYNCJ4 SYNCJ3 SYNCJ2 SYNC
  • Page 6283B EIF12B EIF11B EIF10B EIF9B EIF8B 5B EID4B EID3B EID2B EID1B EID0B 3B EID12B EID11B EID10B EID9B EID8B 1B EID20B EID19B EID18B EID17B EID16B 9B EID28B EID27B EID26B EID25B EID24B PC ESOFC ESBKC EMBUFC ELCKZC EFINC C EC4C EC3C EC2C EC1C EC0C C EIF4C EIF3C EIF2C EIF1C EIF0C 3C EIF12C EIF11C EIF10C E
  • Page 629IOLBH3 IOLBH2 P6 EASIP5 EASIP4 EASIP3 EASIP2 EASIP1 FTCLR FTCAL FTCMD C SRVC CTH1C CTH2C TLMHC TLMLC C SOCNC MCFNC SPSLC *ESPC ARSTC DC OVRIDC DEFMDC NRROC ROTAC INDXC DSCNC SORSLC MPOFC SLVC MORCMC 9 05 SHC04 SHC03 SHC02 SHC01 SHC00 SHC11 SHC10 SHC09 SHC08 D SRVD CTH1D CTH2D TLMHD TLMLD GD SOCND MC
  • Page 630SRNMV THRD CSS RPDO INCH M MRMT MMDI MJ MH MINC EF MAFL MSBK MABSM MMLK MBDT1 T7 MBDT6 MBDT5 MBDT4 MBDT3 MBDT2 BF TF SF EFD MF 3 MF2 EF 02 DM30 5 M04 M03 M02 M01 M00 3 M12 M11 M10 M09 M08 1 M20 M19 M18 M17 M16 9 M28 M27 M26 M25 M24 05 M204 M203 M202 M201 M200 13 M212 M211 M210 M209 M208 05 M304 M303
  • Page 6313 B12 B11 B10 B09 B08 1 B20 B19 B18 B17 B16 9 B28 B27 B26 B25 B24 GR3O GR2O GR1O SPAL O R05O R04O R03O R02O R01O 9 R12O R11O R10O R09O ENB3 ENB2 SUCLP SCLP CHPCYL CHPMD ENB4 5 AR4 AR3 AR2 AR1 AR0 13 AR12 AR11 AR10 AR09 AR08 SYCAL FSPPH FSPSY FSCSL 2A LDT1A SARA SDTA SSTA ALMA A2A SLVSA RCFNA RCHPA C
  • Page 63229 UO128 UO127 UO126 UO125 UO124 ESCAN ESEND EREND HCEXE HCAB2 BCLP BUCLP S2MES S1MES AICC PSAR PSE2 PSE1 TLCHB TLCHI TLNW TLCH CF RTRCTF RGSPM RGSPP K2 RTPT G08MD O5 RMTDO4 RMTDO3 RMTDO2 RMTDO1 RMTDO0 06 PSW05 PSW04 PSW03 PSW02 PSW01 14 PSW13 PSW12 PSW11 PSW10 PSW09 T5 OUT4 OUT3 OUT2 OUT1 OUT0 ZRNO
  • Page 633N2 SVWRN1 6 ZP5 ZP4 ZP3 ZP2 ZP1 6 ZP25 ZP24 ZP23 ZP22 ZP21 6 ZP35 ZP34 ZP33 ZP32 ZP31 6 ZP45 ZP44 ZP43 ZP42 ZP41 6 MV5 MV4 MV3 MV2 MV1 9 6 INP5 INP4 INP3 INP2 INP1 D6 MVD5 MVD4 MVD3 MVD2 MVD1 I6 MMI5 MMI4 MMI3 MMI2 MMI1 CH6 MDTCH5 MDTCH4 MDTCH3 MDTCH2 MDTCH1 N6 EADEN5 EADEN4 EADEN3 EADEN2 EADEN1 L6
  • Page 6342B EM21B EM18B EM14B EM12B EM11B PC EGENC EDENC EIALC ECKZC EINPC EABUFC EMFC 2C EM21C EM18C EM14C EM12C EM11C PD EGEND EDEND EIALD ECKZD EINPD EABUFD EMFD 2D EM21D EM18D EM14D EM12D EM11D 2A EM41A EM38A EM34A EM32A EM31A 2B EM41B EM38B EM34B EM32B EM31B 2C EM41C EM38C EM34C EM32C EM31C 2D EM41D EM3
  • Page 635A2D SLVSD RCFND RCHPD CFIND CHPD EXOFD SOREND MSOVRD INCSTD PC1DTD 9 602
  • Page 636Signals on path 1 (PMC→CNC) Signals on path 1 (CNC→PMC) Signals on path 2 (PMC→CNC) Signals on path 2 (CNC→PMC)
  • Page 637(M series) 6#2 *DEC5#2 *DEC4#2 *DEC3#2 *DEC2#2 *DEC1#2 *ESP 6#1 *DEC5#1 *DEC4#1 *DEC3#1 *DEC2#1 *DEC1#1 (T series) 2 #2 +MIT2 #2 –MIT1 #2 +MIT1 #2 ZAE #2 XAE #2 5 #2 SKIP4 #2 SKIP3 #2 SKIP2 #2 SKIP8 #2 SKIP7 #2 5 #2 SKIP4 #2 SKIP3 #2 ZAE #2 YAE #2 XAE #2 SKIP2 #2 SKIP8 #2 SKIP7 #2 (M series) 9 Bit n
  • Page 638#1 MP1#1 HS3D#1 HS3C#1 HS3B#1 HS3A#1 5#1 EPN4#1 EPN3#1 EPN2#1 EPN1#1 EPN0#1 3 #1 EPN12 #1 EPN11#1 EPN10 #1 EPN9#1 EPN8#1 SWS4 #1 PC4SLC #1PC3SLC #1 3 #1 *SSTP2 #1 *SSTP1 #1 SWS3 #1 SWS2 #1 SWS1 #1 F#1 *SUCPF #1 GR2#1 GR1#1 #1 SAR#1 GR31#1 GR21#1 5#1 SOV4#1 SOV3#1 SOV2#1 SOV1#1 SOV0#1 GR41 #1 I#1 R05
  • Page 6393 #1 KEY2 #1 KEY1 #1 SBK#1 #1 TL16 #1 TL08 #1 TL04 #1 TL02 #1 TL01 #1 P #1 TL256 #1 5#1 *TLV4#1 *TLV3#1 *TLV2#1 *TLV1 #1 *TLV0#1 *TLV9 #1 *TLV8 #1 *CHP8 #1 *CHP4 #1 *CHP2 #1 *CHP0 #1 9 UINT#1 TMRON #1 5 #1 UI004 #1 UI003 #1 UI002 #1 UI001 #1 UI000 #1 3 #1 UI012 #1 UI011#1 UI010 #1 UI009 #1 UI008 #1
  • Page 640B#1 SOCNB #1 MCFNB #1 SPSLB #1 *ESPB#1 ARSTB #1 B#1 OVRIDB#1 DEFMDB#1 NRROB #1 ROTAB #1 INDXB #1 DSCNB#1 SORSLB#1 MPOFB #1 SLVB#1 MORCMB#1 5 #1 SHA04 #1 SHA03 #1 SHA02 #1 SHA01 #1 SHA00 #1 SHA11#1 SHA10 #1 SHA09 #1 SHA08 #1 5 #1 SHB04 #1 SHB03 #1 SHB02 #1 SHB01 #1 SHB00 #1 SHB11#1 SHB10 #1 SHB09 #1
  • Page 6416#1 *+ED5#1 *+ED4#1 *+ED3#1 *+ED2#1 *+ED1#1 6 #1 *–ED5 #1 *–ED4 #1 *–ED3 #1 *–ED2 #1 *–ED1 #1 (T series) #1 PK5#1 PK4#1 PK3#1 PK2#1 PK1#1 (M series) 6#1 DTCH5#1 DTCH4#1 DTCH3#1 DTCH2#1 DTCH1#1 6#1 IUDD5#1 IUDD4#1 IUDD3#1 IUDD2#1 IUDD1#1 9 6 #1 SVF5 #1 SVF4 #1 SVF3 #1 SVF2 #1 SVF1 #1 6 MIX5 MIX4 MIX3
  • Page 642E #1 *FV4E #1 *FV3E #1 *FV2E #1 *FV1E #1 *FV0E #1 B #1 ESOFB#1 ESBKB#1 EMBUFB#1 ELCKZB#1 EFINB #1 B#1 EC4B#1 EC3B#1 EC2B#1 EC1B#1 EC0B#1 B #1 EIF4B #1 EIF3B #1 EIF2B #1 EIF1B #1 EIF0B #1 B #1 EIF12B #1 EIF11B#1 EIF10B #1 EIF9B #1 EIF8B #1 B #1 EID4B #1 EID3B #1 EID2B #1 EID1B #1 EID0B #1 B #1 EID12B
  • Page 643D #1 EID28D #1 EID27D #1 EID26D #1 EID25D #1 EID24D #1 6 #1 OVLS5 #1 OVLS4 #1 OVLS3 #1 OVLS2 #1 OVLS1 #1 6 #1 IGVRY5 #1 IGVRY4 #1 IGVRY3 #1 IGVRY2 #1 IGVRY1 #1 MTD#1 MTC#1 MTB#1 MTA#1 6 #1 NPOS5 #1 NPOS4 #1 NPOS3 #1 NPOS2 #1 NPOS1 #1 6 #1 EASIP5 #1 EASIP4 #1 EASIP3 #1 EASIP2 #1 EASIP1 #1 9 FTCLR #1
  • Page 6443 #2 ED12 #2 ED11#2 ED10 #2 ED9#2 ED8#2 #2 EA4#2 EA3#2 EA2#2 EA1#2 EA0#2 3#2 MFIN2#2 FIN#2 BFIN#2 TFIN #2 SFIN#2 EFIN#2 MFIN#2 OVC#2 *ABSM#2 SRN#2 P#2 RLSOT3#2 ST#2 STLK #2 RVS#2 #2 *ESP#2 *BSL#2 *CSL#2 *IT#2 PN16 #2 PN8#2 PN4#2 PN2#2 PN1#2 #2 *JV4 #2 *JV3 #2 *JV2 #2 *JV1 #2 *JV0 #2 3 #2 *JV12 #2 *J
  • Page 6455#2 SOV4#2 SOV3#2 SOV2#2 SOV1#2 SOV0#2 GR41 #2 I#2 R05I#2 R04I#2 R03I#2 R02I#2 R01I#2 #2 R12I #2 R11I#2 R10I#2 R09I #2 2 #2 R05I2 #2 R04I2 #2 R03I2 #2 R02I2 #2 R01I2 #2 2 #2 R12I2 #2 R11I2 #2 R10I2 #2 R09I2 #2 9 3 #2 R05I3 #2 R04I3 #2 R03I3 #2 R02I3 #2 R01I3 #2 3#2 R12I3 #2 R11I3 #2 R10I3 #2 R09I3 #
  • Page 6465 #2 UI004 #2 UI003 #2 UI002 #2 UI001 #2 UI000 #2 3 #2 UI012 #2 UI011#2 UI010 #2 UI009 #2 UI008 #2 EXWT #2 EXSTP #2 EXRD#2 MINP#2 TRRTN #2 TRESC #2 P2#2 RGTSP1#2 RGTAP#2 #1 PDT1 #1 *CRTOF#2 GC#2 P2#2 HCSKP1#2 C#2 RTRCT#2 HOBCAN#2 IGNVRY #2 MCHK#2 MMOD#2 MRVM#2 A#2 SRVA#2 CTH1A #2 CTH2A #2 TLMHA #2 T
  • Page 647erved for order made macro erved for order made macro #2 G2X#2 G2RVY #2 G2RVZ #2 G2RVX #2 SRLNI3 #2 SRLNI2 #2 SRLNI1 #2 SRLNI0 #2 BGEN#2 BGIALM #2 BGION#2 IOLS#2 IOLACK #2 5#2 *HROV4#2 *HROV3#2 *HROV2#2 *HROV1#2 *HROV0#2 9 #2 +J5#2 +J4#2 +J3#2 +J2#2 +J1#2 #2 –J5 #2 –J4 #2 –J3 #2 –J2 #2 –J1 #2 6#2 +E
  • Page 6486#2 IUDD5#2 IUDD4#2 IUDD3#2 IUDD2#2 IUDD1#2 6 #2 SVF5 #2 SVF4 #2 SVF3 #2 SVF2 #2 SVF1 #2 #2 *IT5 #2 *IT4 #2 *IT3 #2 *IT2 #2 *IT1 #2 +MIT4#2 +MIT3#2 +MIT2#2 +MIT1#2 –MIT4 #2 –MIT3 #2 –MIT2 #2 –MIT1 #2 6 #2 EAX5 #2 EAX4 #2 EAX3 #2 EAX2 #2 EAX1 #2 6 #2 SYNC5 #2 SYNC4 #2 SYNC3 #2 SYNC2 #2 SYNC1 #2 J6#2
  • Page 649B #2 EID12B #2 EID11B #2 EID10B #2 EID9B #2 EID8B #2 B #2 EID20B #2 EID19B #2 EID18B #2 EID17B #2 EID16B #2 B #2 EID28B #2 EID27B #2EID26B #2 EID25B #2EID24B #2 C#2 ESOFC#2 ESBKC#2 EMBUFC#2 ELCKZC#2 EFINC#2 C#2 EC4C#2 EC3C#2 EC2C#2 EC1C#2 EC0C#2 C #2 EIF4C #2 EIF3C #2 EIF2C #2 EIF1C #2 EIF0C #2 9 C
  • Page 650FTCLR #2 FTCAL #2 FTCMO #2 C#2 SRVC#2 CTH1C #2 CTH2C #2 TLMHC #2 TLMLC #2 C #2 SOCNC #2 MCFNC #2 SPSLC #2 *ESPC #2 ARSTC #2 C#2 OVRC#2 DEFMDC#2 NRROC#2 ROTBC #2 INDXC#2 DSCNC#2 SORSLC#2 MPOFC #2 SLVC#2 MORCMC #2 5 #2 SHC04 #2 SHC03 #2 SHC02 #2 SHC01 #2 SHC00 #2 SHC11#2 SHC10 #2 SHC09 #2 SHC08 #2 D#2
  • Page 651BF#1 TF#1 SF#1 EFD#1 MF#1 #1 MF2#1 EF#1 2 #1 DM30 #1 #1 M04#1 M03#1 M02#1 M01#1 M00#1 #1 M12#1 M11#1 M10#1 M09#1 M08#1 #1 M20#1 M19#1 M18#1 M17#1 M16#1 9 #1 M28#1 M27#1 M26#1 M25#1 M24#1 5#1 M204#1 M203#1 M202#1 M201#1 M200#1 3#1 M212#1 M211#1 M210#1 M209#1 M208#1 5#1 M304#1 M303#1 M302#1 M301#1 M30
  • Page 652SPAL#1 O #1 R05O #1 R04O #1 R03O #1 R02O #1 R01O #1 R12O #1 R11O#1 R10O #1 R09O #1 ENB3#1 ENB2#1 SUCLP#1 SCLP#1 CHPCYL#1 CHPMD #1 ENB4#1 #1 AR4#1 AR3#1 AR2#1 AR1#1 AR0#1 3#1 AR12#1 AR11#1 AR10#1 AR09#1 AR08#1 SYCAL FSPPH FSPSY FSCSL #1 SYCAL #1 FSPPH #1 FSPSY #1 A #1 LDT1A #1 SARA#1 SDTA#1 SSTA#1 AL
  • Page 653O#1 PSAR#1 PSE2#1 PSE1#1 P TLCHB #1 TLCHI #1 TLNW #1 TLCH#1 F #1 RTRCTF#1 RGSPM #1 RGSPP #1 2 #1 RTPT#1 G08MD #1 6 #1 PSW05 #1 PSW04 #1 PSW03 #1 PSW02 #1 PSW01 #1 4 #1 PSW13 #1 PSW12 #1 PSW11 #1 PSW10 #1 PSW09 #1 9 5#1 OUT4#1 OUT3#1 OUT2#1 OUT1#1 OUT0#1 ZRNO#1 MD4O#1 MD2O#1 MD1O#1 O#1 MLKO#1 SBKO#1
  • Page 654#1 MV5#1 MV4#1 MV3#1 MV2#1 MV1#1 #1 INP5 #1 INP4 #1 INP3 #1 INP2 #1 INP1 #1 6#1 MVD5#1 MVD4#1 MVD3#1 MVD2#1 MVD1#1 6#1 MMI5#1 MMI4#1 MMI3#1 MMI2#1 MMI1#1 H6#1 MDTCH5#1 MDTCH4#1 MDTCH3#1 MDTCH2#1 MDTCH1#1 N6#1 EADEN5#1 EADEN4#1 EADEN3#1 EADEN2#1 EADEN1#1 6 #1 TRQL5 #1 TRQL4 #1 TRQL3 #1 TRQL2 #1 TRQL1
  • Page 655EABUFD#1 EMFD#1 D#1 EM21D#1 EM18D#1 EM14D#1 EM12D#1 EM11D#1 A #1 EM41A #1 EM38A #1 EM34A #1 EM32A #1 EM31A #1 B #1 EM41B #1 EM38B #1 EM34B #1 EM32B #1 EM31B #1 C#1 EM41C#1 EM38C#1 EM34C#1 EM32C#1 EM31C#1 D#1 EM41D#1 EM38D#1 EM34D#1 EM32D#1 EM31D#1 9 C #1 LDT1C #1 SARC#1 SDTC#1 SSTC#1 ALMC#1 2C#1 SLV
  • Page 656SRNMV #2 THRD#2 CSS#2 RPDO#2 INCH#2 M#2 MRMT#2 MMDI#2 MJ#2 MH#2 MINC#2 F#2 MAFL#2 MSBK#2 MABSM #2 MMLK#2 MBDT1 #2 7 #2 MBDT6 #2 MBDT5 #2 MBDT4 #2 MBDT3 #2 MBDT2 #2 BF#2 TF#2 SF#2 EFD#2 MF#2 #2 MF2#2 EF#2 2 #2 DM30 #2 #2 M04#2 M03#2 M02#2 M01#2 M00#2 #2 M12#2 M11#2 M10#2 M09#2 M08#2 #2 M20#2 M19#2 M1
  • Page 657#2 B12#2 B11#2 B10#2 B09#2 B08#2 #2 B20#2 B19#2 B18#2 B17#2 B16#2 #2 B28#2 B27#2 B26#2 B25#2 B24#2 GR3O#2 GR2O#2 GR1O#2 SPAL#2 O #2 R05O #2 R04O #2 R03O #2 R02O #2 R01O #2 9 R12O #2 R11O#2 R10O #2 R09O #2 ENB3#2 ENB2#2 SUCLP#2 SCLP#2 CHPCYL#2 CHPMD#2 ENB4#2 #2 AR4#2 AR3#2 AR2#2 AR1#2 AR0#2 3#2 AR12#
  • Page 6589 #2 UO128 #2 UO127 #2 UO126 #2 UO125 #2 UO124 #2 ESEND #2 EREND #2 BCLP#2 BUCLP#2 S2MES #2 S1MES #2 AICC#2 O#2 PSAR#2 PSE2#2 PSE1#2 TLCHB#2 TLCHI #2 TLNW #2 TLCH#2 F #2 RTRCTF #2 RGSPM #2 RGSPP #2 2 #2 RTPT#2 G08MD #2 6 #2 PSW05 #2 PSW04 #2 PSW03 #2 PSW02 #2 PSW01 #2 4 #2 PSW13 #2 PSW12 #2 PSW11 #2
  • Page 659#2 ZP5 #2 ZP4 #2 ZP3 #2 ZP2 #2 ZP1 #2 6 #2 ZP25 #2 ZP24 #2 ZP23 #2 ZP22 #2 ZP21 #2 6 #2 ZP35 #2 ZP34 #2 ZP33 #2 ZP32 #2 ZP31 #2 6 #2 ZP45 #2 ZP44 #2 ZP43 #2 ZP42 #2 ZP41 #2 #2 MV5#2 MV4#2 MV3#2 MV2#2 MV1#2 #2 INP5 #2 INP4 #2 INP3 #2 INP2 #2 INP1 #2 9 6#2 MVD5#2 MVD4#2 MVD3#2 MVD2#2 MVD1#2 6#2 MMI5#2
  • Page 660C#2 EGENC #2 EDENC #2 EIALC #2 ECKZC #2 EINPC#2 EABUFC#2 EMFC#2 C #2 EM21C #2 EM18C #2 EM14C #2 EM12C #2 EM11C #2 D#2 EGEND #2 EDEND #2 EIALD #2 ECKZD #2 EINPD#2 EABUFD#2 EMFD#2 D #2 EM21D #2 EM18D #2 EM14D #2 EM12D #2 EM11D #2 A #2 EM41A #2 EM38A #2 EM34A #2 EM32A #2 EM31A #2 B #2 EM41B #2 EM38B #2
  • Page 6619 628
  • Page 662ay/editing function consists of the following ay screen een ng screen creen creen menu LAD] Program list display screen ] [ZOOM] [LIST] [ZOOM] [SWITCH] ram Selection monitor een screen [SWITCH] [EDIT] [LIST] Program list ram editing screen een [ZOOM], [<] [MODIFY], [ADD] creen
  • Page 663Ladder diagram display area Display position nput line Additional information display line 10 splay screen [LIST] creen allows you to select a subprogram to r diagram display screen. ation (details) Total number of programs bject to manipulation List display area ARCH] soft key. y using the keys ind
  • Page 664tion–name” + [F–SRCH]: ion instruction is searched for. revious search operation performed essfully is repeated towards the start. revious search operation performed essfully is repeated towards the end. AL] : The search range is switched. ction data table display screen [TABLE] on instruction with
  • Page 665be monitored [PICKUP] ribed below, a ladder net to be monitored on en can be read for display. ladder net on the selection monitor screen ss used with the coil to read the net 10 dress to be monitored. ICKUP] soft key. uses the address specified by <1> with a coil e top of the screen. dder net on th
  • Page 666gram monitor display screen by pressing the key. ) Display program Display position information Display position gage Editing target net Ladder diagram display position t line Additional information display line a ladder diagram can be edited. am to be edited am list editing screen by pressing the [
  • Page 667TE] soft key. The results of editing performed ed in the ladder being executed. When the ve been reflected normally, the ladder after ed. to a net to be deleted. TE] soft key. to a net to be moved. CUT] soft key, cut the net. to the position to which the selected net is to E] soft key. 10 to a net t
  • Page 668) for creating a new net from a free state is set. gram editing screen. ODIFY] soft key. Net number being edited Editing mode Ladder diagram display area or formation line line ed below, a new net can be created, and an ed. t or coil to the position where a new contact or coil is ess, then press a s
  • Page 669to the position where a connection line is to ted. such as [ ], [ ], [ ] for addition. n existing connection line, press a soft key [ ], [ ]. il, or function instruction r to the position where a contact, coil, or on to be deleted is located. ] soft key. soft key. The editing operation of the net en
  • Page 670nce program, and consists of ten items: R NAME (32 characters) 32 characters) (32 characters) characters) rs) O. (32 characters) G (16 characters) Y (32 characters) haracters) s) s displayed: MC basic software h sequence data item oftware and the PMC type of the sequence maximum execution time, and
  • Page 671I: On Signal name PAGE n be increased or decreased by using ber or signal name, then press the [SEARCH] ied address or signal name is searched for. 10 is displayed. 638
  • Page 672DE ode. E : Sampling based on a period of time ANSITION : Sampling based on signal transitions OLUTION n of sampling. E ayed when “TIME CYCLE” is selected as the Set a time interval for sampling. ME splayed when “SIGNAL TRANSITION” is ampling mode. Set the number of sampling ON condition. : Does not
  • Page 673e to place a stop trigger occurrence position pling time (or count). DITION es settable when “SIGNAL TRANSITION” is ng mode. Set a sampling condition. : Performs sampling when the sampling trigger condition is satisfied. GE : Perform sampling when a sampling address signal transition occurs. DITION/
  • Page 674ress as a bit address. If you enter a byte 7 of the entered address are input. Up to 32 can be set. : Deletes the set address where the cursor is placed. ADRESS] : Switches the setting address between symbol display and address display. : Replaces the set address with the upper line. : Replaces the
  • Page 675ation 10 ecutes trace operation. ion ps trace operation. Trace operation ends o when the trace stop condition set on the ce parameter setting screen is satisfied. s ace execution, the results of trace operation page switch key: rolls the set sampling signal addresses up d down. Soft key, current rig
  • Page 676a channel is usable, an “*” mark is indicated. e sample screen above, channel 2 is unusable. output method DI mode or in the emergency stop state. etting screen to 1. PWE KEY4 imer f ounter f f either one eep relay f ata table f f either one program protect signal (KEY4) to 1 only with table. select
  • Page 677Set a timer period in ms. –8 is max. 1572.8 sec and its accuracy is 10 r No. 9 to 250 is max. 262.1 sec and its 8ms. n max. value of counter and current value of ). reen is scrolled by page key) lue of counter (Minimum value is speci- counter) Current value of counter Counter numbers from 1 to 100 y
  • Page 678sequence program ol #4 #3 #2 #1 #0 status in nonvolatile memory w are used by the system, so that the keep d by the sequence program. #4 #3 #2 #1 #0 MEMINP AUTORUN PRGRAM LADMASK quence program is enabled. quence program is disabled. rammer function does not operate. mmer menu is not displayed.) ram
  • Page 679RTY CALCPRTY TRNSRAM TRGSTAT DBGSTAT IGNKEY re enabled for a user program on the user re disabled for a user program on the user en a user program is used. When this bit is en cannot be switched to the NC screen by s. Program which invariably sets this bit to 0, e user screen to the NC screen, must
  • Page 680dder program, does not automatically write it adder program, automatically writes it to ates a C program. s not activate a C program. top operation of a sequence program is top operation of a sequence program is PMC parameters and the output of PMC e outside are enabled. PMC parameters and the outpu
  • Page 681COUNT : Number of data table groups 10 : Group number : Data table start address : Table parameter #4 #3 #2 #1 #0 y format ormat ut input protection nput protection y or BCD format is valid.) ormat is invalid.) : Data length (0: 1byte long, 1: 2bytes long, 2: 4bytes long) : Number of data items of e
  • Page 682reen display to the data group setting screen. [G–SRCH] : sor to the start of a specified group. RCH] : currently selected group for a specified al functions (K906.5) (K901.6) (K902.0) (K900.4) (K900.7) (K902.6) (K902.7) (K900.0) (K906.1) (K900.2) (K902.2) (K900.1) lues to the right of the screen in
  • Page 683T VALUE : ount for a message display request. A value can be specified. Even when the power is ered data is preserved. 10 T START ADDRESS : bit address of a shifted message display a. An address in the A address area can be n when the power is turned off, entered data the forced input/output functio
  • Page 684e group of an I/O device connected to each ECTION (CH1: K910 to K911, CH2: K912 in which I/O Link assignment data is valid. ment. ent. n “BASIC GROUP COUNT” on the system ith *, and disables this setting. put in programmer hrough the MDI keys, the operations below d: ress the [SYSTEM] soft key, then
  • Page 685EVICE”. output from, a floppy cassette adapter 10 output from, a flash EEPROM output from, a memory card output from, other I/O devices CHANNEL”. RS] is selected in “DEVICE”, set this item. hen press the INPUT key or [(NO.)]. 5A=1 5B=2 CTION”. a. n external device with the data in memory. files from
  • Page 686A TYPE : ary format or BCD format for a counter value h the function instruction CTR. : ng time for the first and second ladder levels This setting increases or decreases ladder
  • Page 687PANEL : connect an operator’s panel for the FS0. S : ddress of an external DI actually connected. 10 SS : dress of an external DO actually connected. ADDRESS : ddress of a key image referenced by a user ally, set an arbitrary internal relay (R) area. ADDRESS : ddress of an LED image generated by a u
  • Page 688N e the I/O Link assignment data selection Link assignment data selection function. d for both of channel 1 and channel 2, the I/O selection function setting screen described ection 10.1.3.6, “Setting screens” is not NT : ivides the I/O Link assignment data into the ction and the parameter selection
  • Page 689tes communication forcibly. Use this key if nication becomes abnormal and the tion cannot be terminated normally. es the parameters to their default values. 10 Displays a CPU ID value. However, do not modify this item. Enables communication setting in the case of onnection via RS–232C. However, do n
  • Page 690ation path) unication is active and in standby mode. unication is active and being connected. an be not opened because there is not option of . en parameters are specified. t has occurred and communication is aborted. t has occurred and communication is aborted. heck Code (packet parity) error has o
  • Page 691Display of current net number RUN/STOP status NET 0001–0004 MONIT RUN Comment LOG1 ALWAYS1 Green *ESP color EMERGENCY (dark) : STOP Signal is turned POR OFF POWER ON White RESET color (bright) : Signal is 10 GER ] [WINDOW ] [ ] turned ON SEARCH) soft key. eys as described below, search for desired g
  • Page 692om 0 to 1), enter the desired data and press s in the order shown below. EOB Trigger checkpoint EOB vel of the ladder program is executed el of the ladder program is executed level of the ladder program is executed el of the ladder program is executed em so that it turns off the monitor display when
  • Page 6930001-0002 LOG1 An unselected divided screen is indicated by a blue low-in- tensity bar. *SP 0020-0021 ST A selected divided screen is SKIP1 indicated by the purple high- intensity bar. 10 divided screen, press the [SELECT] soft key essary to move the purple bar to the desired ch function can be used
  • Page 694S DUMP 65 10 01 02 00 10 00 00 10 40. . . . . . . 03 20 1A FF 00 00 3A 9B 16 84 . . . . . . . vided, the states of the signals are displayed creen. ta notation is displayed in units of bytes. ple) G0000 00 16 84 00 ... is displayed in units of two bytes. ple) G0000 1600 0084 ... ta is displayed in u
  • Page 695soft key to start the on-line editing function. n the screen. ollowing the usual editing procedure. s can be made by means of on-line editing. e of contacts ( , ) dresses of contacts and coils ddresses of control parameters used in ons ons that can be performed in on-line editing d to those that do
  • Page 696LE) s wrote at the ladder programming time. MONIT RUN NO. : : ROGRAM EDITION : 01 ON : ) ROL : RB5 PROGRAM : RB5 D : KB : KB : KB : KB : MS : MS MIN : MS [ ANALYS] [ TRACE ] [ ] Set at LADDER programming time. AM N : N : ) Display of a serial number PROGRAM : and version KB number of KB PMC control
  • Page 697BY : TATUS) or I/O signals, internal relays, etc. MONIT RUN 4 3 2 1 0 D4 ED3 ED2 ED1 ED0 Signal 0 1 0 1 0 name ED12ED11ED10ED9ED8 0 0 0 0 0 Status A4 EA3 EA2 EA1 EA0 of 0 0 0 0 0 signal 0 0 0 0 0 0 : OFF 10 FIN 1 : ON 0 0 0 0 0 ] [ ] [ ] PAGE number by pressing PAGE keys. fied address or signal name
  • Page 698RD) ITION (0:PMC/1:PHY) DITION (0:PMC/1:PHY) ] [ ] [ ] Select the trace mode. = 1 byte address signal trace = Independent 2 byte address signal trace = Continuous 2 byte address signal trace = Set the trace address by PMC address = Set the trace address by physical address (Using mainly by C languag
  • Page 699. . . . . . . . ⋅(Period):off . . . . . . . . 1/I:on . . . . . . . . . . . . . . . . ] [ ] [ ] turn to trace parameter setting screen p the trace operation. -start of tracing (Clear the memory). 10 666
  • Page 700imer f ounter f f either one eep relay f ata table f f either one een by soft key. screen er screen relay screen able screen esired number. l and press INPUT key then the data creen or [KEY4] return to “0” after data set. MER) timer time of the Timer instruction (SUB 3). Page number (change by page
  • Page 701R) #001 MONIT RUN PRESET CURRENT 100 1 Up to 50 2 32767 can 0 0 be set for 0 0 PRESET 0 0 and CUR- 0 0 RENT for 0 0 counter 0 0 Nos. 1 to 0 0 20 0 0 PRL] [ DATA ] [ SETING ] er the address by ladder program cified counter number by program 10 n (KEEPRL) Refer the address by ladder program RELAY) MON
  • Page 702ladder programs are not displayed amically (PCLAD). built-in programmer function does not ate. (Also, the programmer menu is not layed.) built-in programmer function operates. (The rammer menu is displayed.) sequence program automatically starts at er on. sing the soft key to sequence program ution
  • Page 703en a user program is used. When this bit is en cannot be switched to the NC screen by s. A program which invariably sets this bit to the user screen to the NC screen, must be C language debug function does not start matic break processing at power on. C language debug function starts automatic k pro
  • Page 704system activates a C program. system does not activate a C program. execution/stop operation of a sequence ram is disabled. execution/stop operation of a sequence ram is enabled. display of PMC parameters and the output of parameters to the outside are enabled. display of PMC parameters and the outp
  • Page 7050 : Displayed in binary or BCD (bit 0 is enabled) 1 : Displayed in hexadecimal (bit 0 is disabled) 2bytes 2 : 4bytes ATA) Group number Number of page MONIT RUN DATA 0 0 0 0 0 10 0 0 0 0 0 ARCH] [ ] [ ] eturn to data table setting screen. CH] : Move the cursor to head of specified group. RCH] : Searc
  • Page 706(K19.7) (K17.0) (K17.2) (K19.2) (K17.1) lues to the right of the screen indicate keep C data n type PMC programmer utput with I/O device unit via reader/puncher C programmer should starts by as following ot required when the data set from MDI. s [PMC] soft key. PMC programmer is running. NU MONIT RU
  • Page 707O.) ] [ ] [ ] number, then press the INPUT key to set the 10 n CPU board n CPU board used for DEVICE. n with FAPT LADDER (on the P-G, P-G Mate, computer) n with a Floppy Cassette Adaptor n with a flash EEPROM n with a memory card n with other I/O units on with FUNCTION. ata a ata in memory with that
  • Page 708A TYPE : ary format or BCD format for a counter value h the function instruction CTR.
  • Page 709PANEL : connect an operator’s panel for the FS0. S : ddress of an external DI actually connected. 10 SS : dress of an external DO actually connected. ADDRESS : ddress of a key image referenced by a user ally, set an arbitrary internal relay (R) area. ADDRESS : ddress of an LED image generated by a u
  • Page 710tes communication forcibly. Use this key if nication becomes abnormal and the tion cannot be terminated normally. es the parameters to their default values. Displays a CPU ID value. However, do not modify this item. Enables communication setting in the case of onnection via RS–232C. However, do not
  • Page 711ation path) unication is active and in standby mode. unication is active and being connected. an be not opened because there is not option of . en parameters are specified. t has occurred and communication is aborted. t has occurred and communication is aborted. heck Code (packet parity) error has o
  • Page 712ogram end f f rogram end f f ogram end × f er f f f f er f f f f e decoding f f f f ter × f f f ntrol f f tion control f f ersion f f e conversion f f er after logical product f f er after logical sum f f ransfer × f ransfer × f transfer × f byte transfer × f ne control f f ne control end f f f f f
  • Page 713ex modifier data trans- f f f f dition f f n f f traction f f on f f ltiplication f f f f ision f f of constant f f of binary constant f f 10 display × × (NOTE 1) message display f f ata input f f ntrol × × (NOTE 1) control f f w data read f f w data write f f function instruction × f (NOTE 2) dow d
  • Page 714m conditional call × f m unconditional call × f m × f m end × f on (net comment) f f ded n be coded in a ladder program. At execution nstructions are handled as no operation, and t executed. These instructions can be used e with the PMC of other models. For a func- CT input, be sure to set ACT = 0.
  • Page 715MC–SB7 only) W1(Timer relay) ff Timer number (SA1:1 to 40, SB7:1 to 250) 10 W1(Timer relay) ff Timer number (SA1:1 to 100, SB7:1 to 500) ffff Preset time (unit:msec) W1(Timer relay) ff Timer type (0:8ms unit, 1:48ms unit) ffff Timer address (2–byte) ffff Timer register address (4–byte) W1 ffff Addre
  • Page 716Output address 4 : 4–byte n (PMC–SB7 only) h of code data. decode length t numeric values are decoded. mory area is required for a decode result nn numeric values are decoded. ory area is required for a decode result W1(Count up) Counter number ffff (SA1:1 to 20, SB7:1 to 100) 7 only) W1(Count up) C
  • Page 717W1 (Direction output 0:Forward, 1:Reverse) ffff Number of indexing ffff Current position address ffff Goal position address ffff Output address 10 W1 (Direction output 0:Forward, 1:Reverse) Number of byte f (1:1–byte, 2:2–byte, 4:4–byte) ffff Number of indexing Current position ffff address Goal pos
  • Page 718ffff Output address l product ffff Higher 4–bit conjunction data ffff Lower 4–bit conjunction data ffff Process data address ffff Output address al sum ffff Input address ffff Process data address ffff Output address –SB7 only) ffff Transfer source address ffff Transfer destination address –SB7 only
  • Page 719ffff Transfer destination address ffff * Specify 0. Used with the COM instruction as a pair 10 ffff * Specify 0. Used with the JMP instruction as a pair only) ffff Label number of jump destination (L1 to L9999) only) ffff Label number of jump destination (L1 to L9999) SB7 only) ff Label number (L1 t
  • Page 720ity check, 1:Odd–parity check W1(1:Error) ffff Input data address ffff Output data address BCD–code, 1 : BCD to Binary–code W1(1:Error) Number of byte f (1:1–byte, 2:2–byte, 4:4–byte) ffff Input data address ffff Output data address CD to binary ; 0 : Positive, 1 : Negative –code, 1 : BCD to Binary–
  • Page 721: 2–byte, 4 : 4–byte data, 1 : Address #4 #3 #2 #1 #0 N Z f. data=Comp. data, p. data W1 (0: Mismatch, 1: Match) 10 Data format f (0 : Constant data, 1 : Address) Reference value ffff (Constant data or address) ffff Comparison value W1 (Shifted out) ffff Data address ight–shift 0, 1 : Shift in with
  • Page 722ffff Search data address ffff Output address W1(1:Error) ffff Size of data table ffff Starting address of data table ffff Input/output data storage address ffff Table number storage address e, 1 : Write mode a transfer W1(1:Error) Number of byte f (1 : 1–byte, 2 : 2–byte, 4:4–byte) ffff Storage addr
  • Page 723ro, N : Negative W1(1 : Error, in case of the result is negative.) Data format f (0 : Constant data, 1 : Address) ffff Subtrahend address Subtrahend value ffff (Address or constant data) ffff Output address W1(1:Error) 10 Data format ffff (The conditions are same as (41) ADDB.) ffff Subtrahend addre
  • Page 724f Data format (0 : Constant data, 1 : Address) ffff Devidend address Devier value ffff (Address or constant data) ffff Output address W1(1:Error) Data format ffff (The conditions are same as (41) ADDB.) ffff Devidend address Devier value ffff (Address or constant data) ffff Output address (The remai
  • Page 725ents of an array to be defined definition for one memory. definition for an array that has nn ble) W1 (process in–progress) 10 f Sum of step for message data ffff Number of step for 1–message data ffff Message control address ay ffff Number of message W1 (processing completed) ffff Control data addr
  • Page 726W1 (processing completed) ffff Control data address #4 #3 #2 #1 #0 E W1 (processing completed) ffff Control data address #4 #3 #2 #1 #0 E tion (PMC–SB7 only) W1 (processing completed) ffff Control data address (unusable) W1 (processing completed) ffff Buffer designation address ffff Offset address f
  • Page 727Input data address W1 (processing completed) ffff Input data storage address ffff Input data length storage address #4 #3 #2 #1 #0 E 10 W1 (processing completed) ffff Input data storage address ffff Input data length storage #4 #3 #2 #1 #0 E usable) ffff Area division specification data address ffff
  • Page 728OUT (Falling edge detection) ffff Falling edge number (1 to 1000) MC–SB7 only) j00j Format designation Address of data to ffff be manipulated Operating data ffff (address or constant) ffff Operation result output address byte, 2:2–byte, 4:4–byte onstant data, 1 : Address only) j00j Format designatio
  • Page 729Format designation j00j Address of data to be ffff manipulated ffff Operation result output address byte, 2:2–byte, 4:4–byte onstant data, 1 : Address only) call (PMC–SB7 only) 10 ffff Subprogram number (P1 to 2000) al call (PMC–SB7 only) ffff Subprogram number (P1 to 2000) only) ffff Subprogram num
  • Page 730ID32B (AID32B) ID16C (AID16C) ID16D (AID16D) ID32E (AID32E) ID32F (AID32F) IA16G (AIA16G) Module name (Actual module name) OD08C (AOD08C) OD08D (AOD08D) OD16C (AOD16C) OD16D (AOD16D) OD32C (AOD32C) OD32D (AOD32D) OA05E (AOA05E) OA08E (AOA08E) OA12E (AOA12E) OA08G (AOA08G) OA16G (AOA16G)
  • Page 731OC02I Input 16 bytes OC02O Output 16 bytes OC03I Input 32 bytes OC03O Output 32 bytes AD04A Input 8 bytes (AAD04A) DA02A Output 4 bytes (ADA02A) CN01I Input 12 bytes CN01O Output 8 bytes CN02I Input 24 bytes CN02O Output 16 bytes 10 OC01I Input 12 bytes OC01O Output 8 bytes /8 Input 8 bytes /4 Outpu
  • Page 732CM14I Input 14 bytes CM15I Input 15 bytes CM16I(OC02I) Input 16 bytes CM02O(/2) Output 2 bytes CM04O(/4) Output 4 bytes CM06O(/6) Output 6 bytes CM08O(/8) Output 8 bytes tribu- CM06I(/6) Input 6 bytes CM13I Input 13 bytes CM14I Input 14 bytes CM15I Input 15 bytes CM16I(OC02I) Input 16 bytes CM04O(/4
  • Page 733procedures for the embedded Ethernet and provided. t peration, and maintenance screens of the escribed. (The description is based on the nd PCMCIA card.) oard eration, and maintenance screens of the fast a server/Ethernet board/data server are e provided based on the fast Ethernet when Ethernet trou
  • Page 734Ethernet ard) Ethernet optional board Fast Ethernet board Fast data server Ethernet board Data server d Ethernet d port) C Ethernet optional board Fast data server Data server Embedded Ethernet (embedded port)
  • Page 735urrently recognized by the CNC is displayed. d, Ethernet board, or None is indicated.) 11 tion is valid. al board is mounted, and a board name is this setting key is not displayed if the Ethernet 702
  • Page 736OPRT) ] [ (OPRT) ] T BOARD BEDD ] [ PCMCIA ][ SWITCH ] hernet Embedded Ethernet Embedded Ether- tting parameter setting net device change dded) screen (PCMCIA) screen 11.4.1 11.4.2 T BOARD * * BEDD ] [ PCMCIA ][ ] Embedded Ethernet maintenance screen(*) .4.5 d port or PCMCIA card only is displayed.
  • Page 737(OPRT) ] [ (OPRT) ] T BOARD * * MBEDD ] [ PCMCIA ][ ] 11 bedded Ethernet host file ectory screen (*) (1) T T BOARD ¨ ¨ MBEDD ] [ PCMCIA ][ ] edded Ethernet connection change screen (*) d port or PCMCIA card only is displayed. 704
  • Page 738RT T BOARD * * [ EMBEDD ] [ PCMCIA ][ ] mbedded Ethernet error message reen(*) 1.4.6 d port or PCMCIA card only is displayed.
  • Page 73911 Description Ethernet MAC address IP address of the embedded Ethernet. f specification format: “192.168.1.1”) ask address for the IP addresses of the net- f specification format: “255.255.255.0”) IP address of the router. Item when the network contains a router. f specification format: “192.168.1.
  • Page 740Description IP address of a personal computer to be ac- he FACTOLINK function. f specification format: “192.168.1.100”) ort number to be used with the FACTOLINK he valid input range is 5001 to 65535.
  • Page 74111 Description ort number to be used with the FOCAS1/Ether- . The valid input range is 5001 to 65535. Item when using the DNC1/Ethernet function. DP port number for transmitting UDP broadcast put range is 5001 to 65535. using the FOCAS1/Ethernet function or when no UDP broadcast data. Item when usin
  • Page 742rs can be made. The connection host change to be actually connected. Description ort number to be used with the FTP file transfer sion is used, so that “21” is to be specified IP address of the host computer. f specification format: “192.168.1.150”) ser name to be used for logging in to the host ith
  • Page 743t the embedded Ethernet. #4 #3 #2 #1 #0 NO TIME BGS FACTOLINK screen is not displayed: ing is performed in the background. ing is not performed. time display format: 1/12 00:00” format is used. Nov 12 00:00:00” format is used. FACTOLINK screen is displayed: tone monochrome display is used. display i
  • Page 744posted to the host computer (1st byte) posted to the host computer (2nd byte) posted to the host computer (3rd byte) posted to the host computer (4th byte) posted to the host computer (5th byte) posted to the host computer (6th byte) posted to the host computer (7th byte) posted to the host computer
  • Page 745cts the host computer 1 OS. /VMS. ows95/98/Me/NT/2000. cts the host computer 2 OS. /VMS. ows95/98/Me/NT/2000. cts the host computer 3 OS. 11 /VMS. ows95/98/Me/NT/2000. Special character (No. 1) Special character (No. 2) Special character (No. 3) Special character (No. 4) Special character (No. 5) 35
  • Page 746bedded Ethernet is indicated. MCIA card) Device change key (EMBEDD or PCMCIA) the [PCMCIA] soft key, the confirmation Pressing the [EXEC] soft key switches the hernet to the PCMCIA card. y valid embedded Ethernet is the PCMCIA ange key displays [EMBEDD].)
  • Page 747Host number currently connected. Connection host 1, 2, or 3. Host–side file directory (File numbers and file names) 11 etween normal display and detail display. ormation displayed. RCH] operation. reen information so that a file specified by its e start of the list. le held on the host computer. hel
  • Page 748PUNCH] operation is performed. thernet, DNC operation is disabled. ange screen eo indicates the connection host currently Values set on the FTP transfer parameter screen are displayed. Connection host switch key
  • Page 749on destination, and the results are displayed. 11 that a response was received from the n destination and that the specified n exists on the network. s that no response was received from the n destination and that the specified n does not exist on the network. e communication destination equipment i
  • Page 750
  • Page 75111 Meaning net controller being initialized being processed (NOTE) ng for data processing (NOTE) ng for parameter setting meters being set ng for completion of Ethernet controller ization g activated ng for connection from the personal computer ection being processed AS1/Ethernet execution disabled
  • Page 752ization being processed (NOTE) ng for data processing (NOTE) ng for completion of Ethernet controller ization being processed (NOTE) ng for data processing (NOTE) ng for completion of Ethernet controller initial- n being processed (NOTE) ng for data processing (NOTE) between the states “Data being p
  • Page 75311 Description buffer empty count during NC program transfer P file transfer function to the CNC. r is initialized to 0 at power–on, then is increm- time a certain condition is satisfied. e total number of bytes transferred when one is transferred using the FTP file transfer func- ternal buffer mana
  • Page 754MASTER CTRL LOG screen ay an error message at the time of parameter embedded Ethernet function. NG l node is not set. Set an IP address correctly. VALID address of the local node is incorrect. Correct al node is not set. Set a correct subnet mask. LID subnet mask of the local node is incorrect. S IN
  • Page 755INVALID P port number is incorrect. Correct the TCP r UDP transmission is incorrect. Correct the ess of the local node. f the CNC is incorrect. Correct the clock of nction or DNC1/Ethernet function is already tion with five applications. Terminate ion applications on the personal computer. ed before
  • Page 756number. made for connection with a port already eeds to be reset.
  • Page 757en switching. 11 Description ss of the Fast Ethernet board r of Ethernet error message screens used by t functions control systems in the CNC hether ATA flash card is mounted on the Ether- unted. disk is mounted ata server of 10BASE–T type only). card is mounted. e IP address of the CNC. 92.168.0.1”
  • Page 758ared by entering spaces. eter Description e port No. to be used by the FOCAS1/Ethernet hernet functions within a range of 5001 to when using the DNC1/Ethernet function. Specify number used to send UDP broadcast data. m 5001 to 65535 can be input. OCAS1/Ethernet function is used or UDP ata is not sen
  • Page 75911 ers can be made. al connection destinations. Description IP address of a personal computer to be ac- he FACTOLINK function. f specification format: “192.168.0.101”) ort number to be used with the FACTOLINK m 5001 to 65535 can be specified. 726
  • Page 760ers can be made. creen is used to select hosts to be actually Description e port No. to be used by the data server func- 21 because the FTP communication is used. e IP address of the host computer. 92.168.0.101”) e name of the user to log on to the host com- FTP. e of up to 31 characters can be spec
  • Page 761Description 11 e user name on the data server that is to be the host computer logs in using FTP. e of up to 31 characters can be specified.) password for the above user name. must always be specified. d of up to 31 characters can be specified.) e directory on the data server to which the host to log
  • Page 762time display format. /12 00:00” format Nov 12 00:00:00” format K screen display color chrome Type of logging , 21 dress area dress area data only dress area + fixed data dress area + fixed data C address for logging data PMC address for storing logging data. ata length of logging data bytes a length
  • Page 763posted to the host computer (7th byte) posted to the host computer (8th byte) posted to the host computer (9th byte) ine name that is unique to each CNC and is r the host computer to identify each CNC. II codes in decimal for alphanumeric and blanks to set a machine name. #4 #3 #2 #1 #0 larm is issu
  • Page 764ONS DSV erver function is led led number of the data server file name and the in an NC program do not match: O number in the NC program takes priority. O number of the file name takes priority. #4 #3 #2 #1 #0 BWT hether to check if there is a duplicate file ification in a list file when the LIST–GET
  • Page 765millisecond for a data server of 10BASE–T the wait time (in 1.1 ms units) for the thernet or DNC1/Ethernet service when it is her with the data server function. ified, a wait time of 1.1 ms is assumed. Special character (No. 1) Special character (No. 2) Special character (No. 3) Special character (N
  • Page 766es stored in the current work directory. ee space, in bytes, on the Fast data server y of the Fast data server built–in ATA card. er) for a DNC operation by a subprogram call file for which DNC operation is performed. ytes. e at which the file was created. display and detailed display. L], [PUT], [M
  • Page 767t data server built–in ATA card. the Fast data server built–in ATA card to the d disk. s from the Fast data server built–in ATA card in hard disk. The file names can be specified r) on the Fast data server built–in ATA card. ectory (folder) on the Fast data server built–in ) from the Fast data serve
  • Page 768les registered with the currently connected e currently connected host. The host number for a DNC operation by a subprogram call which DNC operation is performed. display and detailed display. nts. and [L–GET] operations. the file specified by the file number or name DNC operation is performed. This
  • Page 769st computer to the Fast data server built–in list file. omputer to the part program storage memory n is possible only when the data server is in is in the EDIT mode, and a data server is number of the CNC. program storage memory of the CNC to the tion is possible only when the data server is C is in
  • Page 770Values set on the data server parameter screen are displayed. Connection host switch key
  • Page 771key An ATA card can be checked and formatted. 11 Description number of times that the data buffer becomes g transfer of the NC program from the data ion to the CNC. This Item is initialized to 0 at After being initialized, the Item is counted when ns are satisfied. total number of transferred bytes
  • Page 772on destination, and the results are displayed. rom the specified communication destination munication destination device exists on the s ived from the specified communication pecified communication destination device ork. Check if the power to the communication d on, and check also if the parameters
  • Page 77311 740
  • Page 774
  • Page 775Waiting for data reception Data being transmitted Data being processed Not executed yet Waiting for data reception Data being transmitted Data being processed Not executed yet Waiting for data reception Data being transmitted Not executed yet Waiting for data reception Data being transmitted Not exe
  • Page 776R LOG screen lay an error message at the time of Ethernet t initialization. VALID own IP address is in error. Set the own IP ue. LID subnet mask is in error. Set the subnet mask S INVALID router IP address is in error. Set the router value. INVALID he TCP port No. by the DNC1/Ethernet or n is in err
  • Page 777ted. at are connectable with the DNC1/Ethernet rnet function was exceeded. Terminate , then reexecute the service. LOG screen play an error message of the FACTOLINK ED r. Cancel the services currently active on this of the own IP address, subnet mask, router s and port No. of the server that is conn
  • Page 778host computer failed. d login name specified by the parameters for se specified on the host computer. nd login name are case–sensitive. ed. the host computer. on the host computer failed. TA flash card failed. o displayed when this function is executed data server function. So, reexecute this data s
  • Page 779it turned on? of the connected hub unit turned on? (Some LED for LINK.) hen the hub unit is not connected to the CNC CNC is not turned on. hernet board turned on at all times? The LED oard is not connected to the hub unit or when s not turned on. rd is dedicated to 10BASE–T. Is a hub unit sed when t
  • Page 780e faulty. Check the connection and settings ed by the Ethernet board/data server of rsonal computer explanation. ter ping NC–IP–address. If a response is en established. that the IP address on the CNC side is (normal) bytes of data: s=32 time<10ms TIL=128 s=32 time<10ms TIL=128 s=32 time<10ms TIL=12
  • Page 781firmation check the error information on the error Subsection 11.4.6. For the fast Ethernet/fast information on the error message screen . 11 748
  • Page 782.2 CNC PC NC No.2 CNC 0.1 192.168.0.2 55.0 255.255.255.0 None .101 192.168.0.101 Ethernet 9000 parameter setting None screen None None None 11 67‘C’ NC parameter 78‘N’ setting screen 67‘C’ 50‘2’ al computer 168.0.1 To be set with “Microsoft TCP/ 255.255.0 IP Property” of the personal computer (Windo
  • Page 7830 NC parameter 6 setting (To be set for the optional board only) al computer .168.0.101 To be set with “Microsoft TCP/ .255.255.0 IP Property” of the personal computer (Windows 95/98/NT/2000) None .168.0.1 To be specified with the argu- 8193 ment of the data window library .168.0.2 function cnc_allc
  • Page 784screen C FANUC C FANUC None NC parameter 9 setting al computer 168.0.101 To be set with “Microsoft TCP/ 255.255.0 IP Property” of the personal computer (Windows NT) None ANUC To be set with “User Manager” of the personal computer (Win- ANUC dows NT) To be set with “Internet Service efault Manager” o
  • Page 785Ethernet r dtsvr parameter setting r dtsvr screen e None r dtsvr r dtsvr e None 14 NC parameter setting l computer 68.0.101 To be set with “Microsoft TCP/ IP Property” of the personal 55.255.0 computer (Windows NT) None tsvr To be set with “User Manager” of the personal computer (Windows NT) tsvr In
  • Page 786(Press this key several times until the ars.) em configuration screen R ) 88A1 01 Message line ] [ SYSTEM] [ MSG ] creen tem software information) O Link β amplifier parameters) ink β amplifier state) β amplifier alarm) eters ead as a CNC program from an I/O Link β parameters are saved in the part p
  • Page 787AM] NOS] TEM] RT)] [NO.SRC] [INPUT] AM] ( ) (*) ected [READ] [CANCEL] [EXEC] CNC β amplifier memory parameter Memory = Part program storage memory or memory card [PUNCH] [CANCEL] [EXEC] CNC β amplifier memory parameter Memory = Part program storage memory or memory card 12 RT)] [NO.SRC] [DGNOS] is s
  • Page 788Mate CNC Manager is selected: displays one slave (I/O Link β amplifier). is divided into four sections to display up to I/O Link β amplifiers) simultaneously. Link β amplifier) parameter input/output MD1 Input/output destination 0 Part program storage memory 1 Memory card CNC Manager can read I/O Li
  • Page 789PRM8760 + (I/O Link β amplifier group ) ple: When PRM8760 = 8000 rs of an I/O Link β amplifier of group 1 are the CNC as a program of O8010. eter file is written on the parameter screen of mplifier of group 1, the parameter file must be the CNC as a program of O8010. ory card is selected as the inpu
  • Page 790[DGNOS] Input a diagnostic data No. to be displayed. ge key [NO.SRH]
  • Page 791“CNC STATE DISPLAY”. which command is not apparently – 016) Internal status when 1 is displayed M, S, T function is being executed Move command in automatic operation is being executed Dwell is being executed In-position check is being performed A cutting override of 0% is set. → *FV0–7, *AFV0
  • Page 792Reset and rewind turned on Set when emergency stop turns on Set when external reset, emergency stop, reset or reset & rewind key is on. A flag which stops pulse distribution. It is set to 1 in the following cases. (1) External reset is set to on. (2) Reset & rewind is set to on. (3) Emergency stop i
  • Page 793memory card for screen hard copy failed. during writing to a memory card for screen or status (DGN045) C language executor status ncorrect FROM content. wer was switched on with the M and 0 keys held ficient SRAM area; increase the SRAM area size. cause of an incorrect C language executor library ag
  • Page 794larm alarm #5 #4 #3 #2 #1 #0 EXP LD EXP Details of amplifier alarm 0 – Motor overheat 1 – Amplifier overheat 1 0 Built–in pulse coder (hard) 1 1 Disconnection of separate type pulse coder (hard) 0 0 Disconnection of pulse coder (software) #5 #4 #3 #2 #1 #0 BLA PHA RCA BZA CKA SPH or feedback cable i
  • Page 795erroneous. ure of serial pulse coder. se for communication. #5 #4 #3 #2 #1 #0 MCC LDA PMS rrect due to faulty serial pulse coder αi/α or LED is abnormal f servo amplifier is melted. alue result of A/D conversion of digital ation is not used. pulse coder alarms #5 #4 #3 #2 #1 #0 BLA PHA CMA BZA PMA S
  • Page 796e. ocity feedback pulses per motor revolution, 23, is zero or less. The value is invalid. ition feedback pulses per motor revolution, 24, is zero or less. The value is invalid. n of rotation for the motor is specified in e is other than 111 or –111). axis number), a value that falls outside the umbe
  • Page 797tes of a inclined axis in the Cartesian coordi- [Output unit] tes of an orthogonal axis in the Cartesian coor- [Output unit] d only when PRM8200#0 (AAC) is set to 1, ow is set to 1: series only) option is selected. erature information (DGN308, 309) Servo motor temperature [_C] ature is indicated. th
  • Page 798RM8302#1 (ATS) has been changed. battery voltage is 0 V (Inductosyn). battery voltage is 0 V (separate position put no offset data. coder detects a full single rotation, reference ent by parameters was attempted. tach signal or parameter was input. #5 #4 #3 #2 #1 #0 XBZ GSG AL4 AL3 AL2 AL1 issued. s
  • Page 799rotocol. uration error. ype does not match the one specified in the #5 #4 #3 #2 #1 #0 XE1 XE0 ER3 ER2 ER1 ER0 SSBC error R nection t of an FSSBC error resulting from a request ection nection 13 t #5 #4 #3 #2 #1 #0 EXT DUA ST1 ST0 #5 #4 #3 #2 #1 #0 EXT DUA ST1 ST0 EXT DUA ST1 ST0 ype code for an actu
  • Page 800#5 #4 #3 #2 #1 #0 DMA TP1 TP0 HA2 HA1 HA0 DMA TP1 TP0 HA2 HA1 HA0 the host LSI address specified as a DMA n. the type code of a specified slave. nd ST1 of the previously mentioned DGN330 a value determining whether to allow DMA to 330 and 331 corresponds to one FSSB slave units are available. diagno
  • Page 801ccurred. the displayed detail numbers and the ther detail information that could be used to AC Servo Motor αi series Parameter Manual actions for servo parameter alarm details Cause Action related parame- Make modifications so that valid. the value of each parameter pplement 1. is within an allowabl
  • Page 802g of this parameter This parameter is not used . presently. Set this parame- ter to 0. g of this parameter This parameter is not used . presently. Set this parame- ter to 0. meter is a manda- Set this parameter to a value meter when the other than 0 when setting the p is set for a linear closed loop
  • Page 803rawal amount for Set the same value for the L load is different axis and M axis. he L axis and M n the same axis l function is used). ear motor is used, Specify an AMR conversion conversion coeffi- coefficient. meter is not input. position feedback Specify a dual position feed- coefficient is not ba
  • Page 804he nano interpola- and is specified. value or a value Change the setting to a posi- n 100 is set. tive value not greater than 100. t within a range of Set a value within a range of 0 is set. –180 to 180. sitive value is set Set a positive value in this ence counter size parameter. . nal value of the
  • Page 805alarm. This alarm → See Supplement 2. HRV3 is set when t control period is µs. period mismatch On the same optical cable, there is an axis with HRV3 is issued when set. Reconsider the location period setting dif- of the amplifier, or disable he actual setting. HRV3. → See Supplement 2. Setting disab
  • Page 806nication alarm ignore counter (separate) nection processing counter (built–in) ection processing counter (separate) errors that occur in serial communication with ng as no alarm is issued, communicated data of these counters indicated in the diagnosis very large value rapidly, noise is probably n. S
  • Page 807mpensation pulse count (NC) [Detection unit] ount of compensation pulses (backlash mpensation, etc.) distributed from the CNC on. command pulse count (SV) [Detection unit] of movement command and compensation ection since the power was switched on. feedback pulse count (SV) [Detection unit] of posit
  • Page 808spindle analog control is ol is not performed. ol is performed. n’t control 2nd spindle. ol 2nd spindle. trol is not used. trol is used. al spindle alarm state of first spindle spindle alarm state of second spindle st spindle motor temperature [_C] ond spindle motor temperature [_C] erature is indic
  • Page 809start normally in spindle serial control. normally in spindle serial control. start normally in spindle serial control. l serial spindle parameters on of spindle unit condition of spindle unit Load meter of 1st spindle [%] peedometer of 1st spindle [min–1] Load meter of 2nd spindle [%] eedometer of
  • Page 810–spindle synchronization error [Pulse] spindle synchronization error [Pulse] –spindle synchronization error [Pulse] absolute value of a synchronization error in tion mode where each spindle is treated as a _) #5 #4 #3 #2 #1 #0 SS4 SS3 SSR SIC module necessary for spindle serial control ndles) has be
  • Page 811SPE S4E S3E SHE the serial communication module (third and CNC side as follows: was started normally under spindle serial as not started normally under spindle serial was started normally under spindle serial was not started normally under spindle serial he serial spindle parameter (third and fourth
  • Page 812dle distribution during rigid tapping [Detection unit] ference for the move command, calculated in dle,during rigid tapping ated value) [Detection unit] ference for the travel error, calculated in terms of g rigid tapping (signed) [Detection unit] nization error during rigid tapping [Detection unit]
  • Page 813alue, specified with G51.2, falls outside the e. Alternatively, the P and Q values are not Q values are not specified with G51.2, an R Alternatively, none of the P, Q, or R value is he master axis in spindle polygon synchroniza- value) ation mode, the rotation ratio (specified P is (first spindle) i
  • Page 8144: AAL 8: EOD 12: SDO State of remote buffer lated to HSS B (Open CNC) #5 #4 #3 #2 #1 #0 al Open CNC information (not available to #5 #4 #3 #2 #1 #0 al Open CNC information (not available to #5 #4 #3 #2 #1 #0 THH THL PRA of a system alarm that has occurred in Open occurred in shared RAM.
  • Page 815al (connected to the PC) ed in HSSB. #5 #4 #3 #2 #1 #0 ion about the HSSB (open CNC). (Hidden #5 #4 #3 #2 #1 #0 ion about the HSSB (channel 2). (Hidden #5 #4 #3 #2 #1 #0 ion about the HSSB (channel 2). (Hidden #5 #4 #3 #2 #1 #0 THH THL PRA 13 on about the HSSB (channel 2) as follows. has occurred in
  • Page 816r G83 is specified clears the value to zero. ill axis from which retraction is started [Least increment system] en the position on the drill axis from which the n was started and the position from which the is started [Least increment system] lated to ATC for ROBO DRILL α #5 #4 #3 #2 #1 #0 A99 A98 A
  • Page 817ce in the position error between the master axis pair is subjected to simple synchronous n two or more pairs are subjected to simple ition error is indicated for the master axis. lated to the dual position feedback – 553) losed loop error [Detection unit] i–closed loop error [Detection unit] semi–cl
  • Page 818the allowable range. atically or moving the axes. s compensation mode. HNDL (INCR) mode. meter is invalid. N620 – 649) #5 #4 #3 #2 #1 #0 ERR ERP OPN RDY OPP CLS col. tocol. ration error. e does not match the one specified in the #5 #4 #3 #2 #1 #0 XE1 XE0 ER3 ER2 ER1 ER0 BC2 error. ction SBC2 error r
  • Page 819EXT DUA ST1 ST0 ype code for an actually connected slave. Slave Servo amplifier VE) (Currently nonexistent) Stand–alone type detector interface unit E) (Currently nonexistent) est is not on the first axis of the two–axis t is on the first axis of the two–axis amplifier. st does not exist. st exists.
  • Page 820DGN648, 649 d HRV current control #5 #4 #3 #2 #1 #0 HOK HON –speed HRV current control is displayed. led in the high–speed HRV current control n high–speed HRV current control is enabled. rrent control is enabled when the following ed: 3) is set to 1. servo modules, and servo amplifiers suitable RV
  • Page 821arning status of second spindle Error status of third spindle Error status of fourth spindle Warning status of third spindle Warning status of fourth spindle es and the error number appears) or warning lifier module (SPM), the number is displayed ing, “0” is indicated. onfiguration of the spindle (e
  • Page 822and an alarm history screen is displayed. PAGE ed by PAGE or key. O1234 N12345 X AXIS ZERO RETURN REQUEST B STRY ][ ][ (OPRT) ] then the alarm history is cleared. history can be disabled by setting 1000–1999) or a macro alarm (ALM3000– ory function can record the alarm message. s not set or if no me
  • Page 823Y INTERRUPT 08:20:52 [ NMIHIS ] [ ] [ ] ry screen (history list screen) system alarms including the latest system atest system alarm information is displayed r item in the list indicates older system alarm H) to 1. ft key. played: ate and time 14 o message is displayed for some system to 1, the syst
  • Page 82408:20:52 NMIHIS ][ ][ ] RN ][ CLEAR ][ ][ ] il screen of a system alarm history. oft key on the system configuration screen. PAGE eys PAGE , move the cursor to mber whose details are to be displayed. soft key. ected system alarm are displayed. alarm information stored. 1, this soft key is displayed.
  • Page 825mation items (6) to (9) by the page keys PAGE key returns the screen display to the state Y O1234 N12345 23:07 BDH1–01(1/4) TERRUPT ECX EDX 000003E0 00000040 EBP ESP 0000FFB4 0000FFDC GS TR LDTR 0 0338 0628 0028 ERRC ERROR–ADDRESS 0000 03E0:000009BC 08:20:52 N ][ CLEAR ][ ][ ] mple of information di
  • Page 8260000 0000 0000 0000 0000 0000 0000 0000 0000 0000 0000 0000 0000 0000 0000 0000 0000 0000 0000 0000 08:20:52 ][ CLEAR ][ ][ ] mple of information display screen of (8)) Y O1234 N12345 23:07 BDH1–01(4/4) TERRUPT 00000000 00000000 11111111 11111111 11111111 11111111 08:20:52 ][ CLEAR ][ ][ ] mple of i
  • Page 8273:07 BDH1–01(1/1) 00000 <1> 08:20:52 ][ CLEAR ][ ][ ] il display screen 6: display screen for system alarm ALM900) #4 #3 #2 #1 #0 NMH history screen is: . 14 #4 #3 #2 #1 #0 OPC story screen, the [CLEAR] soft key is: #4 #3 #2 #1 #0 history screen displays: first path. selected path. 794
  • Page 828H) to 1. key. key . key. or subsequent screen, press the PAGE or O1234 N12345 Date, time, PAGE : 1 → and page → Message No. 5 characters Display range 17:25:00 ][ ][ ] perator messages record erator message can be deleted by setting the ft key erases all the records of the external 6 (MS1 and MS0) s
  • Page 829rnal operator message, as well as the number own in the following table: r of characters Number of records each record 255 8 200 10 100 18 50 32 #4 #3 #2 #1 #0 OMH tor message history screen is: . 14 796
  • Page 830e) ation history H) to 1. key. key . The [OPEHIS] (OPERATION splayed. ey twice. The operation history screen is O1234 N12345 Page : 123 No. DATA No. DATA 11 F0000.7↑ 21 F0001.0↓ 12 F0000.5↑ 22 13 F0001.0↑ 23 14 F0000.5↓ 24 15 P/S0010 25 EDIT 16 01/06/03 26 O 17 09:27:49 27 1 18
  • Page 831s are displayed after a single space. square brackets ([]). UT, for example) are displayed in angle n is displayed in reverse video. perations of path 2 are displayed in the same , , etc. A to Z, 0 to 9, ; (EOB), +, –, (, etc. E↑>, , etc. CAN>, etc. on: ayed in the
  • Page 832n reverse video. s, and external alarms are displayed together only the alarm type is displayed. (No details perations of path 2 are displayed in the same _ALM, S_APC_ALM e) ate and time) is recorded: –on –off NC alarm occurs ed at predetermined intervals, together with displayed as shown below: Mon
  • Page 833u key . The [OPEHIS] (operation history) ey, then press the [SG–SEL] soft key. The lection screen is displayed. O1000 N02000 NAL NO. ADDRES SIGNAL 01000 11 G0000 00000001 00000 12 G0004 00000011 01100 13 G0008 00000111 11000 14 G0003 00001111 01111 15 G0043 01100000 00000 16 ******** 10000 17 ******
  • Page 834ded. ecified signal address, press the [ON:1] soft ositioned to 00000000 . position the cursor to that bit by pressing the , then press the [ON:1] soft key. To cancel sing the [ON:1] soft key or to cancel a al, press the [OFF:0] soft key. e specified by means of this signal selection. ot always be s
  • Page 835select the operation history display screen. )], , [PUNCH], and [EXEC] in this order. Floppy Cassette or FANUC FA Card is stored HISTORY. select the operation history display screen. T)], , [READ], and [EXEC] in this order. operation history y screen is displayed, no information can be on/off width
  • Page 836on screen interact with PRM12801–12890. bol table for selecting an operation history signal(1) : bol table for selecting an operation history signal(20) mbol table including a signal address of which e recorded for operation history channel (01) 5 5 5 5 d when PRM3206#4 is set to 1. selected as an o
  • Page 837following data can be sampled: mount, torque, speed, current, and thermal ervo motor of each axis e first, second, and third axes nd load meter value ne signal specified with a signal address m diagnosis function enables the storing of ms listed below and, if a servo alarm occurs, a waveform) of the
  • Page 838Data items for which ***** is displayed cannot g, the frame on the right side of the screen at data to which the cursor is positioned. Help to a single frame is split into several pages, PAGE gh using the page keys PAGE and . METER) O1234 N12345 GRP CONDITION (ONE–S TYPE) 0:START 1:START&TRG ↑ 2:STA
  • Page 839s) for the n–th axis Pulses tion) (detection units) the n–th axis min–1 nt for the n–th axis % (relative to maximum current) on data for the % (OVC alarm ratio) d for the first, se- Pulses xes (input increments) machine signal None signal address eed for the n–th % (relative to maximum rotation spee
  • Page 840ription Units a waveform. – s) for the n–th axis Pulses tion) (detection units) for the n–th axis Pulses ) (input increments) th axis (actual cur- % (relative to maximum current) the n–th axis min–1 nt for the n–th axis % (relative to maximum current) on data for the % (OVC alarm ratio) 121 is set t
  • Page 841CH2 1.0 0.5 0 –0.5 –1.0 ²TIME ] [ H–DOBL ] [ H–HALF ] en the following soft keys are displayed. The keys are displayed by the key. ] [²TIME] [H–DOBL] [H–DOBL] °] [CH–1±] [V–DOBL] [V–HALF] °] [CH–2±] [V–DOBL] [V–HALF] raphic data waveform of channel 1 and 2 rightward waveform of channel 1 and 2 leftw
  • Page 842[ ²TIME ] [ H–DOBL ] [ H–HALF ] m for storage type waveform diagnosis m diagnosis, set 100 for the display start width for storage type waveform diagnosis is pled before starting drawing. The next page loads stored data. While the data is being e top of the screen. Once the data has been d. The date
  • Page 843S] soft key. Press this soft key to display the METER) screen. ey to display the WAVE DIAGNOS. operation selection soft keys appear. The tion selection soft keys is as follows: RY) O1234 N12345 TRIGGER: G0123.4 SAMPLING AXIS XYZABCUV XYZABCUV XYZABCUV NONE NONE XYZABCUV SMPL TIME : 2. 0SEC DATE : ME
  • Page 844pe sampling data is spindle load meter data et the axis name S. upon the issue of a servo alarm. pon the issue of a servo alarm or the detection he trigger signal. upon the issue of a servo alarm or the g edge of the trigger signal. width is 32760 ms. If the storage stop condition ms, data is overwr
  • Page 84515 812
  • Page 846edure below. n key, then select the waveform diagnosis . .MEM], , [PUNCH] and [EXEC], in this utput to and from the FANUC Floppy Cassette EMORY) O1234 N12345 TRIGGER: G0123.4 SAMPLING AXIS XYZABCUV XYZABCUV XYZABCUV NONE NONE XYZABCUV SMPL TIME : 2.0SEC DATE : 02/01/13 12:15:00 12:15:52 ][ ][ ] [ ST
  • Page 847ed as the output destination already contains me as that specified, ALM086 is issued. To a e file of waveform diagnosis data of storage n output to a Cassette or Card containing waveform diagnosis data is needed, delete ame from the Cassette or Card beforehand. later. ry of a Cassette or Card e or C
  • Page 848tuning screen is not displayed. tuning screen is displayed. en turn it on again. ter setting screen by the following operation: A]. menu key) several times until the [SV.PARA] w) required for initial setting using the cursor al set bit parameter is 0, and turn off the power Corresponding parameter N
  • Page 849s for αi series servo motor, The motor type d in parentheses are for servo HRV1, and the enclosed in parentheses are for servo HRV2 /5000i α4/4000i α8/3000i α12/3000i 0205 0223 0227 0243 5(255) 173(273) 177(277) 193(293) α30/3000i α40/3000i α40/3000i FAN 0253 0257 0258 203(303) 207(307) 208(308) or
  • Page 8504000HVi 4000HVi 3000HVi FAN 0269 0273 0276 219(319) 223(323) 226(326) s. may not be supported depending on the used. motor type Nos. together with the applicable and editions (A or later). are series 9096 90B0 2(252) A H 5(255) A H 3(273) A H 7(277) A H 3(293) A H 7(297) A H 3(303) A H 7(307) A H 8(
  • Page 8515(285) A H 8(288) A H 5(315) A H 8(318) A H 2(322) A H 5(325) D N 5(335) D N motor are series 9096 90B0 3(263) D N 6(266) D N 6(286) D N 9(289) D N 6(316) D N 9(319) D N 3(323) D N 6(326) D N or α2/2000 α2/3000 α2.5/3000 α3/3000 16 0372 0373 0374 0123 46 62 84 15 α6/3000 α12/2000 α12/3000 α22/1500 0
  • Page 8520137 0136 0138 115 114 116 r L6/3000 αL9/3000 αL25/ αL50/ 3000 3000 0562 0564 0571 0572 69 70 50 60 r αC6/2000 αC12/2000 αC22/1500 0126 0141 0145 8 9 10 otor HV α12HV α22HV α30HV α40HV 72 0176 0177 0178 0179 2 3 102 103 118 α22HV α30HV 0177 0178 4 5 40–A driving 40–A driving or αM2.5/ αM3/ αM6/ αM9/
  • Page 853d in parentheses are for servo HRV1, and the enclosed in parentheses are for servo HRV2 β1/3000 β2/3000 β3/3000 β6/2000 0101 0102 0105 0106 35 36 33 34 β1/3000 β2/3000 0101 0102 11 12 g 20–A driving 20–A driving r βM0.3/ βM0.4/ βM0.5/ βM1/4000 4000 4000 4000 0211 0114 0115 0116 *(261) *(280) 181(281
  • Page 854280) – N 1(281) D N 2(282) D N So, the 9096 series cannot be used. 3000B/2 6000B/2 9000B/2 15000C/2 0411 0412 0413 0414 91 92 93 94 6000B/4 9000B/4 15000C/3 0412–B811 0413–B811 0414–B811 121 122 123 600D/4 900D/4 0422 0423 125 126 9000B/2 9000B/4 15000C/2 0413 0413–B811 0414 128 129 130 160–A drivin
  • Page 85590 A A 91 A A 92 A A 93 A A 94 – A 120 A A 121 A A 122 A A 123 A A 124 A A 125 A A 126 A A 00C/2 cannot be used. g the β series servo motors and linear motors vo amplifier linear motors indicated in the table below, the urrent varies, depending on whether the αi r or the αi series servo amplifier is
  • Page 856AMR5 AMR4 AMR4 AMR3 AMR2 AMR1 Command multiply ratio 1 1/27 Set value= CMR +100 48 Set value=2×CMR n for flexible feed gear m for flexible feed gear he semi–closed mode ecessary position feedback pulses per motor revolution (as irreducible fraction) 1,000,000 (Note 2) r and denominator, the maximum
  • Page 857er of position pulses corresponding redetermined amount of travel from a separate detector sing a 0.5–µm scale, set the following: L/1 1 = L/0.5 2 1/1000 mm 1/10000 mm n=1/m=125 n=2/m=25 n=1/m=100 n=1/m=10 n=3/m=250 n=3/m=25 Rotational direction of motor –111 : Reverse (counterclockwise) and positio
  • Page 858mber of position pulses (PRM2024) by a factor of etting the initialization bit (PRM2000#0) to 1. sition pulses by using the position feedback nt eedback pulses = A × B, select B so that A is edback pulses (= PRM2024) er than 32767. lse conversion coefficient (= PRM2185) as possible not exceeding abo
  • Page 859(1µ m) 300mm ⇒ reference counter 30000 20000 15000 10000 etc 16 826
  • Page 860fier connected to another path is controlled omatic setting is unusable. For such a nance manual (B–63525EN). isplays FSSB–based amplifier and axis an also be specified by the operator. . continuous menu key several times. B] causes the AMP SET screen (or the setting screen) to appear, with the foll
  • Page 861t indicates the placing of the amplifier, as to the CNC, and a letter such as L (first axis) ing the placing of the axis in the amplifier. number) ontrolled axis specified in PRM1920 – 1929 pecified in these parameters falls outside the e maximum number of controlled axes, 0 is me) o a PRM1020 corre
  • Page 8620 0 0 1 0 0 0 0 0 2 0 0 0 0 0 0 0 0 0 0 13:11:56 ][ MAINTE ][ ][(OPRT)] ys the following items: ber) the NC controlled axis. me) connected to each axis) separate detector interface unit 1) the connector for separate detector interface 31. separate detector interface unit 2) the connector for separat
  • Page 86313:11:56 ][ MAINTE ][ ][ ] NCE O1000 N00001 TION TEST MAINTE–NO. 1A 020123 01 1A 020123 01 1A 020123 01 2B 020123 01 2B 020123 01 2B 020123 01 13:11:56 ][ MAINTE ][ ][ ] een displays the following items: ber) me) 16 nnected to each axis) eries of an amplifier connected to each axis) amplifier connec
  • Page 864READ INPUT ne in MDI mode or the emergency stop state, where a desired item is to be input, then enter ft key [INPUT] (or the INPUT key on the MDI ed after data has been entered, a warning tered data contains an error. When the data ing parameter is set up. a parameter if, for example, an entered va
  • Page 865O1000 N00001 M1 M2 1–DSF Cs TNDM 0 0 0 0 1 1 0 1 0 0 0 0 0 1 0 0 0 0 0 2 0 0 0 0 0 0 0 0 0 0 13:11:56 [ READ ][ ][ INPUT ] following items can be specified: pulse module 1) e module 1, enter a connector number using etween 1 and the maximum number of axes pulse module 1 need not be used, enter 0. id
  • Page 866cified for TANDEM. axis pair is specified for TANDEM.
  • Page 867menu key) several times until the [SV.PARA] o select the servo tuning screen. 01234 N12345 (MONITOR) 00 ALARM 1 00000000 (9) 00 ALARM 2 00000000 (10) 0 ALARM 3 10000000 (11) 0 ALARM 4 00000000 (12) 13 ALARM 5 00000000 (13) 15 LOOP GAIN 2999 (14) 0 POS ERROR 556 (15) 25 CURRENT% 10 (16) CURRENT A (17
  • Page 868used by the αi servo system, ID information nnot be obtained. read from each of the connected units during hen recorded. During the second or later orded during first startup can be compared is time on the screen to check whether the d units is changed. (If there is a difference (*) appears.) n be e
  • Page 869performed reasonably such as for repairing, ly indicates the * mark when it detects the re- llow the steps below to update the registered the editing section later. red data editable. (PRM13112#0(IDW) = 1) en, place the cursor on the item from which te the * mark. keys [CHANGE], [INPUT], and [SAVE]
  • Page 870cursor position with the character string in key–in buffer. Deletes the character string in key–in buffer. Transfers the selected ID information at the cursor position that was sent by the servo, to key–in buffer. Only the items preceded by * (*3) are valid. Saves the ID information that has been ch
  • Page 871ls SVWRN1 to 4 signal the warning signal corresponding to the state ervo amplifier. lowing table shows the warning statuses of vo amplifier and their corresponding warning . warning detail Time from when a ignals (F93) signal is issued to until an alarm oc- VW SVW SVW curs RN3 RN2 RN1
  • Page 872Manual Reference Position Return MD1, MD2, MD4 turn ZRN, MREF +J1, –J1, +J2, –J2, +J3, –J3, ... d ROV1, ROV2 posi- *DEC1, *DEC2, *DEC3, ... ( when PRM3006#0(GDC) = 1) ZP1, ZP2, ZP3, ... ZRF1, ZRF2, ZRF3, ... for manu
  • Page 873........ . . . . . id traverse rate FL rate n return location adjustment shifted by the distance set in PRM1850, thus tion. The grid shift to be set in the parameter erence counter capacity (PRM1821) (grid Rapid traverse (PRM1420α) FL rate (PRM1425 α ) Time e constant (PRM1620 α ) Reference counter
  • Page 874n shift rn is performed using the grid method, the ifted by a parameter–set distance without n dog. ce position ) to 1, and set the PRM1850 for reference Then, perform reference position return. is turned off, the tool stops when the first grid e LDEC is indicated on the DGN302. Direction of referen
  • Page 875Reference position return FL rate (PRM1425) Time ........................... erence position using a manual operation. ear the reference position on the axis, move rence position once, then move back the tool tion. Otherwise, ALM90 occurs in (3) below. ion return mode or switch. –and–direction–selec
  • Page 876elected axis is reduced to make the butting tool is butted against the mechanical stopper. awn a parameter–set distance from the f the selected axis is reduced, and the tool is nical stopper. Then, the tool is withdrawn a om the mechanical stopper. he axis is set as the reference position. ype refer
  • Page 877ite to the butting direction, along the axis for ance. the direction opposite to that specified with at the feedrate specified with PRM7185, for with PRM7181. M7181 The direction, feedrate, distance, and torque are all specified with pa- rameters. E) are performed from the withdrawal point, butted a
  • Page 878ce position return operation. Turn the power re continuing operation. n is set sition has already been set, performing on setting causes the tool to be positioned to the rapid traverse rate without the cycle pletion of positioning, the reference position 1. peration is shown below. N% 100% Butting d
  • Page 879e reference position has not been e power has been turned on rated (ALM224). enerated. the reference position without dogs s used to make settings for each axis. DLZ) is 0, DLZx is enabled. When 1, DLZx is disabled, and the function for set- sition without dogs is enabled for all axes. #4 #3 #2 #1 #
  • Page 880alue of the reference position used when coordinate system setting is performed reference position on each axis used for setting automatically when input is performed in inches id when PRM1201#1(ZPI) is set to 1. #4 #3 #2 #1 #0 ring the time from power–on to the manual rn performed. not performed. 5
  • Page 881tablishment) e the value of the APZ bit from 0 to 1 g to the reference position when using , follow this procedure: Back up the data give the motor one or more turns. Turn on again, then change the APZ bit setting other than absolute pulse coder. absolute pulse coder. nce counter size for each axis
  • Page 882ference position setting function is used, distance on an axis, along which ed after the mechanical stopper is hit chanical stopper to the withdrawal point). as the direction set for PRM1006#5(ZMIx). n is set, the cycle operation will not start. istance in butt–type reference position setting ferenc
  • Page 883SOVx(Spindle override) SF , GR1O,GR2O,GR3O (M series) GR1,GR2 SOR(Orientation) R01O to R12O R01I to R12I 0 1 SIND SGN(0=+,1=–) 1 SSIN *ESP,MRDY, SFR,SRV,ORCM etc. :First serial spin
  • Page 884mation about the desired gear to the CNC via GR2 and GR1 (for the first or T type can be selected. T) (0: M type/1: T type) for selection. the constant surface speed control or ption is used. ype can be used. for machining center (PRM3705#2=0) PRM3736 Gear 2 Gear 3 PRM3735 S code M3741
  • Page 885S code 41 PRM3742 PRM3743 PRM3744 17 852
  • Page 886mergency stop state. #4 #3 #2 #1 #0 meters for the serial interface spindle are: tomatically. atically. o the PRM4133. Motor model code ack on. Then, the parameters are read. motor model code) otor model Amplifier a1/10000i SPM–2.2i 1.5/10000i SPM–5.5i a2/10000i SPM–5.5i a2/15000i SPM–22i a3/10000i
  • Page 887500/8000min–1) SPM–5.5 500/8000min–1) SPM–11 500/6000min–1) SPM–11 500/6000min–1) SPM–15 500/6000min–1) SPM–22 500/6000min–1) SPM–22 500/6000min–1) SPM–26 750/6000min–1) SPM–11 (750/6000min–1) SPM–11 (750/6000min–1) SPM–15 (750/6000min–1) SPM–15 (750/6000min–1) SPM–22 (575/4500min–1) SPM–22 17 854
  • Page 888ndle tuning screen is not displayed. ndle tuning screen is displayed. he SYSTEM key to select the screen for setting ters and other data. he continuous menu key . e soft key [SP.PRM]. Then, the spindle setting ng screen appears. wing screens are provided. These screens can ted using soft keys. ET] :
  • Page 8899 4059 3741 3741 3742 3742 3743 3743 3744 3744 0 4196 4020 4196 1 None 4021 None EED CONTROL 1 (MONITOR) MOTOR SPEED 100 SPINDLE SPEED 150 POS ERR S1 100 POS ERR S2 103 SYN.ERR 3 17 856
  • Page 890ORAR gain (%) Shift spindle stop position Shift reference position igid tapping Cs contour control rtional gain Proportional gain al gain Integral gain gain Loop gain voltage Motor voltage gain ZRN gain (%) reference position Shift reference position numbers corresponding to the displayed ee Subsec.
  • Page 891JJJJJ ORCM MRDY *ESP SST SDT ORAR e y error ch alarm cessive cessive etting error bnormal top ignal failure onnection onnection nt ormal nt ng setting 17 normal e revolution signal for Cs axis control tion signal for Cs axis control e position coder one revolution signal n coder one revolution signa
  • Page 892tion on signal detection error on signal undetected r mmunication error nder voltage nerative power g fan stopped m m m le: l le load in a unit of 10%. meter data Max. output value 32767 of load meter (*) *) PRM4127:Main high–speed winding PRM4274:Sub low–speed winding PRM4093:Main high–speed windin
  • Page 893ORCM NRRO : Short–cut of ORCM INTG : Speed integral control signal DEFM : Referential mode command t signal address for each spindle : dle : e : dle : are displayed from the following signals: TML5 : Torque limitation ORAR : Orientation end signal l CH
  • Page 89448 4048 4212 4212 49 4049 83 4236 4083 4236 80 4231 4080 4231 d winding that uses winding switching, tune related to motor voltage below on the en. d winding) = 4136, Sub (low–speed winding) rative power need not be tuned. S12: S21: S22: ain 1st Sub 2nd Main 2nd Sub 42 4208 4042 4208 43 4209 4043 42
  • Page 89565 4221 4065 4221 66 4066 67 4222 4067 4222 68 4068 85 4238 4085 4238 32 4032 34 4034 S12: S21: S22: ain 1st Sub 2nd Main 2nd Sub 44 4210 4044 4210 45 4211 4045 4211 52 4052 4214 4214 53 4053 65 4221 4065 4221 66 4066 67 4222 4067 4222 68 4068 85 4238 4085 4238 91 4239 4091 4239 17 73 4223 4073 4223
  • Page 89655 4055 69 4069 70 4070 71 4071 72 4072 86 4086 92 4092 35 4135 l mode S12: S21: S22: ain 1st Sub 2nd Main 2nd Sub 44 4210 4044 4210 45 4211 4045 4211 52 4052 4214 4214 53 4053 65 4065 4221 4221 66 4066 67 4067 4222 4222 68 4068 85 4238 4085 4238 91 4239 4091 4239 73 4223 4073 4223
  • Page 897read from each of the connected units during en recorded. During second or later startup, ring first startup can be compared with the ID e screen to check whether the configuration ged. (If there is a difference between them, n be edited. Therefore, the ID information of nformation can be displayed.
  • Page 898A06B–6110–H015 V0020031702 performed reasonably such as for repairing, ly indicates the * mark when it detects the re- llow the steps below to update the registered the editing section later. red data editable. (PRM13112#0(IDW) = 1) en, place the cursor on the item from which te the * mark. keys [CH
  • Page 899Replace the selected ID information at the cursor position with the character string in key–in buffer. Deletes the character string in key–in buffer. Transfers the selected ID information at the cursor position that was sent by the servo, to key–in buffer. Only the items preceded by * (*3) are valid
  • Page 900gnals #7, F265#0> s the warning number corresponding to the the αi spindle amplifier. the αi spindle is in the warning state, a g number consisting of SPWRN1 to SPWRN9 ut as nine–bit binary data. nings occurred on multiple αi spindle ers, the warning number of the αi spindle the smallest axis number
  • Page 901If the PSM radiator cooling fan stops, the ed warning signal is output. Since the spindle continues to operate at this time, use the PMC to perform processing as needed. If the PSM main circuit overheats, an alarm occurs. y diagnosis numbers 712 (first spindle, 713 indle), and 733 (fourth spindle).
  • Page 902stored on the FROM has a problem, n appears, and the start operation onitor screen, see the descriptions hapter 19.) art) GRAPHIC IS READY. starts, the CNC starts and checks the isplay n the slots are displayed. The LCD displays ware trouble or invalid leading of PCB has LAY Slot No. (2ndary) de, So
  • Page 9033x0E Series 21i/210i/210is main CPU board 1xC0 Sub CPU board 1x97 Loader control board 0x81 RISC board 1xE1 Serial communication board (RB/DNC2, RS232C I/F) 2xE1 Serial communication board (RB/DNC2, RS422 I/F) 3xE2 Serial communication board (DNC1) 0xE0 C language board xxAA HSSB interface board 0x1
  • Page 90470 : DeviceNet master function e 71 : DeviceNet slave function (1) e 79 : DeviceNet slave ) function (2) or setting module configuration – 01 FANUC LTD 1996–2001 SLOT 01 (3046) : END END : End SLOT 02 (0050) : Blank : Waiting Module ID code Slot No. ries and version – 01 FANUC LTD 1996–2001 ÅÅÅÅÅ ÅÅ
  • Page 905PART COUNT 11 CLE TIME 0H 0M23S S 0 T0000 12:15:24 LL ] [ HNDL ] [ (OPRT) ] played when system software is abel check error) n on the power to the CNC after replacing the hown below is displayed, and the system is system software is not compatible with the OH1–01 M LABEL CHECK ERROR: ALL SRAM MODULE
  • Page 906, selecting screens (2) to (4). Software series of module with CPU ÅÅÅÅÅ PAGE01 ÅÅÅÅÅ VERSION 0006 Software version of module 0001 with CPU ÅÅÅÅÅ Software ID (type) Module ID Slot No. (80X8F is 2nd side)
  • Page 907main CPU board 1xC0 Sub CPU board 1x97 Loader control board 0x81 RISC board 1xE1 Serial communication board (RB/DNC2, RS232C I/F) 2xE1 Serial communication board (RB/DNC2, RS422 I/F) 3xE2 Serial communication board (DNC1) 0xE0 C language board xxAA HSSB interface board 0x1F Symbol CAPi T board xxF9
  • Page 90870 : DeviceNet master function e 71 : DeviceNet slave function (1) e 79 : DeviceNet slave ) function (2) reen Kind of software Software series RE) 01234 N12345 PAGE:02 Software version N–A1 Software configuration Character written on PMC title screen Character written on macro compiler or on CAP. 12
  • Page 90917.940 63.233 0.000 PART COUNT 5 CYCLE TIME 0H 0M38S S 0 T0000 *** 09:06:35 ] [ HNDL ] [ OPRT ] t status of the CNC. d explanation ** 09:06:35 4) (7) (8) on (memory operation) /MDI operation n return ode = step feed (if no manual pulse generator d mode Teaching in jog feed mode) LE (Teaching in hand
  • Page 910tatus (The state in which the reset signal or the T) key remains active.) ion has been detected. ry (CNC back–up battery) voltage is low (the eplaced). ute:second status input. output. h is under way. as insertion or modification is under way. bled at data input (until valid information is read). rn
  • Page 911NO.jjjj#j BE CLEARED. OR KEY. A arameter settings. Two or more function names e SRAM area is added, the system software is currently installed in the system. In this n appears the first time the system is turned n, thus restoring the state existing before the R UFFICIENT. ESSARY. : ORE ANGED.
  • Page 912item names, remaining service time, wn status, and lets you specify item names. specify service life, remaining service time, and e (countdown method). : Displays the names of registered consumables used in the NC. creen: Enables registering the names of consumables used in the machine. steps below:
  • Page 913PULSECODER 5000H 10000H HT 720H * 19:27:05 [ MAINTE ][ MAINTE ][ (OPRT) ] [ CLEAR ][ +INPUT ][ INPUT ] [ MAINTE ][ CAN ][ EXEC ] o be subjected to periodic maintenance is me.” he menu screen, and the second, the MDI e menu screen on the target item name, and press soft key u screen appears. The menu
  • Page 914* 19:27:05 ][ MACHIN ][ NC ][ (OPRT) ] MACHIN ][ MACHIN ][ MACHIN ] MACHIN ][ CAN ][ EXEC ] screen, no item name can be registered, ut. ng istered on the status screen by first entering sing keys, then pressing soft key [INPUT] (or T] adds the item name to the list of previously ers*two–byte charact
  • Page 915” also cannot be used in item names. ata for an item, place the cursor on the target y [CLEAR], then [EXEC]. deleted, the related service life, remaining ype are also deleted. e of an item (the time allowed before the item d by count–down and displayed under e.” When the remaining service time perce
  • Page 916* 19:27:05 ][ MACHIN ][ NC ][ (OPRT) ] CLEAR ][ +INPUT ][ INPUT ] MACHIN ][ CAN ][ EXEC ] PUNCH ][ MACHIN ][ MACHIN ] MACHIN ][ CAN ][ EXEC ]
  • Page 917REMAIN COUNT TYPE 0H ALL TIME 5000H LIV TIME 10000H –––––––– 720H RUN TIME * 19:27:05 [ CLEAR ][ +INPUT ][ INPUT ] LIV ][ RUN ][ CUT ] PUNCH ][ ][ ] umable item is to be specified under “Service he service life of a target registration number, fe value. At this time, the same value is also vice time
  • Page 918unt. All times ile the power is supplied. Power–on time e operation is under way. Operating ile cutting is under way. Cutting ice life of each item displayed on the periodic [%] iodic maintenance screens, any remaining e value smaller than the specified percentage vice life is displayed in red for w
  • Page 919editing y. key several times. [M–INFO] soft key ey. The maintenance information screen ce screen shows the latest information. nput area of 40 characters by 11 lines. mpty character spaces, cursor line, column ttom of the screen. 40 characters NFORM es:2078 33:1 ER : Overwrite mode ; SERT : Insert m
  • Page 920Description Allows editing. T] Displays the beginning or the end. P] Scrolls the screen up or down. Scrolls the screen up or down in units of whole screens. Ends editing. Select whether to store the edited data. Clears all maintenance information. (This key is enabled when the PRM3118#3(MDC) is set
  • Page 921I/O ALLDEL Jump (4) (6) (5) NORE CANCEL (1) (2) UNCH CANCEL (6) (2) END CANCEL 1) (2) (1) (2) CANCEL (2) 18 888
  • Page 922file generated in the format shown above is d at the end of the existing maintenance ion is output in the format shown above.
  • Page 923nt program, custom macro program) d for data input/output ot be output in the alarm state. output are as follows : ndard setting for input/output devices made tings according to the unit you actually use. MDI mode or emergency stop status.) #4 #3 #2 #1 #0 ISO IA code O code (FANUC cassette) Selectio
  • Page 924M FILE Mate, FANUC FA Card Adaptor CASSETTE ADAPTOR, FANUC Handy File P-MODEL H sed control codes DC1 to DC4) der P-MODEL G, FANUC SYSTEM P-MODEL H Baud Rate 5: 200 9: 2400 6: 300 l10: 4800 7: 600 11: 9600 8: 1200 12: 19200 [BPS] ut is disabled in some cases. parameters mergency stop condition. key
  • Page 925soft key [WRITE]. file name. In this example input as follows: UT en PMC parameters are started to be output. have been output, set PARAMETER WRITE rm 100. rror compensation amount times, press soft key [PARAM], and TING screen for pitch error amount. nd . and [EXEC], then pitch error compensation t
  • Page 926of 8000s are edited. of 8000s can be protected. of 9000s are edited. of 9000s can be protected. #4 #3 #2 #1 #0 P9E P8E programs 80000000 to 89999999 is: d d when the program number O 8–digit option programs 90000000 to 99999999 are: d editing types become impossible. d when the program number O 8–di
  • Page 927ey [SETING] to select the SETTING screen. R WRITE=1. key [PMC]. ] and soft key [KEEPRL]. n the SB7) or K17 (on the SA1) and set bit 1 0 1 0 INPUT . key. et the parameters required for I/O. lays the next item after an item is set. 1 INPUT to select channel 1. DCAS] key to select the floppy cassette.
  • Page 928nd key . ogram number (0001 for example), soft key en custom macro variable values are started ber that is not used. n the machine operator’s panel and press cuted, macro variables are set. y and soft key [MACRO] to select the custom O SRH] to display variable number 500 and variables are set correc
  • Page 929are registered. ram is registered. are registered in part program storage area, 99 are: he end of program. as the end of program. #4 #3 #2 #1 #0 NE9 NE8 000s can be edited. 000s are protected. 000s can be edited. 000s are protected. #4 #3 #2 #1 #0 P9E P8E ams 80000000 to 89999999 is: d when the prog
  • Page 930FEED OUTPUT FEED EOB OUTPUT (ISO) CR BAUDRATE CLK. INNER RESET/ALARM ON SAT COMMAND HOST COM PROTCOL A COM CODE ASCII 12:34:56 SET] [ MACRO ] [ (OPRT) ] hen I/O channel 3 is used) ut–related parameters ers can be set on the ALL IO screen. less of the mode. key (continuous menu key) several display t
  • Page 931Input/output device ontrol codes DC1 through DC4 are used.) TE ADAPTOR 1 (FANUC CASSETTE B1/B2) TE ADAPTOR 3 (FANUC CASSETTE F1) M FILE MATE, FANUC FA Card Adaptor CASSETTE ADAPTOR, FANUC Handy File P–MODEL H ontrol codes DC1 through DC4 are not used.) der P–MODEL G, FANUC SYSTEM P–MODEL H ndicated
  • Page 93214:46:09 NCH ] [ DELETE] [ (OPRT) ] e to be found. found. ered from 1 to 9999, a specified file is found. after that used most recently is found. ied, the next file is found. Then, each time a ation is performed, N–9999 is automatically s that subsequent files can be sequentially by specifying N0, N
  • Page 933* 14:46:09 NCH ] [ DELETE] [ (OPRT) ] ber to be assigned to an input program, enter e desired program number. pecified, the program number in the file or on s is. en [EXEC]. h the program number specified in step 4 t key [CAN]. ompletion, press soft key [STOP]. CAN EXEC on the ALL IO screen. gram di
  • Page 934on the ALL IO screen. gram directory is displayed. The screen and soft keys change as shown s displayed only in EDIT mode. In all other reen is displayed. .) MEMORY (CHAR.) 3321 429 O0555 O0999 0969 O6666 O0040 * 14:46:09 NCH ] [ DELETE] [ (OPRT) ] 1 to 9999, to indicate the file to be deleted. 5, i
  • Page 935putting offset data utput using the ALL IO screen. on the ALL IO screen. Soft keys change as shown below. XEC]. e “INPUT” indicator blinks at the lower–right , the “INPUT” indicator is cleared from the [CAN]. [EXEC]. nd the “OUTPUT” indicator blinks at the een. Upon the completion of output, the fro
  • Page 936oppy screen is displayed. The screen and soft keys change as shown displayed only in EDIT mode. In all other reen is displayed. O1234 N12345 12:34:56 NCH ] [ DELETE] [ ] esired file, then press soft key [F SET]. CAN EXEC directory is displayed, with the specified file files in the directory can be d
  • Page 937ayed. O1234 N12345 12:34:56 NCH ] [ DELETE] [ ] or program to be input. Enter the number of the desired file, then press soft key [F SET]. mber: Enter the number of the desired program, then press soft key [O SET]. CAN EXEC am is read, and the “INPUT” indicator blinks f the screen. Upon the completi
  • Page 93812:34:56 NCH ] [ DELETE] [ ] The screen and soft keys change as shown ayed only in EDIT mode. In all other modes, ayed. rogram to be output, together with a desired Enter the number of the desired file, then press soft key [F SET]. mber: Enter the number of the desired program, then press soft key [
  • Page 939* 12:34:56 NCH ] [ DELETE] [ ] esired file, then press soft key [F SET]. CAN EXEC he specified file is deleted. After the file has uent files are shifted up. sing a memory card RM20) to 4, files on a memory card can be of data such as part programs, parameters, ard can be input and output in text fi
  • Page 940O0034 N00045 SIZE DATE 123456 01/07/10 118458 01/07/30 113250 01/07/30 173456 01/07/31 113444 01/07/31 118483 01/08/02 111406 01/08/05 112420 01/07/31 117460 01/07/31 ~ + (OPRT) h file can be displayed by pressing soft key O0034 N00045 COMMENT (COMMENT ) (SUB PROGRAM ) (12345678 ) ( ) ( ) (SKIP–K )
  • Page 941~ + (OPRT) UNCH DELETE red file number with soft key [F SRH]. Then, sing soft key [EXEC]. If found, the file is directory screen. O0034 N00045 COMMENT (MAIN PROGRAM) (SUBPROGRAM–1) (COMMENT ) (COMMENT ) ~ de for file number 19 the machine operator’s panel. ey (continuous menu key). hen, the screen s
  • Page 942PROGRAM No.=120 *** 15:40:21 OP CAN EXEC the MDI panel, then set the file number by Next, enter program number 120, then set essing soft key [O SET]. Then, press soft key istered as O0120 in the CNC. er to register a read file with a separate O number is set, the O number in the file name le name, p
  • Page 943~ + (OPRT) UNCH DELETE r from the MDI panel, then set the program ET]. pressed after the setting shown below has , the file is written under program number ~ = o.=1230 *** 15:40:21 OP CAN EXEC umber setting, enter a desired file name from e file name with soft key [F SET]. pressed after the setting
  • Page 944~ + (OPRT) UNCH DELETE ired file with soft key [DELETE], then press ile is deleted, and the directory screen is er 21 is deleted O0034 N00045 COMMENT (MAIN PROGRAM) (SUBPROGRAM–1) (COMMENT ) (COMMENT ) ~ 020 is deleted. O0034 N00045 COMMENT (MAIN PROGRAM) (SUBPROGRAM–1) (COMMENT ) (COMMENT ) ~ d to
  • Page 945O0001 N00001 SIZE DATE 332010 01–04–06 334450 01–05–04 653400 01–05–12 341205 01–05–13 O0005 O0100 O0020 O0200 O2200 O0441 ** 10:07:37 SET (OPRT) files on the memory card registered programs d , the user can choose between upper rt scrolling. (An asterisk (*) displayed at the t for which scrolling i
  • Page 946cified file number. under a specified file name. ecified file number. ers L: Selection of an input/output device terface is used for input/output.) #4 #3 #2 #1 #0 MDP a memory card, the series information is: o the output file name. output file name. ion function by a memory card is: PCMCIA card att
  • Page 947card does not have sufficient free space. card is mounted. ard is already mounted. d directory cannot be found. o many files under the root directory to allow a e added. d file cannot be found. d file is protected. not yet been opened. ready open. cked. s detected. d file name is invalid. n of the s
  • Page 948Provided (This slot, however, cannot be used.) Provided Provided iven below.) ware configuration. See Subsec. 19.2.2. nd control unit have a memory card slot, only he LCD unit can be used. onfiguration is type 4 or type 5, software write operations are implemented by open CNC ction 19.5.) ions) y ca
  • Page 949CRT/MDI unit it (The CRT/MDI unit for the Power Mate i series is usable.) isplay unit with PC functions or an PANEL i PC Optical FA keyboard cable CNC display unit with PC functions, PANEL i, or personal computer isplay unit with PC functions or an PANEL i Electric wire Standard MDI Optical cable B
  • Page 950LCD unit for stand–alone type Optical cable PC FA keyboard CNC display unit with PC functions, PANEL i, or personal computer
  • Page 951and contents (series/edition, etc.) of files in FROM red in the FROM, to a memory card ata to and from the SRAM as a batch n a memory card card T system monitor ONITOR MAIN MENU screen ile holding down both the rightmost soft key ey) and the soft key to its left. [ ] [ ] [ ] Turn on the power while
  • Page 952stored in the FROM. Writes user files, such as ladder programs, stored in the FROM to a memory card. Writes parameters, machining programs, and macro variables to a memory card. Deletes files stored on a memory card. Formats a memory card. Terminates the system monitor. soft key. uted. tware (NC BAS
  • Page 953soft key. (When more than one board is the BOOT SLOT CONFIGURATION screen splayed. G 1/1 SELECT KEY. [ NO ] [ UP ] [ DOWN ] elect the file to be read by following the WN] soft key, position the cursor to the file to G 1/1 SELECT KEY. [ NO ] [ UP ] [ DOWN ] 19 To display the next screen y is too larg
  • Page 954the following message is displayed on the FROM MEMORY CARD” ± SING” ± Displayed GRAM” messages ± are changed OMPLETE” as shown on the left. terminated, the message, “HIT SELECT the bottom of the screen. ey to return to the SYSTEM DATA LOADING ist (SYSTEM DATA CHECK screen) on the FROM is displayed.
  • Page 955ions. D The file can be de- leted or output. l function Caution on overwriting: ware A file with file name software information that is corresponding to embedded in the file axis control card is and has the same leading four charac- ters is overwritten as ware for Dual Check a file of the same type.
  • Page 956plication Attribute are (for PMC–SB7 or User file (File that is created or may be modified by the are (for loader control) user) uage application D The file can be typed over. information data D The file can be de- leted or output. tor made macro) Caution on overwriting: A file with file name file n
  • Page 957ROM number Series Y. O ] [ UP ] [ DOWN ] system file (NC BASIC, etc) are display : code, or the symbol @, appearing in the me indicates that the contents of FROM or the le has been destroyed. Perform “1. SYSTEM ” again. soft key to return to the SYSTEM DATA ONITOR MAIN MENU screen. END. soft key. ST
  • Page 958he [YES] soft key. To abandon the deletion, ey. ES] soft key, the specified file is deleted. been deleted, “HIT SELECT KEY” appears he screen. key to return to the SYSTEM DATA CHECK emory card reen) as the ladder and macro P-code programs, mory card. System files, such as NC BASIC, SAVE screen. DOWN
  • Page 959ETE. HIT SELECT KEY. Name assigned to PDIM05. 000 the saved file ] [ NO ] [ UP ] [ DOWN ] follows: M file name Memory card file name SB PMC-SB. xxx @SA PMC@SA. xxx USR1. xxx O MINFO.xxx 0.5 PD1M_05.xxx 1.0 P12T_10.xxx 1.0M CEX_10M.xxx 2.0M CEX_20M.xxx INMC.xxx . ates examples of some files. names in
  • Page 960BACKUP screen is displayed. MEMORY CARD) RY CARD ³ CNC) The size of the SRAM allocated to the NC is displayed here. The amount of free memory space de- B creases after formatting, because part of the memory is taken up by directo- ries and other data. Therefore, the use of a large–capacity memory ca
  • Page 961installed of files 256KB 256 A 1 0.5MB 0_5 A 1 1.0MB 1_0 A,B 2 2.0MB 2_0 A to D 4 3.0MB 3_0 A to F 6 P II or LCB) other than the main board is the following extensions will be assigned to PMC–RE CAP II LCB PMC CAP LCB me name on the memory card, an indication o check if the file may be overwritten.
  • Page 962SELECT KEY. [ NO ] [ UP ] [ DOWN ] Next screen o large to be displayed on one screen, the uent pages can be viewed by using the EM MONITOR MAIN MENU screen, position en press the [SELECT] soft key. key. ppears at the bottom of the screen. To delete oft key. To abandon the deletion, press the n delet
  • Page 963DING CK ETE P E DELETE RMAT T SELECT KEY. [ NO ] [ UP ] [ DOWN ] , press the [YES] soft key. oring, press the [NO] soft key. rts in the same way as when the power e following messages are displayed on the C BASIC SYSTEM” Displayed messages ± are changed ASIC CNC TO DRAM” as shown on the left. softwa
  • Page 964The memory card becomes full in the middle of SRAM backup operation. Replace the card with a memory card containing enough free space. An attempt to delete a file from FROM was unsuccessful. Retry the deletion. If the se- cond attempt also fails, the FROM may have been damaged or destroyed. Replace
  • Page 965tively, replace the memory card with another card having sufficient free space. The use of this memory card is not sup- ported. Use only FANUC–recommended memory cards, as described in the order list. The memory card could not be accessed. Check that the memory card is normal. The memory card is not
  • Page 966operation of SRAM (Note). en an SRAM parity error is detected during he boot system ch CNC shipped from the factory is cleared ors. However, shock applied to the CNC dur- y cause a parity error in the SRAM area. If the CNC is dead, a parity error can occur in the error occurs in the SRAM area, the d
  • Page 967e these switches for maintenance by system LED and switches witch, and push switch are located as shown 7–segment LED (STATUS) Rotary switch (MTSW) Push switch (PSW) 19 934
  • Page 968signal When STL = 1 Blink System alarm status Not blink Status change at power–on g automatic operation Description Automatic operation start signal When STL = 1 n the push switch is pressed Blink/not blink Description Not blink The push switch has been pressed normally.
  • Page 969the 910’s SRAM PARITY, DRAM PARITY the 920’s SERVO ALARM the 930’s CPU INTERRUPT, SRAM ECC ERROR the 950’s PMC SYSTEM ALARM the 970’s NON MASK INTERRUPT, BUS ERROR Others Other system alarms 19 936
  • Page 970JJJ NC system loading is started by the boot system. JJJ The NC system has started, and RAM initialization has ter- minated. jJJ Wait for ID setting for each board jJJ ID setting for each board has terminated, and CRT initializa- tion has terminated. JjJ FANUC bus initialization has terminated. JjJ
  • Page 971anual. The function numbers that can be are listed below. Do not set the reserved erved function number is set, the system 0 were selected. However, a function may be Explanation After terminating maintenance operation, al- umber. number for the display link function. vice number for the display lin
  • Page 972er blinks on the LED. Press the push switch. d for the display link function is set and tion number 4 (checking a device the display link function) number used for the display link function. ks on the LED. Press the push switch. the LED. Press the push switch. the LED. Press the push switch. layed a
  • Page 973ks on the LED, and press the push switch. in the memory card, the LED indication turns memory card, number 3 blinks. Replace the r one, and press the push switch. memory card is not released or if the battery rd is insufficient, number 2 blinks on the LED. with another one, and press the push switch
  • Page 974stem data maintenance, SRAM backup, and RAM, and so forth) –on screen een the occurrence of a communication error ation program System folder of Windows (System32 folder ation. At the start of Windows, Ncboot32.exe es in the system tray. at the center) ection multi–connection. The CNCs connected by
  • Page 975with the CNC is established. n screen. the data window library. ion program. mmunication errors and CNC system alarms. with the CNC is established. the data window library. ion program. mmunication errors and CNC system alarms. t) aiting for communication to be established. established, the PC perfo
  • Page 976otary switch 80is/210is Rear of unit Rotary switch
  • Page 977ed, select a board in the [Board] list. be placed can be changed by using the e CNC or a PC folder. The file location may 19 944
  • Page 978n screen. Specify a file to be loaded. system data in a file. C system data. C system data. (SRAM tab) d restore NC SRAM data. and [Restore] restores SRAM data. In the ess status is displayed. As with the NC, the ed automatically from the SRAM size, and
  • Page 979. card. This button is valid when the memory to the latest state. After changing memory button. 19 L screen vary depending on the CNC model. s displayed in the menu. e performed according to the key status set this operation. On the IPL screen, however, ecuted. IPL screen and supported functions, se
  • Page 9800. CANCEL 1. ALL + 2. SUB + <2> 3. LOADER + <5> D 0. CANCEL 1. MAIN 2. SUB + <2> 3. LOADER + <5> 0. CANCEL 1. ALL 2. MAIN + <1> 3. SUB + <2> 4. LOADER + <5> AM 0. CANCEL 1. ALL + 2. MAIN + <1> 3
  • Page 9811. CNC +

    2. LOADER + T LAD- 0. CANCEL 1. CNC SIDE + 2. LOADER SIDE < . > + <5> ECU- 0. CANCEL 1. MAKE VOID + <0> C–EXEC 2. BOOTS UP + <3> C–EXEC APL R + n stem alarm is issued in the CNC. (The above 19 played information varies depending on the C.)

  • Page 982fine the node name in advance by using the in Windows 95/98 or the HSSB applet on the Windows NT.) unication status (0: Communication error, on established) ecimal) itch position 1 ot processing L processing itch position 2 em alarm communication error: By checking this item, screen) is opened autom
  • Page 983[Close] button. s pressed, the version information screen st is used to select the type of the CNC. the type of registered data to display or edit. s to be saved during power–down. [Load] is estored during power–up. [Start] is used to ring power–up. newly register data. delete the registered data fr
  • Page 984r the data window library. tered for each node. e list box in the center of the screen, the lected node are displayed. m. When a blank character is included in the quotation marks. ne. d line. This button is used to edit arguments. command line is replaced by a node number. %%. ation package 1 after
  • Page 985u key several times. The [COLOR] soft ey. The color setting screen appears. O0000N00000 8 J ⋅ SELECT WINDOW BAR Y 1 9 J ⋅ NONE 10 J ⋅ TITLE BAR ⋅ INPUT BAR 11 J ⋅ WINDOW BACKGROUND 12 J ⋅ LIGHT 13 J ⋅ ALTER POSSIBLE DATA Y 2 14 J ⋅ SHADOW 15 V ⋅ BACKGROUND J RED 15 J GREEN 15 J BLUE 15 COLOR SELECT
  • Page 986R2], and [COLOR3] operation soft keys are ghtmost soft key.) color data parameters (6561 to 6595) AM ation soft key. The following operation soft CAN EXEC + palette values in the selected area, press the y. To cancel the storage, press the [CAN] eftmost key. e values) COLOR1 COLOR2 COLOR3 + torage a
  • Page 987:DISABLE 1: ENABLE) :OFF 1:ON) :EIA 1:ISO) :MM 1:INCH) –3:CHANNEL NO.) :OFF 1:ON) 0:NO CNV 1:F15) ROGRAM NO.) EQUENCE NO.) N:1 ] – = [ OFF:0 ]) 0:00 F:0] [+INPUT] [INPUT] TRAST”. sing the operation soft key [ON:1] or [OFF:0]. me LCD (CRT link) adjustment D (connecting using CRT Link) is provided ote
  • Page 988, observe HS and CLK on an oscilloscope. e of potentiometer VR1, the positive–going ost in phase with the positive–going edge of e potentiometer a little does not change the et the potentiometer to the midpoint of this djustment, confirm that the display does not ment (Switch SW1) and normally need
  • Page 989FANUC Series 16i/18i/21i/160i/180i/210i/160is/180is/210is - MODEL B OPERATION AND MAINTENANCE HANDBOOK About the operations of memory clearing 1.Type of applied technical documents FANUC Series 16i/18i/21i/160i/180i/210i/160is/180is/210is - MODEL B Name OPERATION AND MAINTENANCE HANDBOOK Spec.No./Ed
  • Page 990The table "Clear"(pp.56-57) in "2 OPERATION LIST " is replaced with the following table. KEY PWE Function Function Mode Operation SW =1 key Memory all clear At - Single-path system (Clear all data on SRAM) power <RESET>AND<DELETE> ON Multi-path system All path : <RESET>AND<DELETE> Path2 only : <CAN>
  • Page 991The tables (pp.947-948) in "19.5.3.1 Functions on the IPL screen " are replaced with the following tables. Corresponding MDI key operation at power-on Title on IPL screen (operation with a standard CNC) 0.EXIT 1.MEMORY 0.CANCEL CLEAR 1.ALL MEMORY 0.CANCEL 1.ALL + 2.SUB +<2> 3.LOA
  • Page 992Corresponding MDI key operation at power-on Title on IPL screen (operation with a standard CNC) 2.SETTING 0.CANCEL 1.IGNORE OVER 0.CANCEL TRAVEL ALARM 1.CNC +

    2.LOADER + 2.START WITHOUT 0.CANCEL LADDER 1.CNC SIDE + 2.LOADER SIDE <.>+<5> 3.C LANGUAGE 0.CANCEL EXECUTOR 1.MAKE V